Hartley-Schaltung
Eine elektrische Dreipunkt-Oszillatorschaltung, bei der zwei Induktivitäten und ein Kondensator einen Parallelschwingkreis bilden, wird als Hartley-Schaltung oder Hartley-Oszillator bezeichnet. Sie ist nach Ralph Hartley benannt, der 1920 ein Patent dafür erhalten hat.[1]

Funktionsweise

In der Hartley-Schaltung sind zwei Induktivitäten in Serie verbunden und parallel zu einem Kondensator geschaltet. Damit wird ein Parallelschwingkreis gebildet, der die Schwingfrequenz bestimmt. Da drei Anschlusspunkte vorhanden sind, gehört die Hartley-Schaltung zu den Dreipunkt-Schaltungen.
In dem ersten Prinzipschaltbild wird ein Sperrschicht-Feldeffekttransistor (JFET) in Drainschaltung verwendet, bei dem das Gate der (hochohmige) Eingang ist, der mit einem Ende des Parallelschwingkreises verbunden ist. Das Ausgangssignal an der Source ist an die Verbindung zwischen den beiden Spulen gelegt. Der Verstärker wirkt als Spannungs-Strom-Verstärker; eine Erhöhung der Eingangsspannung führt zu einem phasengleichen Stromanstieg in der unteren Spule, so dass dem Schwingkreis Energie zugeführt wird. Eine weitere Schaltungsmöglichkeit des Hartley-Oszillator benutzt als aktives Bauelement einen Operationsverstärker (OPV) mit sonst identen Funktionsprinzip.
Wird anstelle von zwei nicht gekoppelten Spulen eine Spule mit Anzapfung verwendet, dann ist die angezapfte Spule ein Transformator, so dass das Produkt aus Spannungsverstärkung des Verstärkers und Aufwärts-Transformationsfaktor größer eins sein muss, um die Schwingungsbedingung zu erfüllen.
Eine detaillierte Analyse für den Schaltungsaufbau mit Elektronenröhren wurde 1943 von F. A. Record und J. L. Stiles[2] veröffentlicht, in der die Ströme in den Spulen anstelle von Spannungen betrachtet werden.
Frequenz der erzeugten Schwingung
Die erzeugte Frequenz fres wird nach der Thomsonschen Resonanzformel durch die resultierende Induktivität L0 der in Reihe geschalteten Spulen L1 und L2 sowie der Kapazität des Kondensators C bestimmt:
Die parasitären Kapazitäten der restlichen Bauelemente, der Serienwiderstand der Induktivitäten und die parasitären Induktivitäten der Verbindungen verringern diese berechnete Frequenz.
Die Gesamtinduktivität von zwei mit dem Faktor gekoppelten Einzelinduktivitäten und ist:
Geschichte

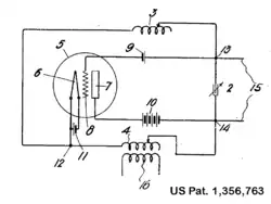
Die Hartley-Schaltung wurde von Ralph Hartley entwickelt und unter der Nummer 1,356,763 am 1. Juni 1915 in U.S.A. als Patent eingereicht.[1] In der Patentschrift arbeitet die Elektronenröhre in Kathodenbasisschaltung. Dies entspricht der FET-Source-Schaltung. Die Induktivität des Schwingkreises ist in zwei Spulen aufgeteilt, eine im Gitterkreis (3 in Patentzeichnung) und die andere im Anodenkreis (4). Der Schwingkreis-Kondensator (2) verbindet Gitter mit Anode. Zwischen beiden Kondensatorplatten besteht eine Phasenverschiebung von 180°, genauso wie zwischen Gitter und Anode.
Verwendung
Für einen Abstimmoszillator im Superhet-Empfänger ist die Hartley-Schaltung sehr gut geeignet, da nur eine Spule mit Anzapfung und ein variabler Abstimmkondensator benötigt wird, der einseitig an Masse liegen kann. Für höhere Frequenzen ist häufig die Clapp-Schaltung vorteilhafter, bei denen zwei in Serie geschaltete Kondensatoren verwendet werden.
Wenn Wert auf ein möglichst verzerrungsarmes Sinussignal gelegt wird, muss hochohmig am Schwingkreis ausgekoppelt werden; allerdings wird dann die Schwingfrequenz erheblich durch die Eingangskapazität der Folgestufe beeinflusst. Alternativ kann, wie in der Patentschrift gezeigt, induktiv ausgekoppelt werden.
In den 1960er Jahren dienten Hartley-Oszillatoren in den Philicorda-Orgeln als frequenzbestimmende Hauptoszillatoren, deren Schwingungen dann über synchronisierte Sägezahn-Generatoren in die benötigten Oktaven umgesetzt wurden.
Beispiele
Bipolartransistor in Emitterschaltung

Der Schwingkreis des Hartley-Oszillators mit Bipolartransistor in Emitterschaltung nach [3] und [4][5] besteht aus den beiden Induktivitäten L1 und L2 und dem variablen Kondensator C1. Die Spannungen an den beiden Anschlüssen des Kondensators haben eine Phasenverschiebung von 180°. Der Verstärker besteht aus Transistor Q1 und dreht die Phase zwischen Eingang (Basis) und Ausgang (Kollektor) gleichfalls um 180°, so dass sich die für eine Schwingung notwendige Phasenverschiebung von 360° ergibt. L1 und L2 bilden einen induktiven Spannungsteiler. Die Induktivität von L1 und damit die Hochfrequenzwechselspannung über L1 ist fünfmal größer als die von L2. Der induktive Spannungsteiler bewirkt eine Impedanzanpassung zwischen dem oberen hochohmigen Schwingkreisanschluss mit L1 und dem unteren niederohmigen Anschluss mit L2. Die Widerstände R1 bis R3 bestimmen den Arbeitspunkt von Q1. An dem Widerstand R1 soll bei dem gewünschten Emitterstrom von 5 mA eine Spannung von ungefähr 0,7 V anstehen. Der Widerstand R4 begrenzt den Basisstrom und verhindert damit die Sättigung des Transistor. Die Amplitudenbegrenzung erfolgt durch R1. Aufgrund der Bauteile-Toleranzen ist es oft nötig, R1 einstellbar auszuführen, um beide Ziele, sicheren Start der Oszillation und geringe Oberwellen, zu erreichen.
Die Kondensatoren C2 und C3 sind für Hochfrequenzwechselstrom durchlässig, nicht aber für Gleichstrom. Das RC-Glied R5, C4 siebt die Betriebsspannung. Der Lastwiderstand RL am niederohmigen Ende des Schwingkreises ist kein Teil der Oszillatorschaltung, sondern bildet die Belastung des Oszillator durch die folgenden Stufen nach. Der Parallelwiderstand RP reduziert in der Simulation den Gütefaktor des Schwingkreises auf Q=100 nach der Formel:
Der Widerstand RP ist ein Ersatzelement für die Schwingkreisverluste, in einer realen Schaltung ist RP in den Bauteilen L1, L2 und C1 enthalten. Die Werte von Lastwiderstand und Gütefaktor sind wichtig für die Dimensionierung oder die Schaltungssimulation[6].
Sperrschicht-Feldeffekttransistor in Gate-Schaltung

Der Schwingkreis des Hartley-Oszillators mit Sperrschicht-Feldeffekttransistor (JFET) in Gateschaltung nach [7] besteht aus den beiden Induktivitäten L1 und L2 und dem variablen Kondensator C1. Der Transistor in Gateschaltung hat eine Phasenverschiebung von 0°. Die beiden Schwingkreis-Induktivitäten bilden einen Spartransformator oder einen induktiven Spannungsteiler. Die Gesamtinduktivität von L1 und L2 und damit die Hochfrequenzwechselspannung am unteren Anschluss von L1 ist zehnmal größer als die am unteren Anschluss von L2. Der induktive Spannungsteiler bewirkt eine Impedanzanpassung zwischen dem niederohmigen Verstärkereingang (Source) und dem hochohmigen Verstärkerausgang (Drain). Der Gütefaktor des Parallelschwingkreises bei Resonanzfrequenz wird als Parallel-Widerstand Rp1 wie oben beschrieben simuliert. Die HF-Drossel L3 verhindert das der Hochfrequenzstrom über R1 abfließt. Der Widerstand R1 bestimmt den Arbeitspunkt von J1. Die Amplitudenbegrenzung erfolgt durch R1. Aufgrund der Bauteile-Toleranzen ist es oft nötig, R1 einstellbar auszuführen, um beide Ziele, sicheren Start der Oszillation und geringe Oberwellen, zu erreichen.
Die Kondensatoren C2 und C3 sind für Hochfrequenzwechselstrom durchlässig, nicht aber für Gleichstrom. Das RC-Glied R2, C4 siebt die Betriebsspannung. Der Lastwiderstand RL am niederohmigen Ende des Schwingkreises ist kein Teil der Oszillatorschaltung, sondern bildet die Belastung des Oszillators durch die folgenden Stufen nach. Mit RP3 wird der Gütefaktor der HF-Drossel L3 auf Q=65 festgelegt. Die Werte von Lastwiderstand und Gütefaktor sind wichtig für die Dimensionierung oder die Schaltungssimulation[8].
Siehe auch
Einzelnachweise
- ↑ a b c Patent US1356763A: Oscillation-generator. Angemeldet am 1. Juni 1915, veröffentlicht am 26. Oktober 1920, Anmelder: Western Electric Co, Erfinder: Ralph Vinton Lyon Hartley.
- ↑ F. A. Record, J. L. Stiles: "An Analytical Demonstration of Hartley Oscillator Action". Proceedings of the IRE, Volume: 31, Issue: 6, June 1943, ISSN 0096-8390
- ↑ Wes Hayward: Radio Frequency Design. ARRL, 1994, ISBN 0-87259-492-0, Kapitel 7.3 Further LC oscillator topics, S. 280.
- ↑ Eckart Moltrecht: Amateurfunk-Lehrgang Technik Klasse A. vth, 2007, ISBN 978-3-88180-389-2, Lektion 7: Oszillator und HF-Verstärker, S. 90.
- ↑ Eckart Moltrecht: Kapitel 7: Oszillator und Hochfrequenzverstärker. Abgerufen am 12. Juli 2016.
- ↑ Paul Falstad: Circuit Simulator Applet. Abgerufen am 8. Juli 2016.
- ↑ Wes Hayward: Radio Frequency Design. ARRL, 1994, ISBN 0-87259-492-0, Kapitel 7.3 Further LC oscillator topics, S. 280.
- ↑ Paul Falstad: Circuit Simulator Applet. Abgerufen am 8. Juli 2016.