Dynatron

Das Dynatron ist eine spezielle Bauform einer historischen Elektronenröhre mit drei Elektroden, die als Besonderheit in ihrer Strom-Spannungs-Kennlinie einen Bereich mit negativem differentiellen Widerstand aufweist. Dadurch kann sie zur Erzeugung von elektrischen Schwingungen im Rahmen einer Oszillatorschaltung dienen. Das Dynatron wurde 1915 von Albert W. Hull entwickelt.[1][2]
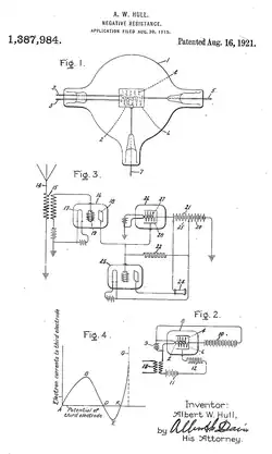
Aufbau
Das Dynatron besteht aus einer zentrisch im Inneren angeordneten Glühkathode, die außen von zwei Anoden umgeben ist. Die innenliegende Anode ist mit Löchern durchsetzt und befindet sich in Betrieb auf einer höheren elektrischen Spannung als die außenliegende zweite Anode. Durch die Anordnung der beiden Anoden und deren Spannungsverteilung kommt es infolge der Sekundäremission von Elektronen in einem Bereich der Kennlinie zu dem gewünschten negativen differentiellen Widerstand, der im Rahmen von Oszillatorschaltungen, dem Dynatron-Oszillator, zur Erzeugung von Schwingungen genutzt werden kann.
Eine Erweiterung stellt die als „Pliodynatron“ bezeichnete Elektronenröhre dar. Dabei wird eine zusätzliche vierte Elektrode, ein Steuergitter, zwischen der Glühkathode und der inneren ersten Anode angebracht. Mit Hilfe dieses Steuergitters kann die in der Oszillatorschaltung erzeugte Frequenz beeinflusst werden. Das Pliodynatron stellt im Prinzip und vom Aufbau eine Tetrode dar, wobei bei herkömmlichen Tetroden die bei Dynatron erwünschte Sekundäremission von Elektronen an der Anode unerwünscht ist.
Literatur
- Friedrich Benz: Einführung in die Funktechnik. 3. Auflage. Springer, 1944, S. 426.
Weblinks
- Radiomuseum: Dynatron. Abgerufen am 22. Februar 2013.
Einzelnachweise
- ↑ Albert W. Hull: The Dynatron: A Vacuum Tube Possessing Negative Electric Resistance. In: Proceedings of the Institute of Radio Engineers (IRE). Band 6., Nr. 1., 1918, ISSN 0731-5996, S. 5 - 35, doi:10.1109/JRPROC.1918.217353.
- ↑ Patent US1387984: Negative Resistance. Angemeldet am 30. August 1915, veröffentlicht am 16. August 1921, Anmelder: General Electric Company, Erfinder: Albert W. Hull.