Taupunktspiegelhygrometer
Das Taupunktspiegelhygrometer ist ein Gerät zur Bestimmung des Taupunkts von Wasserdampf in Luft oder in Prozessgasen. Als Taupunkt bezeichnet man die Temperatur von feuchter Luft, die bei unverändertem Druck unterschritten werden muss, damit sich Wasserdampf als Tau oder Nebel abscheiden kann. Am Taupunkt beträgt die relative Luftfeuchtigkeit 100 %. Die Luft ist dann mit Wasserdampf gesättigt. Das Taupunktspiegelhygrometer verwendet zur Messung des Taupunktes einen temperierbaren Spiegel. Bei der Messung wird die Reflektivität des Spiegels gemessen, die sich dann bei abnehmender Temperatur zu verringern beginnt, wenn der Taupunkt erreicht ist und der Spiegel beschlägt.
Messvorgang
Das Taupunktspiegelhygrometer muss gut belüftet (bzw. von Prozessgas durchflutet) sein. Falls notwendig, wird der Spiegel zunächst solange erwärmt, bis er kondensatfrei und damit nicht mehr beschlagen ist. Anschließend wird der Spiegel langsam so lange wieder abgekühlt, bis er beschlägt. Eine Messoptik detektiert das, die zugehörige Spiegeltemperatur ist dann die Taupunkttemperatur.
Geringe Feuchtegehalte und damit niedrige Taupunkttemperaturen erfordern längere Messzeiten. Während bei hohen Taupunkttemperaturen eine Messung typischerweise nur wenige Sekunden dauert, kann bei Spurenfeuchte (z. B. bei sehr niedriger Taupunkttemperatur) eine Messung länger als eine Stunde in Anspruch nehmen. Solche langen Messzeiten liegen allerdings nicht daran, dass man lange braucht, um die tiefen Temperaturen zu erlangen, sondern daran, dass dann sehr wenig Wassermoleküle im Gas enthalten sind. Daher muss man warten bzw. genügend Prozessgas am Spiegel vorbeistreichen lassen, damit sich genügend Moleküle ablagern können, um als Kondensat sichtbar zu werden.
Physikalische Grundlagen

Feuchtemessgeräte (Hygrometer), die nach dem Kondensationsverfahren arbeiten, nutzen die Bildung von flüssigem Wasser oder Eis (durch Sublimation).
Der Taupunkt als Temperatur eines feuchten Gasgemisches, bei dem sich Kondensieren und Verdunsten des feuchten Bestandteils genau die Waage halten, ist dann erreicht, wenn das Gas mit dem Dampf gerade gesättigt ist. Der Dampf-Partialdruck, der in diesem Gleichgewichtszustand herrscht, ist der Sättigungsdampfdruck. Wie hoch der Sättigungsdampfdruck bei einer gegebenen Temperatur ist, ergibt sich aus dem Phasendiagramm des Wassers bzw. der Stoffe in anderen Gasgemischen. Da die nicht-kondensierbaren Anteile des Gasgemisches das Verhalten des Dampfes nahezu überhaupt nicht beeinflussen, hängt der Taupunkt von feuchter Luft fast ausschließlich vom Partialdruck des enthaltenen Wassers ab. Jeder solche Gleichgewichtszustand ist durch einen Punkt im p-T-Diagramm, bestimmt. Verbindet man all diese Punkte miteinander, so erhält man die Taupunktkurve als Phasengrenzlinie.
Kann der Energiefluss zur Temperaturabsenkung geregelt werden, so gelten die beschriebenen physikalischen Abhängigkeiten auch für offene Systeme, wie Fließprozesse.
Überblick
Taupunkt-Hygrometer nach Daniell
John Frederic Daniell gelang 1820 die Messung der Luftfeuchtigkeit mittels eines von ihm entwickelten Taupunkthygrometers.
Aufbau und Funktion
An einer Säule, die ein Thermometer zur Bestimmung der Lufttemperatur trägt, ist eine U-förmige Glasröhre mit nach unten gerichteten Schenkeln angebracht. Die beiden Schenkel des U-Rohres sind an den Enden zu Kugeln ausgebildet.


Die linke Kugel A ist zum Teil mit Diethylether gefüllt. Im Schenkel B befindet sich ein Thermometer, dessen Spitze in den Äther eintaucht. Im Innenraum des gesamten U-Rohr C und auch der rechten Kugel D befindet sich somit Ätherdampf mit einem der Umgebungstemperatur entsprechenden Partialdruck.
Die rechte Kugel ist außen mit Stoff umhüllt und wird von außen mit Äther beträufelt. Durch die Verdunstung des außen aufgebrachten Äthers sinkt die Temperatur der rechten Kugel und es kommt innerhalb dieser Kugel zur Kondensation des inneren Ätherdampfes. Dadurch sinkt der Partialdruck im Innenraum der Glaskonstruktion. Da der Partialdruck entsprechend der Außentemperatur jedoch wieder ansteigen muss, kommt es innerhalb der linken Kugel zur Verdampfung von Äther. Dies führt nun seinerseits zur Temperaturabsenkung in der linken Kugel.
Wird durch diese Temperaturabsenkung die Kondensationstemperatur der Umgebungsluft an der Kugeloberfläche unterschritten, so entsteht Wasserkondensat auf der linken Kugeloberfläche. Zur besseren Erkennung der Kondensatbildung ist auf der linken Kugel ein Streifen vergoldet. Beim Einsetzen der Kondensation wird am inneren linken Thermometer die Temperatur abgelesen.
Durch Kippen der Apparatur kann der Äther aus der linken Kugel in die rechte fließen. Die linke Kugel nimmt aus der Umgebung Wärme auf und die Kondensatbildung verschwindet wieder. Auch jetzt wird am linken Thermometer die Temperatur abgelesen. Aus dem Mittelwert der beiden Temperaturmesswerte wird die Taupunkttemperatur bestimmt.[1]
Taupunktkappen nach Regnault


Henri Victor Regnault, ein deutsch-französischer Physiker und Chemiker, entwickelte 1845 die Taupunktkappe.
Aufbau und Funktion
Ein teilweise verspiegeltes Glasgefäß wird im Bereich der Verspiegelung mit Äther gefüllt. Das Glasgefäß wird nach der Befüllung oben verschlossen. Durch zwei Öffnungen werden Glasröhrchen eingeführt, wobei ein Röhrchen bis in den Äther taucht. Das Thermometer wird ebenfalls durch den Verschluss bis in den Äther eingebracht.
Durch das Röhrchen, welches bis in den Äther ragt, wird Luft geblasen. Durch Wärmeaufnahme aus diesem Luftstrom verdunstet der Äther im Zwischenraum. Der Ätherdampf tritt aus der zweiten Öffnung aus.
Die Verdampfung des Äthers führt zur Temperaturabsenkung der verspiegelten Wand, an der sich dann ein Kondensatbelag des Wassers aus der Umgebungsluft bildet. Die Belagbildung wird mit dem Auge wahrgenommen und die Temperatur der Oberfläche, die gleich der Temperatur des Äthers ist, mit dem Thermometer gemessen.
Diese Oberflächentemperatur ist die Taupunkttemperatur.[2]
Einsatzbereich
Der Einsatzbereich der Taupunktkappen für die Taupunkttemperaturmessung erstreckte sich wenige Grade unter der Umgebungstemperatur.
Die Messunsicherheit war groß, da zum einen der Zeitpunkt der Betauung von der Unterscheidungsempfindlichkeit des menschlichen Auges abhängt und zum anderen die Ableseunsicherheit des Thermometers durch den Menschen mit eingeht.
Taupunktdose nach Lambrecht

Wilhelm Lambrecht verbesserte die Möglichkeit der Betauungserkennung erheblich.
Die größte Unsicherheit bei der Messung mit der Taupunktkappe ist die Bestimmung des Kondensationszeitpunktes. Das menschliche Auge ist gegenüber schleichenden Veränderung sehr träge. Lambrecht führte eine geteilte Spiegelwand ein.
Aufbau und Funktion
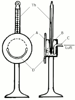
Eine auf der Vorderseite blank polierte Metallplatte A trägt auf der Rückseite eine runde Metalldose B, in die von oben ein Thermometer Th hineinragt. Die Metalldose wird zur Hälfte mit Äther gefüllt.
Durch ein Rohr C wird mittels eines Handgebläses Luft durch den Äther geblasen. Dieser verdunstet und kühlt das ganze Gefäß und auch die Luft in seiner direkten Umgebung ab.
Wenn der Taupunkt erreicht ist, kondensiert der in der Luft enthaltene Wasserdampf und beschlägt die blanke Platte A. Damit der Augenblick des Beschlagens der Platte gut zu beobachten ist, um sofort das Thermometer abzulesen, ist der mittlere Teil der blanken Fläche durch einen Schlitz D von dem darunter liegenden Teil getrennt.
Der Kondensationsbelag tritt dann zuerst nur auf dem oberen mittleren, mit der Metalldose verbundenen Teil der Fläche auf und kann gut gegen den unbeschlagenen Teil erkannt werden.[3]
Automatisch arbeitende Taupunktspiegel nach Harold E. Edgerton

1965 gelang es Harold E. Edgerton erstmals einen automatisch arbeitenden gekühlten Taupunktspiegel zu bauen.
Aufbau und Funktion
Automatische Taupunktspiegel bestehen aus einer verspiegelten Oberfläche, welche in der Regel mittels Peltier-Element auf Kondensationstemperatur gebracht wird. Bei Erreichen der Taupunkttemperatur kondensiert das Wasser auf dem Spiegel, dadurch verringert sich das Reflexionsvermögen des Spiegels. Dieser Vorgang wird mit einer Optik automatisch detektiert und die aktuelle Temperatur bestimmt.
Ein wesentliches Element automatisch arbeitender Taupunktspiegel-Instrumente ist das Heiz- und Kühlelement. Hierfür werden üblicherweise Peltier-Elemente verwendet, die auf eine Erfindung des französischen Physikers Jean Peltier aus dem Jahre 1834 zurückgehen. Er erkannte, dass eine mit elektrischem Strom durchflossene Lötstelle zweier verschiedenartiger Metalle sich je nach Stromrichtung erwärmt oder abkühlt. Dadurch kann durch die Regelung des Stromes auf elektrischem Wege eine bestimmte Temperatur an einer Verbindungsstelle zweier verschiedener Metalle erzeugt werden. Bis Mitte des 20. Jahrhunderts blieb das Peltierelement weitgehend unbeachtet. Erst die Entwicklung von Halbleitern vollzog auch bei den Peltier-Elementen einen deutlichen Entwicklungsschub und führte in den 1960er-Jahren zum technischen Einsatz von Peltier-Elementen in der Heiz- und Kühltechnik.
Im Jahre 1965 gelang es Edgerton (Begründer der Firma EG & G 1947) durch die Entwicklung einer elektro-optischen Abtastung, kombiniert mit einer automatischen Temperaturmessung der Spiegeloberfläche, die Beobachtung der Kondensation vom menschlichen Auge unabhängig zu machen. Damit und mit der Verwendung von temperaturabhängigen Messwiderständen war der letzte wichtige Schritt zum automatisierten Messen der Taupunkttemperatur in offenen Systemen getan. Seit den 1970er Jahren werden Taupunktspiegel zum automatisierten Messen der Taupunkttemperatur in offenen Systemen eingesetzt.
Taupunktspiegel heute

Die technische Ausführung des geschlossenen Mischgasvolumens und die Art und Weise der Temperaturabsenkung ist bei den einzelnen Geräten unterschiedlich realisiert.[4]
Moderne Taupunktspiegel sind in der Regel folgendermaßen aufgebaut:
Eine verspiegelte metallische Oberfläche wird mittels eines Peltierelementes bis auf Kondensationstemperatur abgekühlt. Bei Erreichen der Taupunkttemperatur kondensiert das Wasser auf dem Spiegel. Dadurch nimmt das Reflexionsvermögen des Spiegels ab. Wird der Spiegel mittels einer Leuchtdiode beleuchtet und das reflektierte Licht mittels einer Photodiode aufgefangen, so entsteht ein elektrischer Strom, der von dem Reflexionsvermögen des Spiegels abhängt.
Ein zweiter Lichtstrahl, der nicht durch die Kondensationserscheinungen beeinflusst wird, dient als Bezugswert. Beide Lichtstrahlen haben vor der Kondensation die gleiche Intensität und erzeugen an zwei Photodioden den gleichen Strom. Der Vergleich der beiden Ströme, vorzugsweise in einer Brückenschaltung, wird zur Steuerung des Peltierstromes genutzt. Weicht der reflektierte Strahl aufgrund der Kondensationserscheinungen am Spiegel von der ursprünglichen Beleuchtungsstärke, die durch den Referenzstrahl festgehalten wird, ab, so entsteht ein Differenzsignal an der Brücke, was zur Steuerung des Peltierstromes genutzt wird.
Bei konstanter Taupunkttemperatur wird der Peltierstrom in sehr engen Grenzen geregelt, so dass die Temperatur der Spiegeloberfläche auf ±0,05 °C stabil ist. Kondensations- und Verdampfungsvorgänge befinden sich deshalb im Gleichgewicht.
Die Taupunkttemperatur wird mittels eines temperaturabhängigen Platin-Messwiderstandes (Pt100, Pt1000) als Oberflächentemperatur (oder Körpertemperatur) des Spiegels drift- und hysteresefrei gemessen.
Taupunktspiegel mit Peltierkühlung sind für einen Messbereich von −100 °C[5] bis 100 °C mit einer minimalen Messunsicherheit von ±0,1 K einsetzbar. Taupunktspiegel können anstelle oder zusätzlich zur Peltierkühlung eine kryostatische Kühlung mit flüssigen Stickstoff besitzen. Solche Messaufbauten können Taupunkttemperaturen bis −115 °C messen.
Taupunktspiegel sind gegen feste und flüssige Teilchen im Messgas empfindlich, da Partikel jeglicher Art sowohl den Messlichtstrahl streuen als auch das Reflexionsvermögen des Spiegels stören können. Ob der Streupartikel kondensiertes Wasser oder Schmutz ist, kann das Messverfahren nicht unterscheiden.
In Kombination mit einem Gastemperaturfühler und einem Drucksensor vermögen manche Geräte nicht nur alle drei relevanten physikalischen Größen zu messen und anzuzeigen, sondern auch mittels eingebauter Rechner alle anderen Kenngrößen der Feuchte zu berechnen. Hierbei gibt es zwei unterschiedliche Gerätegruppen: Solche, die bei der Berechnung die Enhancement-Faktoren berücksichtigen und solche, die mit der einfachen Magnus-Formel arbeiten.
Kohlenwasserstoff-Taupunkt
In der Praxis ist der Taupunkt von Wasser der wohl am häufigsten gemessene Taupunkt. Allerdings haben auch Kohlenwasserstoffe, z. B. Lösemittel, einen sogenannten Kohlenwasserstoff-Taupunkt der, je nach Prozess, bedeutsam ist und gemessen werden muss.
Ein nicht modifiziertes Taupunktspiegelhygrometer ist nicht zum Messen von Kohlenwasserstoff-Taupunkten geeignet, denn das Kondensat der Kohlenwasserstoffe verändert die Spiegeleigenschaften in zu geringem Maße. Daher misst man bei Kohlenwasserstoff-Taupunkt-Sensoren das sich durch die Kondensatbildung verringernde Streulicht von angerauten Oberflächen.
Einzelnachweise
- ↑ Josef Reiner: Die meteorologischen Instrumente. Rudolf A. Lang Verlag, Pössneck, 1949.
- ↑ F. Kohlrausch: Praktische Physik. Band 1, B.G. Teubner Verlag, Stuttgart 1986.
- ↑ H. Gobrecht: Bergmann Schaefer Lehrbuch der Experimentalphysik. Band 1, de Gruyter Verlag, Berlin 1974, ISBN 3-11-004366-1.
- ↑ Dr. Ing. Bernhard Prümm: Kondensationsmessverfahren. (Seite nicht mehr abrufbar, festgestellt im Mai 2019. Suche in Webarchiven) Info: Der Link wurde automatisch als defekt markiert. Bitte prüfe den Link gemäß Anleitung und entferne dann diesen Hinweis. auf: pruemmfeuchte.de
- ↑ Taupunktspiegel für extreme Spurenfeuchtemessung S4000 TRS
Literatur
- D. Weber: Technische Feuchtemessung in Gasen und Festkörpern. Vulkan-Verlag, Essen 2002, ISBN 3-8027-3201-4.
- H.D. Baehr, S. Kabelac: Thermodynamik. 14. Auflage. Springer-Verlag, Berlin 2009, ISBN 978-3-642-00555-8.