Schwingankerantrieb
Schwingankerantriebe sind elektromagnetische Schwingungserzeuger, die lineare oder bogenförmige mechanische Schwingungen abgeben.
Funktion

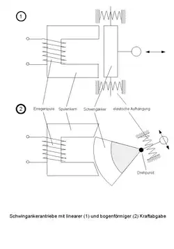
Schwingankerantriebe bestehen aus einem festen Eisenkern mit Erregerspule und einem beweglichen Eisenkern (Anker), der durch Federn in Ruhelage gehalten wird. Wird die Erregerspule von einem Strom durchflossen, so wird der Anker je nach Stromstärke mehr oder weniger aus der Ruhelage gezogen. Durch den ständigen Wechsel der Stromstärke und/oder der Stromrichtung gerät der Anker in eine mechanische Schwingung, die zu Antriebszwecken genutzt werden kann. Der Anker ist oft mit einem Dauermagnet ausgerüstet; dadurch erhöht sich die Effizienz, und die Schwingfrequenz entspricht derjenigen der speisenden Wechselspannung.
Aufbau
Da die Spulenanschlüsse durch die ständige Bewegung schnell brechen würden, wird die Spule mit ihrem Kern in der Regel fest montiert, während der Anker begrenzt beweglich ist. Anker und Spulenkern werden wegen der auftretenden Wirbelströme meist aus Dynamoblech geschichtet. Der Anker kann entweder direkt linear oder um eine Drehachse bogenförmig schwingen. Die Aufhängung und die Ankermasse bilden ein Feder-Masse-System mit einer Eigenfrequenz, die (bei Einsatz von Permanentmagneten) der speisenden Wechselspannung (meist Netzfrequenz, d. h. 50 oder 60 Hertz) gleicht. Bei einfachen Systemen ohne Magnete (z. B. Wechselstromklingeln) beträgt die Schwingfrequenz das Doppelte der speisenden Frequenz.
Betriebsspannung
Schwingankerantriebe werden bei einfacheren Geräten mit Wechselspannung aus dem öffentlichen Stromnetz betrieben. Für Aufgaben, bei denen eine Verstellung der Schwingweite und -frequenz erforderlich ist, werden Umrichter oder ähnliche elektronische Bausteine eingesetzt, die eine leichte Einstellung der entsprechenden Parameter zulassen.
Eigenschaften
Schwingankerantriebe sind unempfindlich gegen Überlastung (Blockierung) und sehr langlebig, da die Lebensdauer nur durch die Haltbarkeit der Aufhängungselemente des Ankers und die Ermüdung der Federn begrenzt ist. Ihr Nachteil ist der laute Lauf und die fehlende Möglichkeit, Unwuchten auszugleichen, wodurch das gesamte Gerät vibriert.
Anwendung
Schwingankerantriebe sind überall dort weit verbreitet, wo kurze lineare hin- und hergehende Bewegungen erforderlich sind. Das wohl bekannteste Anwendungsgebiet sind Geräte zur Körperpflege, wie z. B. Rasierapparate, Haarschneidemaschinen oder Massagegeräte. Häufig wird auch bei Aquarienpumpen (Membran-Luftpumpe) diese Antriebsart angewandt.
Im gewerblichen Bereich sind typische Anwendungen Schwingförderer, Schwingsiebe, Wechselstromläutewerke, Wechselstrom-Hupen, Vibrationsreinigungsgeräte oder Vibrationsverdichter (Rüttler).
Literatur
- Gregor D. Häberle, Heinz O. Häberle: Transformatoren und Elektrische Maschinen in Anlagen der Energietechnik. 2. Auflage, Verlag Europa-Lehrmittel, Haan-Gruiten, 1990, ISBN 3-8085-5002-3