Schuhgröße

Die Schuhgröße ist die Größe eines Schuhs oder Fußes. Meist beschränkt sie sich auf die mit einer Zahl ausgedrückte Angabe der Länge, da Schuhe in der Regel nur in einer Weite hergestellt werden.
Es gibt mehrere verschiedene, nebeneinander existierende, historisch gewachsene Schuhgrößensysteme, teils mit nationalen Schwerpunkten. Sie unterscheiden sich in der Bezugsgröße, der Maßeinheit oder dem Skalen-Nullpunkt. Nur ein Teil der Systeme bezieht neben der Fußlänge auch die Fußbreite ein, sodass hierfür oft nicht standardisierte, herstellerspezifische Bezeichnungen in Gebrauch sind.
Geschichte
Um den Füßen einen thermischen und mechanischen Schutz zu bieten, hat sich in den meisten modernen Kulturen die Fußbekleidung durch Schuhe als selbstverständlicher Teil der Gesamtbekleidung etabliert. Sie müssen gut passen, damit die Füße nicht krank sowie in ihrer Funktionalität und Leistungsfähigkeit nicht zusätzlich eingeschränkt werden (jeder Schuh stellt per se eine gewisse Einschränkung dar). Seit Beginn der industriellen Schuhproduktion, bei der Schuhe für einen späteren Verkauf auf Vorrat produziert werden, werden Schuhe auf unterschiedlich geformten Leisten und in unterschiedlichen Größen hergestellt, um damit zu gewährleisten, dass der spätere Käufer ein für seine Füße möglichst optimal passendes Schuhpaar findet. Um es dem Kunden zu erleichtern, ein passendes Paar zu finden, wurden die Schuhgrößen eingeführt.
Anforderungen an die Abmessungen
Bei den mannigfaltigen Formen und Größen normaler Füße sind unterschiedlich geformte und unterschiedlich große Schuhe erforderlich. Die erforderlichen Abmessungen und Formen orientieren sich hierbei am Fuß, für den der Schuh hergestellt wird.
Fußlänge

Die Länge des Fußes ist das am häufigsten verwendete Maß zur Bestimmung der Schuhgröße. Weil sich der Fuß bei der Schrittabwicklung im Moment des Abrollens nach vorne schiebt, ist die Innensohlenlänge im Schuh so zu bemessen, dass sich zusätzlich zur reinen Fußsohlenlänge ein gewisser Freiraum vor den Zehen ergibt: Diese Zugabe, so der Fachbegriff, beträgt etwa 15 Millimeter und ist bei der Wahl der richtigen Schuhlänge zu beachten, hängt aber stark von der Schuhform und Absatzhöhe ab. Der tatsächlich erforderliche Freiraum in der Länge kann, um den Zehen den notwendigen Raum in der Vertikalen zu gewährleisten, zum Beispiel aufgrund einer zur Schuhspitze hin immer flacher werdenden Vorderkappe länger sein als bei einer hohen Vorderkappe. Vergleichbares gilt für spitz zulaufende Schuhe, die entsprechend länger sein müssen, damit sich die Zehen nicht in die horizontal konisch zulaufende Schuhspitze zwängen müssen, was auf Dauer zu Gesundheitsschäden wie einem Hallux valgus und folgend zu Bewegungsbeeinträchtigung führt.
Fußweite

Neben der Fußlänge findet immer häufiger auch die Fußweite in Form des Ballenmaßes Berücksichtigung. Hierzu wird der Umfang des Fußes an seiner breitesten Stelle, der Ballenlinie (gedachte Linie zwischen Ballen des großen und kleinen Zehen), gemessen. Mehrere Reihenuntersuchungen belegen, dass für die Versorgung der Bevölkerung mit mehrheitlich passendem Schuhwerk fünf verschiedene Schuhweiten erforderlich sind. Bei Kinderschuhen, die unter Berücksichtigung des WMS-Systems gefertigt werden, wird das mit drei Grundweiten, sowie durch das Einlegen bzw. Herausnehmen einer Einlage in den Randweiten ermöglicht; hierdurch ergeben sich insgesamt fünf Weiten. Bei Schuhen für Erwachsene ist dies mit Ausnahme weniger Marken im üblichen Preis- und Qualitätssegment von Schuhen nicht gewährleistet. So genannte Bequemschuhe oder Gesundheitsschuhe sind Ausnahmen, da sie grundsätzlich in verschiedenen Weiten angeboten werden; gleiches gilt für viele Herrenschuhe der oberen Preis- und Qualitätsklasse.
Die Schuhweite ist für die Passform, den Tragekomfort, die Haltbarkeit der Schuhe und die Fußgesundheit der Träger sehr wichtig. Da sich der Fuß allein durch die Belastung im Laufe des Tages in seinem Volumen verändert (abends sind die Füße größer als frühmorgens), ist neben einer von vornherein möglichst gut passenden Schuhweite vor allem das Schaftmaterial wichtig. Leder ist hierfür bis heute das am besten geeignete Material, weil es sich während des Tages durch die Wärme und Fußfeuchte gemeinsam mit dem Fuß ausdehnt, um nach einem Ruhetag, während dessen es trocknet und auf seine ursprüngliche Passform zurückzieht, wieder seine ursprünglichen Abmessungen annimmt. Deshalb sind Tragepausen und Schuhspanner zum Erhalt der richtigen Weite bei Lederschuhen elementar. Bei Laufschuhen, die ein synthetisches, nicht dehnbares Obermaterial haben, werden bei einigen Modellen links und rechts im Ballenbereich elastische Knautschzonen eingebaut, die dem Fuß Spielraum in der Breite geben.
Sind die Schuhe bereits ab dem Kauf zu weit oder durch ständiges Tragen, ohne dem Lederschaft die Gelegenheit zum Rückstellen zu geben, rutscht der Fuß nach vorne. In der Folge hebt sich die Ferse aus dem Schuh und die Zehen stoßen an. Der Schuh zeigt starke Gehfalten, verschleißt schneller und zusätzliche Reibung mindert den Tragekomfort. Oft werden zu weite Schuhe deshalb zu kurz gekauft, was das Problem aber nur verlagert und die Bildung von Krallen- und Hammerzehen fördert. Ist die Schuhweite hingegen zu eng, wird der Schuh schnell ausgetreten, die Haltbarkeit verkürzt und die Zehengrundgelenke ständig zusammengepresst. Eine passende Schuhweite hält den Fuß an seiner breitesten Stelle, im Bereich der Ballenlinie fest im Schuh, ohne ihn spürbar zu beengen.
Fußbreite

Ein weiteres Maß zur Bestimmung der Schuhgröße ist die Breite des Fußes, an der breitesten Stelle gemessen. Dieses Maß findet zum Beispiel beim Mondopoint-System anstelle des Ballenmaßes Verwendung.
Fußbreite und Ballenmaß hängen voneinander ab: Als typischer Näherungswert kann der Ballenumfang als das 2,7-Fache der Breite angenommen werden.[1] Letztlich lassen sich Fußbreite und Ballenmaß jedoch nicht ineinander umrechnen. Vielmehr ist die Form des Fußes und insbesondere die Höhe des Spanns hierfür mit entscheidend. Es kann zum Beispiel ein breiter Fuß mit flachem Spann den gleichen Ballenumfang haben, wie ein schmaler Fuß mit hohem Spann. Würde beiden Füßen ein Schuh in der gleichen Weite angeboten, kann dieser unmöglich beiden gleich gut passen. Da Schuhe von einer Grundgröße ausgehend nach oben und unten skaliert (gradiert) werden, sind die zugrundeliegenden Tabellen entscheidend, die angeben, wie groß die jeweiligen Millimetersprünge von Schuhgröße zu Schuhgröße sind, und ob die mit der Schuhlänge zugleich zunehmende Schuhweite und -breite den tatsächlichen Gegebenheiten der Füße entspricht. Die Hersteller orientieren sich an unterschiedlichen Tabellen, sodass ein Schuhmodell einer bestimmten Länge und Weite bei einem Hersteller breiter und flacher, bei einem anderen schmaler und höher ausfallen kann.
Erst eine Kombination aus Ballenmaß und Breite würde es erlauben, die verschiedenen Querschnittsformen ausreichend zu berücksichtigen.
Fußform

Neben den Maßen ist auch die Form des Fußes entscheidend dafür, ob ein Schuh passt. Dieser Umstand findet bei nahezu keinem Schuhgrößensystem Berücksichtigung. Nach der Zehenformation unterscheidet man die ägyptische, die quadratische und die griechische Fußform (bei der die zweite Zehe die längste ist).
Bestimmung der Schuhgröße
Zur Ableitung der Schuhgröße aus den Maßen des Fußes werden unterschiedliche Systeme verwendet. Insbesondere bei der Länge beziehen sich diese auf unterschiedliche Größen, verwenden unterschiedliche Maßeinheiten und Nullpunkte. Diese Unterschiede erschweren die Vergleichbarkeit und das Umrechnen von Schuhgrößen unterschiedlicher Systeme im Kopf.
Bezugsgröße: Fuß, Schuh oder Leisten
Zur Bestimmung der Länge werden insbesondere folgende Maße verwendet.
- Die mittlere Länge der Füße (Länge der Fußsohle), denen der Schuh passt, lässt sich am einfachsten mit den Körpermaßen vergleichen. Der Hersteller muss jedoch Sorge dafür tragen, dass das fertige Produkt tatsächlich Füßen mit der angegebenen Länge passt. Er muss hierbei die geeignete Zugabe in Abhängigkeit vom Schuhtyp ermitteln und den Schuh entsprechend kennzeichnen.
- Die Innenlänge des Schuhs lässt sich leicht am fertigen Produkt messen, erlaubt jedoch nur eine grobe Abschätzung, für welche Füße der Schuh passt. Je nach Schuhtyp muss der Innenraum 10 bis 20 mm länger sein als der Fuß, sodass sich unterschiedliche Schuhgrößen ergeben.
- Die Länge des Leistens, der zur Herstellung des Schuhs verwendet wird, ist für den Hersteller am einfachsten zu bestimmen. Sie lässt jedoch nur begrenzt Schlüsse auf die Innenlänge des fertigen Schuhs oder auf die Länge der Füße, denen der Schuh passt, zu. Diese hängen vom verwendeten Material, der Form des Leistens und der Art und Weise, wie die Leistenlänge gemessen wird, ab. So kann neben der Unterseite („Leistensohlenbahn“) auch die Länge parallel zum gedachten Erdboden oder die Länge des liegenden Leistens gemessen werden.[2]
Diese unterschiedlichen Messmethoden führen dazu, dass trotz exakter Kenntnis der Schuhgrößensysteme, deren jeweiligen Nullpunkten und korrekten Umrechnungsfaktoren Schuhe mit angegebener gleicher Schuhgröße unterschiedliche Längen (und Weiten) aufweisen können.
Maßeinheit
Die Schuhgrößensysteme unterscheiden sich ferner darin, welche Maßeinheiten verwendet werden. Hieraus ergeben sich auch unterschiedliche Schrittweiten, da in der Regel nur „ganze“ oder „halbe“ Größen hergestellt werden.
- Ein Pariser Stich hat eine Länge von 2⁄3 cm = 6,6 mm. Es werden in der Regel keine Zwischengrößen hergestellt, sodass die Größenabstufung 6,67 mm beträgt. Diese Maßeinheit wird in Kontinentaleuropa verwendet.
- Die britische Maßeinheit Barley corn (engl. Gerstenkorn) besitzt eine Länge von 1⁄3 Zoll = 8,46 mm. Es werden in der Regel halbe Größen hergestellt, sodass die Abstufung 4,23 mm beträgt. Diese Maßeinheit ist die Grundlage des UK- und US-Systems.
- Daneben werden auch metrische Angaben in cm oder mm verwendet. In der Regel wird eine Abstufung von 5 mm verwendet, die somit zwischen der des kontinentaleuropäischen und britischen Systems liegt. Dies ist beispielsweise beim Mondopoint-System oder in Japan der Fall.
Durch die unterschiedlichen Maßeinheiten ergeben sich bei der Umrechnung zwischen verschiedenen Größensystemen zwangsläufig Rundungsfehler und ungewöhnliche Größen wie „47 2⁄3“.
Nullpunkt
Die Schuhgrößensysteme unterscheiden sich ferner darin, wo der Nullpunkt gesetzt wird.
- Befindet sich der Nullpunkt bei der Fußlänge 0, entspricht die Schuhgröße der Fußlänge in der gewählten Maßeinheit. Die Größen von Kinder-, Herren- und Damenschuhen sind dadurch direkt miteinander vergleichbar, außerdem die Größen verschiedener Schuhtypen. Dieser Nullpunkt bietet sich insbesondere dann an, wenn auch die Bezugsgröße die Länge des Fußes ist, wie dies beim Mondopoint-System oder in Japan der Fall ist.
- Daneben kann der Nullpunkt auch bei einer Innenlänge von 0 gesetzt werden. Die Schuhgröße entspricht dann der Innenlänge in der gewählten Maßeinheit. Dies bietet sich an, wenn auch die Innenlänge gemessen wird. Dies ist beispielsweise beim kontinentaleuropäischen System der Fall. Während die Größen von Kinder-, Herren- und Damenschuhen vergleichbar sind, trifft dies nicht notwendigerweise auf die Größen verschiedener Schuhtypen zu.
- Eine weitere Methode ist, einem Schuh mit einer vorgegebenen Länge, nämlich der kleinsten für praktikabel erachteten Länge, die Größe 0 oder 1 zuzuweisen. Es können unterschiedliche Nullpunkte für Kinder-, Jugend-, Herren- und Damenschuhe gewählt werden; in diesem Fall sind die Schuhgrößen nicht direkt miteinander vergleichbar. Dies ist beispielsweise beim UK- und US-System der Fall; ein Damenschuh der US-Größe 8 weist eine andere Länge auf als ein Herrenschuh der US-Größe 8.
Durch die unterschiedlichen Nullpunkte, die sich darüber hinaus auf unterschiedliche Bezugsgrößen beziehen, ergeben sich weitere Probleme beim Umrechnen von Schuhgrößen. So unterscheiden sich beispielsweise english size und american size um ein zwölftel Zoll, also um 2,12 mm. Die Schuhgröße UK 9 (english size) entspricht US 91⁄4 (american size). Dieser Umstand wird von vielen Schuhherstellern ignoriert, sodass selbstdefinierte Größenumrechnungen einzelner Hersteller die Situation der Systemvielfalt künstlich vergrößern und eine direkte Vergleichbarkeit der Größenangaben verschiedener Hersteller oft unmöglich machen. So rechnen manche Hersteller statt mit dem tatsächlichen Unterschied beider Systeme von 1⁄12 Zoll mit einer halben Größe (2⁄12 Zoll), andere wiederum mit einer ganzen Größe als Differenz zwischen amerikanischer und englischer Größe. Nur eine Minderheit rechnet mit einem Größenunterschied von 1⁄12 Zoll.
Fußweite oder -breite
.svg.png)
Daneben gibt es einige Systeme, die die Fußweite oder -breite berücksichtigen.
- Die gemessene Fußbreite wird einfach in mm angegeben. Dies ist zum Beispiel beim Mondopoint-System der Fall.
- Die gemessene Fußbreite oder das Ballenmaß wird einem Kennbuchstaben zugeordnet, der in Abhängigkeit von der Länge (oder Längengröße) einer Tabelle entnommen wird. Der gleiche Kennbuchstabe entspricht daher bei unterschiedlichen Schuhlängen unterschiedlichen Maßen. Beispiele für solche Angaben sind:
- A, B, C, D, E, EE, EEE, EEEE, F, G, wie in Asien üblich
- 4A, 3A, 2A, A, B, C, D, E, 2E, 3E, 4E, 5E, 6E, wie mit dem Brannock-Gerät für US-Größen gemessen
- N (narrow), M (medium) oder R (regular), W (wide)
- W (weit), M (mittel), S (schmal)
- In Europa gebräuchliche Größenklassen beginnen bei E und reichen bis M[3][4]
- Normalweite:
- E … schmale Füße
- F … schlanke Füße
- Komfortweite:
- G … normale Füße
- Bequemweite:
- H … kräftige Füße
- J … Füße mit Überweite
- Spezialweite:
- K … Füße mit Überweite
- L … bandagierte Füße
- M … Füße mit Extra-Überweite
Wird die Weite angegeben, folgt die Angabe in der Regel der numerischen Angabe für die Länge.
Verbreitete Größensysteme
Mondopoint
Bei Mondopoint handelt es sich um ein international genormtes System zur Angabe von Schuhgrößen. Die aktuelle Version wird in ISO 9407:2019[5] beschrieben. Anders als bei den meisten anderen Systemen wird nicht nur die Fußlänge, sondern auch die -breite berücksichtigt.
Die Größe entspricht den Abmessungen des Fußes in Länge und Breite und wird in Millimetern angegeben. Die Schuhgröße von 280/110 beispielsweise entspricht einer Fußlänge von 280 mm und einer Fußbreite von 110 mm. Durch die Verwendung des Fußmaßes und die Berücksichtigung der Fußbreite erlaubt Mondopoint eine verlässliche Angabe der Passgenauigkeit. Deshalb wird es beispielsweise bei der NATO und der Bundeswehr verwendet.
Europäische Größe (EU/D/F/I)
Das kontinentaleuropäische System (deutsches, italienisches, französisches System) gibt die Innen- oder die Leistenlänge in Pariser Stich (2⁄3 cm = 6,6 mm) an.
Die Schuhgröße ergibt sich folgendermaßen:
- Schuhgröße (EU) = Innenlänge in cm × 1,5
Bezogen auf die Fußlänge muss zunächst eine Zugabe von ca. 15 mm addiert werden:
- Schuhgröße (EU) ≈ (Fußlänge in cm + 1,5) × 1,5 = Fußlänge in cm × 1,5 + 2,25
Da das System nicht genormt ist, weichen die Größenangaben bei verschiedenen Herstellern und Schuhtypen oft voneinander ab. Es werden sowohl unterschiedliche Zugaben als auch unterschiedliche Bezugsgrößen (Leistenlänge statt Innenlänge), mitunter auch unterschiedliche Schrittweiten zwischen den Größen (beispielsweise 5 mm statt 6,67 mm) verwendet. Gelegentlich unterscheiden sich selbst die Größenangaben für Länder, die beide das kontinentaleuropäische System verwenden (beispielsweise Frankreich und Deutschland).
Britische Größe (UK)
Das britische oder englische System gibt die Leistenlänge in Barleycorns (1⁄3″ = 8,46 mm) an und ist ebenfalls nicht standardisiert. Die Skala beginnt bei der kleinsten praktikablen Größe von 12 Barleycorns = 101,6 mm mit der Kindergröße 0; an die Kindergröße 131⁄2 schließt sich die Erwachsenengröße 1 (26 Barleycorns = 22,0 cm) an.[6]
Die Schuhgröße wird hierbei folgendermaßen bestimmt.
- Kindergröße (UK) = Leistenlänge in Zoll × 3 − 12
- Kindergröße (UK) = Leistenlänge in cm ÷ 2,54 × 3 − 12
- Erwachsenengröße (UK) = Leistenlänge in Zoll × 3 − 25
- Erwachsenengröße (UK) = Leistenlänge in cm ÷ 2,54 × 3 − 25
Amerikanische Größe (US)
Besonders unübersichtlich ist die Situation in den USA, wo unterschiedliche Systeme genutzt werden oder wurden, die zudem jeweils getrennte Skalen für Kinder-, Herren- und Damenschuhe verwenden. Die Skalen beruhen zwar alle auf der Einheit barleycorn, gehen aber von verschiedenen Nullpunkten aus, sodass sie gegeneinander verschoben sind. In jüngerer Zeit scheinen sich die Größenangaben nach dem Brannock-System durchzusetzen.
Traditionell
Das traditionelle amerikanische System gibt die Leistenlänge wie das UK-System in Barleycorns (1⁄3″ = 8,46 mm) an, die Skala beginnt jedoch bei 113⁄4 Barleycorns (311⁄12″ = 99,483 mm) mit der Kindergröße 0, die somit der europäischen Schuhgröße 15 (100 mm) entspricht. Die Erwachsenengrößen begannen dabei zunächst genauso wie im UK-System mit der Größe 1 nach der Kindergröße 13, sodass die US-Größen generell um eine Viertelgröße (11⁄12″) unter den englischen lagen.[6]
- Kindergröße (US) = Leistenlänge in Zoll × 3 − 113⁄4
- Erwachsenengröße (US) = Leistenlänge in Zoll × 3 − 243⁄4
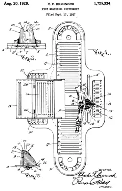
Brannock-System

Eine genauere Methode zur Bestimmung der US-Größen basiert auf einem Messgerät des Schuhverkäufers Charles Brannock, dem Brannock-Gerät (engl. Brannock Device),[7] mit dem Fußlänge und Fußbreite gemessen werden. Dabei wird einer Fußlänge von 72⁄3 Zoll die Herrengröße 1 oder die Damengröße 2 zugewiesen.[8] Mit einer Zugabe von 1,5 oder 2 Barleycorns (1⁄2 Zoll = 12,7 mm oder 2⁄3 Zoll = 16,9 mm) ergeben sich 81⁄6 Zoll (207,4 mm) oder 81⁄3 Zoll (211,7 mm) für die Leistenlänge. Damit liegen die Herrengrößen nach Brannock um anderthalb oder eine Größe über den UK-Größen.[6] Heute wird meist mit einer Zugabe von 2 Barleycorns gerechnet:
- Herrengröße (US) = Fußlänge in Zoll × 3 − 22
- Herrengröße (US) = Fußlänge in cm ÷ 2,54 × 3 − 22
- Damengröße (US) = Fußlänge in Zoll × 3 − 21
- Damengröße (US) = Fußlänge in cm ÷ 2,54 × 3 − 21
Bei Kindergrößen wird eine zusätzliche Zugabe hinzugerechnet, die das Wachstum der Füße berücksichtigt.[9] Letztlich wird damit auch im Brannock-System die traditionelle Skala verwendet und es gilt:
- Kindergröße (US) = Fußlänge in Zoll × 3 − 93⁄4.
Neben der Länge der Fußsohle wird auch die Länge zwischen Ferse und breitester Stelle des Fußes gemessen. Hierzu ist auf dem Gerät eine weitere, kürzere Skala angebracht. Zeigt das Gerät hier eine größere Größe an, wird diese anstelle der Fußlänge verwendet.[9]
Daneben wird die Breite gemessen und mit den Kennbuchstaben AAA, AA, A, B, C, D, E, EE, und EEE angegeben. Die Breiten liegen 3⁄16 Zoll auseinander, sind aber je nach Schuhgröße unterschiedlich breit.[8] Breite D gilt als normal, beträgt in Herrengröße 2 genau 3 Zoll (76,2 mm) und nimmt mit jeder ganzen Größe um 1⁄8 Zoll (3,175 mm) zu.
Asien
Das asiatische System ist metrisch und zum Beispiel in JIS S 5037:1998 (Japan), CNS 4800, S 1093 (Taiwan) oder KS M 6681 (Südkorea) normiert. Es werden Fußlänge und Fußumfang berücksichtigt.[10] Die Fußlänge wird in Zentimetern angegeben, wobei eine Abstufung von 5 mm verwendet wird.
Daran schließen sich Kennbuchstaben für das Ballenmaß an (A, B, C, D, E, EE, EEE, EEEE, F, G); hierzu wird der Umfang an der breitesten Stelle gemessen und der Kennbuchstabe in Abhängigkeit von der Fußlänge einer Tabelle entnommen, wobei verschiedene Tabellen für Herrenschuhe, Damenschuhe und Kinderschuhe (unter zwölf Jahre) verwendet werden. Aus den Tabellen kann auch jeweils die entsprechende Fußbreite entnommen werden. Je nach Land und Geschlecht werden nicht alle Weiten verwendet, zum Beispiel gehen die Fußweiten bei Damenschuhen nach dem taiwanischen Standard bis EEEE, nach dem japanischen bis F. Auch die kleinste und größte Größe ist je nach Tabelle unterschiedlich.
In Japan kombiniert ein Hersteller dieses System mit einer Angabe der Fußbreite mit den Kennbuchstaben N (narrow), M (medium) und W (wide), um verschiedenen Spannhöhen – und damit verschiedenen Verhältnissen zwischen Fußbreite und -umfang – Rechnung zu tragen.[11]
Umrechnungstabellen und vom Hersteller angegebene Größen
Bei der Verwendung der Umrechnungstabelle ist zu berücksichtigen, dass es sich um theoretisch berechnete Maße handelt. Die vielen nebeneinander existierenden Schuhgrößensysteme lassen direkte Vergleiche (Umrechnungen) nur bedingt zu, da die Systeme oft nur teilstandardisiert sind. Deshalb sind daraus für den Schuhkauf nur bedingt verwertbare Aussagen hinsichtlich der zu erwartenden tatsächlichen Schuhgröße oder Passform abzuleiten.
Abweichungen zu Herstellerangaben oder anderen Tabellen ergeben sich insbesondere aus folgenden Umständen.
- Die Systeme sind nur teilweise standardisiert. Abweichungen, die sich bei verschiedenen Herstellern durch unterschiedliche Messmethoden, Fertigungsverfahren und Toleranzen ergeben,[2] werden zum Teil einzelnen Ländern zugeordnet. Eine „deutsche“ Größe kann dann scheinbar von einer „französischen“ abweichen.
- Unterschiedliche Schuhbreiten führen dazu, dass bei breiten Füßen ein mehrere Größenstufen größerer und eigentlich zu langer Schuh erforderlich ist, um die erforderliche Breite zu erreichen. Auch dies kann zu abweichenden Größen führen, insbesondere wenn verschiedene mittlere Weiten verschiedenen Ländern oder Systemen zugeordnet werden.
- Einige Tabellen berücksichtigen bei Kindergrößen bereits einen zusätzlichen Spielraum für das Wachstum der Füße. Die Schuhgröße wird dann größer angegeben als sie der tatsächlichen Fußlänge entspricht.[9]
- Eine Angabe in cm (oder Zoll) kann sich sowohl auf die Länge des Fußes als auch auf die Innensohlenlänge beziehen. Diese Beziehung ist nicht konstant, sondern variiert aufgrund unterschiedlicher Zugaben je nach Schuhtyp.
- Es gibt mehrere gebräuchliche US-Systeme, die sich – insbesondere bei anderen als mittleren Schuhgrößen – stark unterscheiden. Einige Hersteller verwenden ferner ein eigenes System.
- Einige im Internet erhältliche Tabellen und Angaben bestimmter Hersteller enthalten auch schlicht Fehler. Beispielsweise wird die Zugabe nicht oder falsch berücksichtigt oder es werden verschiedene Tabellen kombiniert, deren Zentimeter- oder US-Angabe sich auf unterschiedliche Bezugsgrößen oder Systeme beziehen.
Insbesondere Sportschuhe fallen oftmals erheblich kleiner aus, als die angegebenen Größen erwarten lassen. Beispielsweise empfiehlt Nike für einen 10,5 Zoll (= 26,67 cm) langen Fuß einen Schuh in Größe Euro 43 und US 9,5 unter Verwendung der Brannock-Skala und setzt dies mit UK 8,5 und cm 27,5 gleich.[12] Für die europäische Größe rechnet Nike dabei recht großzügig mit einer Zugabe von 2 cm. Europäische, US- und UK-Größen stimmen sehr gut überein, die Leistenlänge sollte demnach 28,4 oder 28,7 cm betragen. Worauf sich die cm-Angabe bezieht, ist unklar. Tatsächlich aber weist ein Nike Tiempo Mystic TF in besagter Größe eine Innenlänge von 27,0 cm auf, die äußere Sohlenlänge kommt auf 28,5 cm. Der Schuh entspricht damit Euro 40,5 und UK 6,9 und ist für den Fuß, für den Nike ihn empfiehlt, mindestens 1 cm zu kurz, Blasen und Aufscheuern der Zehenspitzen wären unumgänglich.
Kindergrößen
Kinderfüße wachsen im Jahr durchschnittlich um 2 bis 3 europäische Schuhgrößen (je nach Alter).[13] Die Füße von Kindern sind bei gleicher Länge unterschiedlich breit und hoch. Ein Maß dafür ist die Weite, gemessen über die Ballenpunkte um den Fuß. Kinderfüße benötigen eine angemessene Weite der Schuhe. Der Schuhinnenraum muss mindestens die Länge des dynamisch belasteten Fußes haben. Da Kinderfüße wachsen, kommt eine Wachstumsreserve hinzu. Ein Beispiel: Ein Kinderfuß mit der Länge von 185 mm benötigt einen Schuh mit etwa 15 mm Spielraum. Die notwendige Innenlänge von 200 mm entspricht EU-Schuhgröße 32.
Erwachsenengrößen
Zwischen den verschiedenen Herstellern gibt es immer wieder Abweichungen nach oben und unten. Auch gibt es viele verschiedene Tabellen, teilweise mit nicht offiziellen Zwischenwerten.[14] Die Umrechnungs-Tools im Internet liefern daher auch häufig unterschiedliche und falsche Werte. Die folgende Tabelle ist aus den o. g. Formeln berechnet:
Mustergrößen und die häufig verkauften Schuhlängen
Da es in den letzten Jahrzehnten an aktuellen statistischen Erhebungen über Fußmaße (Längen, Umfänge, Formen, Proportionen) mangelt und die vorhandenen Daten, auf die sich die Industrie bezieht, längst veraltet sind, weichen die von der Schuhindustrie verwendeten Mustergrößen (Größe 37 für Damen und 43 für Herren) von den meistgekauften Schuhlängen (Damengröße 39 beziehungsweise 44 für Herren) ab. Eine großangelegte Studie aus dem Jahr 2009 ergab jedoch, dass die meisten Deutschen zu große Schuhe tragen. In Deutschland ist bei Männern Schuhgröße 42 (19 %) am häufigsten, bei Frauen 38 und 39 (je 22 %).[15][16]
Tatsächliche Fußmaße der Bevölkerung
Die 2010 abgeschlossene erste große Reihenuntersuchung seit 60 Jahren, durchgeführt vom Prüf- und Forschungsinstitut Pirmasens (PFI) an 5200 Männern und Frauen in Deutschland, brachte unerwartete Ergebnisse. Die Streuung der Fußweiten, -längen und -formen ist viel größer als erwartet. Die bisher bei Schuhen gewöhnlicher Verkaufspreise gelegentlich anzutreffenden zwei Weiten ein und desselben Schuhmodells gleicher Länge werden nur etwa 17 Prozent der Schuhträger gerecht. Um der real existierenden Vielfalt gerecht zu werden, müsste auf 18 verschiedene Weiten ausgebaut werden. Jede neue Weite bedingt fünfstellige Investitionssummen und 18 Weiten erlauben seitens des Schuhhandels keine übliche Lagerbevorratung. Immerhin wäre 60 Prozent der Kunden bereits durch vier verschiedene Weiten mit passenden Schuhen gedient.[15][16]
Die Vermessung von 20.000 Kinderfüßen durch die Universität Potsdam zeigt, dass die Kinderfüße im Laufe der letzten Jahrzehnte breiter geworden sind. Daraufhin wurde das WMS-System von fünf auf sieben Weiten ausgedehnt.
Literatur
- Alexander Besching: Handbuch für die Schuhindustrie. 14. Auflage. Hüthig, Heidelberg 1990, ISBN 3-7785-1916-6.
- Anne Sudrow: Der Schuh im Nationalsozialismus. Eine Produktgeschichte im deutsch-britisch-amerikanischen Vergleich. Wallstein, Göttingen 2010, ISBN 978-3-8353-0793-3 (Gekürzte Fassung der Dissertation Universität München 2009, 876 Seiten).
- Deutsches Schuh-Institut: Wie finde ich meinen passenden Schuh? Deutsches Schuh-Institut, Offenbach am Main 2009, ISBN 978-3-00-031523-7.
Weblinks
- Umrechnen Schuhgröße
- International Shoe Size Conversion (englisch)
- Wissenschaftliche Publikation zum Nachweis von Fußschäden durch zu kurze Kinderschuhe (englisch)
- Schuhgrößentabelle
Einzelnachweise
- ↑ Alexander Besching: Handbuch für die Schuhindustrie. 14. Auflage. Hüthig, Heidelberg 1990, S. 167, 216 f.
- ↑ a b Andersson, Bendt: Recommendations to suppliers and manufacturers of orthopedic footwear concerning sizes of shoes and lasts. (PDF; 358 kB) Abgerufen am 6. Januar 2009 (englisch).
- ↑ Berechnung der Fußweite bei Vamos-Schuhe.de
- ↑ Ermittlung der Größenklassen bei Baur.de (Seite nicht mehr abrufbar, festgestellt im Mai 2019. Suche in Webarchiven) Info: Der Link wurde automatisch als defekt markiert. Bitte prüfe den Link gemäß Anleitung und entferne dann diesen Hinweis.
- ↑ ISO 9407:2019
- ↑ a b c Alexander Besching: Handbuch für die Schuhindustrie. 14. Auflage. Hüthig, Heidelberg 1990, S. 170.
- ↑ a b Patent US1725334A: Foot-measuring instrument. Angemeldet am 17. September 1927, veröffentlicht am 20. August 1929, Erfinder: Charles F. Bannock.
- ↑ a b Brannock Device Co.: History. Abgerufen am 6. Januar 2009 (englisch).
- ↑ a b c Brannock Device Co.: Instructions. Abgerufen am 6. Januar 2009 (englisch).
- ↑ 【楽天市場】靴のサイズ表示について:博多よかもん屋 ( vom 24. Februar 2012 im Internet Archive)
- ↑ ginza-yoshinoya.co.jp ( vom 16. März 2005 im Internet Archive)
- ↑ http://help-us.nike.com/app/answers/detail/a_id/16372/session/L3RpbWUvMTM0MDM4MTc1NC9zaWQvWHB4ZnJqX2s%3D http://store.nike.com/emeastore/plugins/help/html/Sizing_mens_footwear_de.html
- ↑ Welche Vorgaben muss ein Kinderschuh nach WMS erfüllen. Fachinformation zu WMS. Abgerufen am 3. Januar 2012.
- ↑ Umrechnungstabelle für Schuhgrößen — Damen und Herren. Abgerufen am 22. November 2023 (englisch).
- ↑ a b Wie finde ich meinen passenden Schuh? Deutsches Schuh-Institut 2009.
- ↑ a b Schuhgrößen : Deutsche leben auf immer breiterem Fuß ( vom 23. November 2010 im Internet Archive), Der Westen (WAZ) 28. August 2009.