Ruder

Das Ruder (in der Luftfahrzeugtechnik auch Steuerfläche genannt[1]) ist die Einrichtung eines Schiffes oder Flugzeuges, die zur Richtungsänderung dient, indem es Drehmomente aus dem umströmenden Medium erzeugt. Dies gilt für Schiffe (bei diesen ist der Begriff Steuerruder ebenfalls üblich) mit dem umströmenden Medium Wasser und für Flugzeuge oder Luftschiffe mit dem Medium Luft.
Ein Ruder kann nur dann eine Steuerwirkung entfalten, wenn es durch Fortbewegung des Fahrzeugs von dem tragenden Medium (meist Luft oder Wasser) umströmt wird. Die Steuerwirkung ist umso ausgeprägter, je mehr das Ruder quer zur Fahrtrichtung angestellt wird, je größer seine wirksame Fläche ist und je schneller sich das Fahrzeug innerhalb des Trägermediums (Luft oder Wasser) bewegt.
Begriff
Allgemeinsprachlich wird der Ausdruck „Ruder“ auch für die Fortbewegungsruder (Riemen oder Skulls) eines Ruderbootes verwendet. Fachsprachlich ist mit einem Ruder dagegen stets ein Steuerruder gemeint. Das Bedienen eines Riemens oder Skulls zur Fortbewegung eines Schwimmkörpers heißt allerdings auch in der Fachsprache korrekt „rudern“. Die Bedienung eines Steuerruders heißt dagegen „Steuern“ oder „Rudergehen“.


Der etwas verwirrende Sprachgebrauch rührt daher, dass die begriffliche Unterscheidung zwischen Ruder und Riemen relativ jung ist. Ursprünglich war das Steuerruder, auf Latein auch gubernaculum („Leiteinrichtung“) oder clavus („Nagel“) genannt, einfach ein besonders großer, am Heck oder auch an anderer Stelle der Schiffswand befestigter Riemen und die übrigen, der Fortbewegung dienenden Riemen (lat. remus), die im Prinzip dieselbe Form wie das zum Steuern verwendete Ruder besaßen, wurden davon sprachlich nicht unterschieden. Deshalb lässt sich „Ruder“ im allgemeinen Sprachgebrauch bis heute unproblematisch als Sammelbezeichnung für Steuerruder und Fortbewegungsruder (Riemen) auffassen.
Steuermann ist eine immer noch gebräuchliche ältere Bezeichnung für den nautischen Wachoffizier eines Schiffes. Der Rudergänger dagegen steuert das Schiff tatsächlich, in der Regel nach den Vorgaben des zuständigen nautischen Offiziers (z. B. Einträge in Seekarten oder Ruderkommandos). Der Rudergänger ist also stets die Person, die zu einem gegebenen Zeitpunkt am Ruder ist, ungeachtet der Frage, ob sie den Rang oder die Funktion eines Steuermannes innehat. In der Freizeitschifffahrt bezeichnet „Steuermann“ hingegen den Rudergänger. Weder in der Berufsschifffahrt noch in der Freizeitschifffahrt ist der Rudergänger notwendigerweise auch der Schiffsführer bzw. Kapitän.
Geschichte
Die Schiffe in der Antike hatten zumeist zwei Ruder, die achtern an jeder Seite angebracht waren, die späteren Wikingerlangschiffe ein seitliches Ruder. Die Hansekoggen im Mittelalter hatten dagegen ein Heckruder. Der erste Beleg aus dieser Zeit ist eine Wandzeichnung aus dem 13. Jahrhundert in der Kirche von Fide (Gotland).[2] Die Pinne dieses dort deutlich größeren Ruders wurde mit dem als zusätzlicher Hebel dienenden Kolderstock bewegt.[3] Das Seitenruder ist heute noch beim Steinhuder Torfkahn bekannt.
Ein zentrales Heckruder fand sich bereits bei den Flussschiffen der Ägypter und Römer. Die Entwicklung verlief wohl von China über den arabischen Raum bis nach Nordeuropa, wo es seit dem frühen 12. Jahrhundert nachgewiesen ist.[4]
Ruderanlagen
Bei den Ruderanlagen heutiger moderner Seeschiffe wird der gewünschte Kompasskurs am Steuerstand auf der Kommandobrücke in die Selbststeueranlage eingegeben, welche das Ruder bedient. Der Kurs des Schiffes wird jetzt permanent mit der Kompasslage verglichen und das Ruderblatt entsprechend nachgestellt. Dieser Vorgang geschieht kontinuierlich, sodass die Ruderanlage eines der höchst beanspruchten Geräte auf einem Schiff ist. Das traditionelle große Steuerrad wird nur noch zum Manövrieren gebraucht, falls es nicht ebenfalls durch einen Joystick ersetzt worden ist. Ein Ruderlagenanzeiger auf der Kommandobrücke des Schiffes zeigt immer die Lage des Ruderblattes an.
Es gibt verschiedene Arten von Ruderantrieben: Den so genannten Ruderquadranten, wobei der Rudertrieb mechanisch über ein Schneckengetriebe erfolgt, sowie hydraulische Rudermaschinen. Letztere arbeiten entweder mit offenliegenden Hydraulikstempeln oder als sogenannte Drehflügel-Anlagen. Bei Ausfall der Bordelektrik kann jede Ruderanlage mit einer Noteinstellung oder einer Noteinspeisung gefahren werden.
-
Steuerrad in einem Steuerstand
-
Das Steuerrad überträgt die Ruderbefehle mittels eines Seils oder einer Kette auf den Ruderquadranten, der das Ruder bewegt. -
Ruderquadrant -
Fahrtenyacht mit Doppelrad-Steueranlage (und, gut sichtbar, Doppelruder) -
Steuerrad eines Segelschiffs. Gut erkennbar ist die Marke, mit der die Neutrallage des Ruders identifiziert werden kann -
Eine von zwei hydraulischen Rudermaschinen der Nordic
Bei Booten der Freizeitschifffahrt oder kleinen Fischerbooten wird das Ruder auch heute noch unmittelbar mit einer Pinne bewegt. Der Rudergänger nimmt hierbei die Kräfte am Ruder direkter wahr. Die Mechanik einer reinen Pinnensteuerung ist bedeutend einfacher und nimmt weniger Platz in Anspruch als die Steuerung per Steuerrad. Die Drehbewegung am Steuerrad (ship’s wheel) wird über Seile oder Ketten und Umlenkrollen auf den Ruderquadranten (Pinne) übertragen. An der Achse des Ruderquadranten (dem Ruderschaft) ist direkt das Ruderblatt befestigt. Die Steuerseile sind so geführt, dass eine Drehung des Rades nach links (gegen den Uhrzeigersinn) zu einer Kursänderung des Bootes nach Backbord führt. Mit einer Radsteuerung ausgestattete Boote führen eine Notpinne mit, die direkt auf den Ruderschaft gesteckt werden kann, für den Fall, dass die Mechanik versagt, etwa wegen Bruches der Steuerseile.[5] Auf größeren Segelbooten sind Doppelradanlagen verbreitet, wobei beide Räder mechanisch gekoppelt sind. Dadurch, dass sich beide Räder synchron bewegen, kann der Rudergänger immer in Luv steuern. Im Gegensatz zu Motorbooten, deren Steuerräder denen von Autos ähneln und überwiegend hydraulisch unterstützt werden[6], sind die Räder von Segelyachten den historischen Segelschiffsrädern mit ihren großen Durchmessern noch sehr ähnlich, denn Servomotoren zur Unterstützung der Kräfte sind wegen des Strombedarfs nicht üblich. Auch Autopiloten sind nicht standardmäßig vorhanden. Fahrtensegler verwenden häufig mechanische Windfahnensteuerungen, weil diese ohne elektrische Energie auskommen.
Das Steuerrad eines Segelschiffs ist nicht mit einer Rückstellfeder versehen, die das Ruder automatisch wieder in die Mittellage bewegt, wenn das Rad losgelassen wird. Das Steuerruder wird zum Ausgleich der konstruktionsbedingten Luvgierigkeit des Bootes benötigt und ist daher nicht notwendigerweise mittig ausgerichtet, wenn das Boot geradeaus fährt. Abhängig von der Form des Ruders und der Balancierung (Position des Drehpunktes in Relation zur Länge des Ruderblatts) wird das Ruder beim Loslassen des Rades oder der Pinne recht schnell in einen Anschlag gehen und das Boot damit eine unkontrollierte Kurve fahren. Die Räder sind hingegen häufig mit einer Feststellschraube versehen, die bei einer einmal eingestellten, sauberen Trimmung des Bootes das Ruder in seiner Lage hält und das Schiff auch ohne Autopilot auf Kurs halten kann – vorausgesetzt der Wind ist konstant und die See relativ flach.
Da dem Steuerrad von sich aus die Ruderlage nicht angesehen werden kann, wird zur einfacheren Orientierung die Mittelstellung meist farblich markiert oder das Schiff ist mit einem Ruderlagenanzeiger versehen.
Bauformen von Rudern und ihren Teilen
Die Tabelle zeigt einige der gebräuchlichen Formen für Schiffsruder.[7]
![]() |
Heckruder europäischer Segelschiffe im Zeitalter der Entdeckungen (sogenanntes Scharnierruder). 1: Ruder; 2: Oberes Ruderscharnier; 3: Unteres Ruderscharnier; 4: Achtersteven; 5: Planken |
![]() |
Festes Ruder am Kiel eines Dampfschiffes |
| Skegruder. Der Skeg (Ruderleitflosse) dient als Befestigungspunkt. | |
| Balanceruder an einem Motorschiff. Etwa 1/4 der Ruderfläche liegt vor der Achse. Ein Balanceruder bewegt sich normalerweise nicht selbstständig, auch wenn das Steuer losgelassen wird. Das Ruder wird für optimale Manövriereigenschaften direkt von der Schraube angeströmt. | |
![]() |
Halbschwebe-Ruder: die obere Vorkante des Ruders ist als Ruderhacke (Skeg) starr mit dem Rumpf verbunden, stützt das Ruder mit einem Lager und dreht sich nicht mit. Vorteil: das Ruder ist in seiner Mitte zusätzlich gelagert. Biegemomente aus Querbelastung des Ruderblatts (Auftriebskräfte) müssen nicht vom Ruderstevenrohr aufgenommen werden. Nachteil: bei gelegtem Ruder ist die Konfiguration sehr zerklüftet, was zu Kavitationsproblemen führen kann. Außerdem treten in den hohlen Ecken des Ruderblatts eventuell Betriebsfestigkeitsprobleme (Ermüdungsrisse bis hin zum Verlust des halben Ruderblatts) auf. |
![]() |
Becker-Ruder, auch Becker-Klappenruder: Das Ruder hat am Hinterende eine Flosse, die beim Legen des Ruders die Umlenkung verstärkt. |
![]() |
Kombiniertes Seitenruder und Tiefenruder eines U-Bootes, die Achse des anströmenden Propellers ist auf den Kreuzpunkt der beiden jeweils paarigen Ruderblätter ausgerichtet. |
![]() |
Festes Ruder am Heck (konventionelle Form) |
![]() |
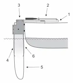
Senkruder einer Jolle. Dieses ist am Heck angehängt und kann bei Bedarf aufgeholt werden, um beispielsweise auf den Strand zu fahren, ohne das Ruder zu beschädigen. 1: Pinne; 2: Pinnenausleger; 3: Ruderschaft; 4: Aufhohlleine; 5: Ruderblatt; 6: Absenkleine |
![]() |
Doppelsteueranlage einer Rennsegelyacht. Durch die Verwendung zweier schrägliegender Ruderblätter wird die Anströmung bei Krängung auf dem jeweils unteren Blatt optimiert. Das obere kommt aus dem Wasser |
| Freistehendes, vorbalanciertes Spatenruder einer modernen Fahrten-Segelyacht. Das Ruder einer Segelyacht ist vergleichsweise tief und großflächig, denn die direkte Anströmung durch den Propeller fehlt. Auch bei Krängung muss das Ruder im Wasser bleiben und darf nicht in die Verwirbelungen des Rumpfes geraten, um einen Strömungsabriss und damit einen unerwünschten Sonnenschuss zu vermeiden. |
Sonderbauformen:

- Aktivruder: Ein Ruder mit integriertem (kleinen) Propeller, der das Schwenken des Schiffes bei niedriger Geschwindigkeit unterstützt
- Costa-Birne (Spatenruder): Eine horizontale tropfenförmige Verdickung des Ruders im Propellerstrahl.
- Schilling-Ruder: Das Ruder hat kein herkömmliches tropfenförmiges Profil, sondern eine abgeschnittene Hinterseite mit zwei scharfen Abrisskanten.
- Spatenruder: Das gesamte Ruder ist als trapezförmige Flosse drehbar und nur im Innern des Rumpfes gelagert.
- Balanceruder: Der Drehpunkt des Ruders befindet sich nicht an der Vorderkante des Ruders, sondern etwas dahinter. Dadurch vermindert sich der Kraftaufwand beim Ruderlegen, denn ein Teil der Strömung wirkt in Richtung der Ruderlage.
- Twisted Spade Rudder: Obere und untere Hälfte der Vorkante sind gegeneinander verdreht, um sich dem Drall im Propellerstrahl anzupassen. Absicht sind geringere Energieverluste bei Geradeausfahrt, nicht eine bessere Ruderwirkung.
- Kopfruder: Das Ruderblatt befindet sich im Bug, beispielsweise beim Schubleichter.
- X-Ruder: Es besteht aus vier diagonal angeordneten Ruderblättern am Heck eines U-Bootes
Als Querstrahlruder (im Wortsinn eigentlich kein Ruder) bezeichnet man eine dem besseren Manövrieren dienende Einrichtung zum seitlichen Bewegen des vorderen oder hinteren Schiffsendes.
Siehe auch:
Luft- und Raumfahrt


Auch bei Flugzeugen spricht man bei den Leiteinrichtungen der Flugsteuerung von Rudern bzw. allgemeiner von Steuerflächen.[1] Die beweglichen Ruder bilden zusammen mit den starren Flossen das Leitwerk zur Flugsteuerung des Flugzeugs:
- das Höhenruder zur Lagesteuerung um die Querachse,
- das Seitenruder zur Lagesteuerung um die (vertikale) Hochachse,
- das Querruder an der Hinterkante der Tragflächenenden zur Lagesteuerung um die Längsachse.
Innerhalb der Erdatmosphäre kann bei Raketen das gleiche Ruder-Prinzip wie bei Flugzeugen zur Anwendung kommen, zusätzlich können Leitflächen im Abgasstrahl durch Umlenkung des Abgasstrahls entsprechende seitliche Lenkkräfte ausüben.
Literatur
- Olaf Höckmann: Antike Seefahrt. C.H. Beck, München 2001. ISBN 3-406-30463-X
- Lawrence V. Mott: The Development of the Rudder, A.D. 100-1600. A Technological Tale. (PDF; 25,2 MB) Thesis. Texas A&M University, May 1991.
- Ruder, technische Details einschließlich Arbeitsweise eines Jenckel-Ruders. Auf universallexikon.deacademic.com
- Zeitschrift Schiffs-Modell Nr. 9/2012; enthält unter anderem ein Kapitel zum Jenckel-Ruder; Neckar-Verlag
Weblinks
Einzelnachweise
- ↑ a b Flugsteuerung. In: Cord-Christian Rossow, Klaus Wolf, Peter Horst (Hrsg.): Handbuch der Luftfahrzeugtechnik. Carl Hanser Verlag, München 2014, S. 747 (google.de/books).
- ↑ Wolfram zu Mondfeld: Wikingfahrt. 1. Kulturreiseführer Dänemark, Norwegen, Norddeutschland. Bastei-Lübbe, 1988, ISBN 3-404-60212-9, S. 86.
- ↑ Heinrich Winter: Der Kolderstock. ( vom 28. Dezember 2014 im Internet Archive) In: Die Yacht, 1937, Heft 18, abgerufen am 28. Dezember 2014
- ↑ Björn Landström, Zeilschepen, Elsevier, Amsterdam/Brussel 1970, Seite 77
- ↑ Joachim Schult: Segler-Lexikon. Delius Klasing, Bielefeld 2008, ISBN 978-3-7688-1041-8, Stichworte Ruderquadrant und Ruderschaft
- ↑ Helge Janßen: Genug gesegelt? Fahr´ Motorboot! BOD, S. 63 f. (eingeschränkte Vorschau in der Google-Buchsuche).
- ↑ Bezeichnungen nach Seemannschaft. Handbuch für den Yachtsport. 28. Auflage, Delius Klasing, Bielefeld 2008, ISBN 978-3-7688-0523-0, S. 39.

_2012-03-24_14-25-40.jpg)




