RBK-500
| RBK-500 | |
|---|---|
|
| |
| Allgemeine Angaben | |
| Bezeichnung: | RBK-500 |
| Typ: | Streubombe |
| Herkunftsland: | |
| Hersteller: | SRPE Basalt |
| Entwicklung: | 1960er Jahre |
| Indienststellung: | 1960er Jahre |
| Einsatzzeit: | Im Dienst |
| Technische Daten | |
| Gefechtsgewicht: | 225–520 kg |
| Ladung: | Streumunition |
| Länge: | 1,50–2,49 m |
| Durchmesser: | 450 mm |
| Zünder: | Zeitzünder |
| Listen zum Thema | |
Der RBK-500 (russisch Разовая бомбовая кассета/РБК-500, Einweg-Bombenkassette) ist eine in der Sowjetunion entwickelte Streubombe. Von Flugzeugen und Hubschraubern abgeworfen wird sie zur Bekämpfung von Flächenzielen eingesetzt.
Entwicklung
Die RBK-500 wurde Ende der 1960er-Jahre von SRPE Basalt in Moskau entwickelt. Die verbesserte Ausführung RBK-500U wurde in den späten 1980er-Jahren entwickelt. Die RBK-500 wurde im Jahr 1993 erstmals der Öffentlichkeit präsentiert. Der Vertrieb erfolgt durch Aviaexport und Rosoboronexport.[1][2]
Technik
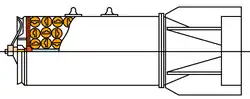
Von der RBK-500 existieren zwei unterschiedliche Ausführungen: Die RBK-500 und die RBK-500U. Beide Ausführungen verfügen über einen zylinderförmigen Rumpf mit einem kreisrunden Querschnitt. Die Ausführung RBK-500 wurde als erstes produziert. Sie hat eine stumpfe Bombenspitze und am Bombenheck sind acht Stabilisierungsflügel mit einem Boxwing montiert. Der Rumpf besteht aus einem Stahlrahmen mit einer Aluminiumhülle. Hinter der Spitze befindet sich der Zeitzünder. Es werden die Zünder ATK-EK und ATK-E bzw. TM-24A und TM-24B verwendet. Im Mittelbereich der Bombe befindet sich ein gelochtes Zentralrohr, in dem die pyrotechnische Ausstoßladung untergebracht ist. Angeordnet um das Zentralrohr befindet sich die Streumunition. Später wurde die RBK-500 modifiziert und mit einer flachen, ogiven Bombenspitze ausgestattet. Die später hergestellte Ausführung RBK-500U hat eine spitz zulaufende Bombenspitze und am Heck sind vier Stabilisierungsflügel montiert. Der Rumpf besteht aus einem Stahlrahmen mit einer Aluminiumhülle. Hinter der spitzen Bombenspitze befindet sich der Zeitzünder. In der Bombenhülle befindet sich ein Gehäuse mit einem Zentralrohr, an dessen im Heckteil der Bombe ein Fallschirm montiert ist.
Nach dem Abwurf der RBK-500 folgt diese zuerst einer ballistischen Kurve. Das Ausstoßen der Streumunition erfolgt bei den beiden Bombentypen unterschiedlich. Bei der ersten Ausführung RBK-500-Streubombe wird nach einer vorbestimmten Zeit die Bombenbeplankung weggesprengt. Durch die Zündung der Ausstoßladung sowie durch die Rotation der Bombe wird nun die Streumunition verteilt. Bei der späteren Ausführung RBK-500U öffnet sich nach einer vorbestimmten Zeit der Fallschirm im Bombenheck. Der Fallschirm zieht nun das Gehäuse (mit dem Zentralrohr), auf dem die Streumunition platziert ist, über das Bombenheck aus der Bombenhülle. Durch die Zündung der Ausstoßladung im Zentralrohr wird nun die Streumunition verteilt. Unabhängig vom Bombentyp verteilt sich die Streumunition nach dem Gießkannenprinzip über die Zielfläche. In Abhängigkeit von Flughöhe und Fluggeschwindigkeit verteilt sich die Streumunition über ein größeres oder kleineres Gebiet. Die RBK-500 kann aus einer minimalen Flughöhe von 60 m sowie in einem Geschwindigkeitsbereich von 200 bis 2300 km/h abgeworfen werden. Alle Bombentypen verfügen über 250 mm Bombenschlösser und können so an die Außenlaststationen verschiedener russischer Flugzeuge montiert werden.[1][3][4]
Varianten
RBK-500-225 PTAB 10-5
Diese Ausführung entstand in den späten 1960er-Jahren und ist mit 30 PTAB-10-5-Hohlladungs-Bomblets beladen. Dieses Bomblet gleicht einer kleinen Fliegerbombe. Es ist zylinderförmig und hat vier längliche Stabilisierungsflügel am Heck. Ein PTAB 10-5-Bomblet ist 36,5 cm lang, hat einen Durchmesser von 91 mm und wiegt 5 kg. Die Hohlladung kann 300 mm Panzerstahl durchschlagen. Der um die Hohlladung angebrachte Splittermantel wirkt auf eine Distanz von 5–10 m.[3][4][5]
| Bombe | Länge | Durchmesser | Spannweite | Gewicht |
| RBK-500-225 PTAB 10-5 | 1,50 m | 450 mm | 570 mm | 253 kg |
RBK-500-225 PTAB-2,5
Diese Ausführung entstand in den späten 1960er-Jahren und ist mit 30 PTAB-2,5-Hohlladungs-Bomblets beladen. Dieses Bomblet gleicht einer kleinen Fliegerbombe. Es ist zylinderförmig und hat vier längliche Stabilisierungsflügel am Heck. An der Bombletspitze befindet sich unter einer ballistischen Haube der ADTS-583-Aufschlagzünder. Ein PTAB-2,5-Bomblet ist 35,6 cm lang, hat einen Durchmesser von 60 mm und wiegt 2,5 kg. Die Hohlladung kann 120 mm Panzerstahl durchschlagen.[3][4][5]
| Bombe | Länge | Durchmesser | Spannweite | Gewicht |
| RBK-500-225 PTAB-2,5 | 1,50 m | 450 mm | 570 mm | 225 kg |
RBK-500-375 AO-10
Diese Ausführung entstand in den späten 1960er-Jahren und ist mit 50 AO-10-Splitterbomblets beladen. Im Aussehen ähneln die Bomblets einer Mörsergranate mit vier Stabilisierungsflügeln, um die ein Boxwing angebracht ist. Ein AO-10-Bomblet ist 61,2 cm lang, hat einen Durchmesser von 90 mm und wiegt 10 kg. Die Zündung erfolgt beim Aufschlag auf der Erdoberfläche. Das AO-10-Bomblet hat einen Splitterwirkungsradius von 10–20 m.[3][4][6]
| Bombe | Länge | Durchmesser | Spannweite | Gewicht |
| RBK-250 AO-1 | 1,50 m | 450 mm | 570 mm | 379 kg |
RBK-500 SchOAB-0,5
Diese Ausführung ist mit 546–565 SchOAB-0,5-Splitterbomblets beladen. Von diesen Bomblets existieren die Ausführungen SchOAB-0,5 und SchOAB-0,5M. Die Bomblets sind kreisrund und haben einen Durchmesser von 64 mm. Auf der Oberfläche sind vier aerodynamischen Rippen angebracht. Ein Bomblet wiegt rund 420 g mit einem Sprengstoffanteil von 85 g. Um den Sprengstoffkern sind 304 Stahlkugeln mit einem Durchmesser von 5,5 mm eingebettet. Die Bomblets verteilen sich über eine Fläche von 300 × 400 m und detonieren beim Aufschlag auf der Erdoberfläche oder mit einer kurzen Verzögerung.[1][5][7][8][9]
| Bombe | Länge | Durchmesser | Spannweite | Gewicht |
| RBK-500 ShOAB-0,5 | 1,95 m | 450 mm | 570 mm | 344–395 kg |
RBK-500 ZAB-2,5
Diese Ausführung ist mit 297 ZAB-2,5-Brandbomblets beladen. Die Bomblets haben eine zylinderförmige Rumpfgeometrie mit einer Länge von 24,4–24,9 cm, bei einem Durchmesser von 68 mm und einem Gewicht von 2,2–2,5 kg. Von diesen Bomblets existieren die Ausführungen ZAB-2,5, ZAB-2,5M und ZAB-2,5SM. Die ersten beiden Ausführungen besitzen eine Brandladung aus H-16/17-Thermit. Die Ausführung ZAB-2,5M verfügt über eine zusätzliche Sprengladung, welche mit einem Zeitzünder ausgelöst wird. Diese beiden Bomblets haben eine Brenndauer von 120–180 Sekunden. Die Ausführung ZAB-2,5SM hat eine Brandladung aus Thermit und OM-68-35-Napalm. Die Brenndauer beträgt 3–9 Minuten. Alle Bomblet-Ausführungen werden beim Ausstoß aus der Streubombe gezündet und fallen brennend auf die Erdoberfläche. Die Bomblets verteilen sich über eine Fläche von 20.000–80.000 m².[1][2][4][9][10]
| Bombe | Länge | Durchmesser | Spannweite | Gewicht |
| RBK-500 ZAB-2,5 | 1,95 m | 450 mm | 570 mm | 435 kg |
RBK-500 AO-1STsch
Diese Ausführung ist mit 273 AO-1STsch-Splitterbomblets beladen. Das AO-1STsch-Bomblet gleicht einer kleinen Fliegerbombe, ist 18,8 cm lang, hat einen Durchmesser von 49 mm und wiegt 0,997 kg. Die Zündung erfolgt beim Aufschlag auf der Erdoberfläche. Das AO-1STsch-Bomblet hat einen Splitterwirkungsradius von 8–12 m.[1][2][3][4][5]
| Bombe | Länge | Durchmesser | Spannweite | Gewicht |
| RBK-500 AO-1STsch | 1,95 m | 450 mm | 570 mm | 280 kg |
RBK-500 PTAB-2,5M

Diese Ausführung ist mit 268 PTAB-2,5-Hohlladungs-Bomblets beladen. Das PTAB-2,5M-Bomblet hat einen schlanken zylinderförmigen Rumpf an dessen Heck vier Stabilisierungsflügel, um die ein Boxwing angebracht ist. An der Bombletspitze ist der AWM-524M-Aufschlagzünder angebracht. Es existieren zwei Ausführungen von diesem Bomblet: ein kurzes und ein längeres. Die Bomblets sind 37,4–39,5 cm lang, haben einen Durchmesser von 68 mm und wiegen 2,5–2,8 kg. Die Hohlladung kann 200 mm Panzerstahl durchschlagen. Der um die Hohlladung angebrachte Splittermantel wirkt auf eine Distanz von 5–10 m.[2][4][5][11]
| Bombe | Länge | Durchmesser | Spannweite | Gewicht |
| RBK-500 PTAB-2,5M | 1,95 m | 450 mm | 570 mm | 225 kg |
RBK-500 PTAB-1M

Diese Ausführung ist mit 268 PTAB-1M-Hohlladungs-Bomblets beladen. Das Bomblet hat einen zylinderförmigen Rumpf an dessen Heck vier Stabilisierungsflügel, um die ein Boxwing angebracht ist. Die PTAB-1M-Bomblets sind 26 cm lang, haben einen Durchmesser von 42 mm und wiegen 0,994 kg. Die Hohlladung kann 210 mm Panzerstahl durchschlagen.[4][5][9]
| Bombe | Länge | Durchmesser | Spannweite | Gewicht |
| RBK-500 PTAB-1M | 1,95 m | 450 mm | 570 mm | 427 kg |
RBK-500 AO-2,5RT

Diese Ausführung ist mit 108 AO-2,5RT-Splitterbomblets beladen. Das AO-2,5RT-Bomblet hat einen ovalen Rumpf und besteht aus drei Teilen: dem Mittelteil mit dem WP-P 84-Zünder und zwei halbkugelförmigen Wirkkörpern. Das Bomblet ist 18,3 cm lang, hat einen Durchmesser von 30 mm und wiegt 2,5 kg. Beim Aufprall auf dem Boden detoniert der Zünder im Mittelteil und schleudert die beiden Wirkkörper weg. Mit einer kurzen Verzögerung detonieren diese über dem Boden. Der Splitterwirkungsradius beträgt 20–30 m. Die Bomblets verteilen sich über eine Fläche von rund 6.400 m².[1]
| Bombe | Länge | Durchmesser | Spannweite | Gewicht |
| RBK-500 AO-2,5RT | 1,95 m | 450 mm | 570 mm | 504 kg |
RBK-500S
Diese Ausführung ist mit 546 IRR-Bomblets mit CS-Tränenreizstoff (Tränengas) beladen. Die Bomblets verteilen sich über eine Fläche von rund 6.000–12.600 m².[12]
| Bombe | Länge | Durchmesser | Spannweite | Gewicht |
| RBK-500S | 1,95 m | 450 mm | 570 mm | 245 kg |
RBK-500A
Diese Ausführung entstand in den 1980er-Jahren. Die RBK-500A ist mit 54 Splitterbomblets vom Typ OBAS-4S (9-B-3420) für chemische Kampfstoffe beladen. Jedes Bomblet enthält neben der Sprengladung 0,44 kg VX. Mit der Vernichtung der russischen Chemiewaffenbestände wurden diese Bomben delaboriert.[13]
| Bombe | Länge | Durchmesser | Spannweite | Gewicht |
| RBK-500A | 2,48 m | 450 mm | 570 mm | unbekannt |
RBK-500U PTAB
Diese Ausführung ist mit 352 PTAB-1M-Hohlladungs-Bomblets beladen. Das Bomblet hat einen zylinderförmigen Rumpf an dessen Heck vier Stabilisierungsflügel, um die ein Boxwing angebracht ist. Die PTAB-1M-Bomblets sind 26 cm lang, haben einen Durchmesser von 42 mm und wiegen 0,994 kg. Die Hohlladung kann 210 mm Panzerstahl durchschlagen.[3][4][5]
| Bombe | Länge | Durchmesser | Spannweite | Gewicht |
| RBK-500U PTAB | 2,49 m | 450 mm | 570 mm | 427 kg |
RBK-500U AO-2,5RT

Diese Ausführung ist mit 126 AO-2,5RT-Splitterbomblets beladen. Das AO-2,5RT-Bomblet hat einen ovalen Rumpf und besteht aus drei Teilen: dem Mittelteil mit dem WP-P 84-Zünder und zwei halbkugelförmigen Wirkkörpern. Das Bomblet ist 18,3 cm lang, hat einen Durchmesser von 30 mm und wiegt 2,5 kg. Beim Aufprall auf dem Boden detoniert der Zünder im Mittelteil und schleudert die beiden Wirkkörper weg. Mit einer kurzen Verzögerung detonieren diese über dem Boden. Der Splitterwirkungsradius beträgt 20–30 m.[4][6][14][15]
| Bombe | Länge | Durchmesser | Spannweite | Gewicht |
| RBK-500U AO-2,5RT | 2,49 m | 450 mm | 570 mm | 325 kg |
RBK-500U OFAB-50UD

Diese Ausführung ist mit 10 OFAB-50UD-Kleinbomben beladen. Eine Kleinbombe wiegt rund 45 kg und detoniert beim Aufschlag auf der Erdoberfläche. Die Kleinbombe kann 200 mm Stahlbeton durchschlagen und der Splittermantel wirkt auf eine Distanz von 30–60 m.[2]
| Bombe | Länge | Durchmesser | Spannweite | Gewicht |
| RBK-500U OFAB-50UD | 2,49 m | 450 mm | 570 mm | 520 kg |
RBK-500U BetAB-M

Diese Ausführung wird auch als RBK-500U BetAB-20 bezeichnet und ist mit 12 BetAB-M bzw. BetAB-20-Kleinbomben beladen. Diese Kleinbomben kommen bei der Bekämpfung von Start- und Landebahnen zum Einsatz. Eine BetAB-M-Kleinbomben ist 66 cm lang, hat einen Durchmesser von 78 und 140 mm und wiegt 25 kg. Nach dem Ausstoßen aus der Streubombe werden die BetAB-M-Kleinbomben durch einen Fallschirm stabilisiert und die Bombenspitze wird in Richtung Erdoberfläche geneigt. Dann zündet im Bombenheck ein Feststoffraketentriebwerk und beschleunigt die Kleinbombe. Durch die hohe kinetische Energie kann die Kleinbombe Stahlbeton durchschlagen. Die Kleinbombe detoniert zeitverzögert unter der Start- oder Landebahn, so dass Explosionskrater entstehen.[1][2][9]
| Bombe | Länge | Durchmesser | Spannweite | Gewicht |
| RBK-500U BetAB-M | 2,49 m | 450 mm | 570 mm | 480 kg |
RBK-500U SPBE-D

Diese Ausführung ist mit 15 SPBE-D-selbstzielsuchender (intelligenten) Wirkkörpern beladen. Davon sind 14 Kampf-Wirkkörper sowie ein Kommando-Wirkkörper. Dieser koordiniert die 14 Kampf-Wirkkörper, so dass diese nicht mehrfach dieselben Ziele bekämpfen. Die Wirkkörper haben eine zylinderförmige Rumpfgeometrie mit einer Länge von 290 cm, bei einem Durchmesser von 270 mm und einem Gewicht von rund 15 kg. Nach dem Ausstoßen aus der Streubombe werden die SPBE-D-Wirkkörper durch Stabilisierungsflächen sowie einem Fallschirm stabilisiert und in Drehung versetzt. Während dem Fall sucht ein Infrarot-Sensor das unter ihnen liegende Gelände kreisförmig nach der Wärmeausstrahlung von Fahrzeugmotoren ab. Der Sensor arbeitet mit einer Wellenlänge von 3–5 µm und 8–14 µm. Wird ein Ziel gefunden, zündet der Wirkkörper eine projektilbildende Ladung, welche im optimalen Fall den Motor trifft und diesen zerstört. Die projektilbildende Ladung kann 70–120 mm Panzerstahl durchschlagen.[1][2][16]
| Bombe | Länge | Durchmesser | Spannweite | Gewicht |
| RBK-500U SPBE-D | 2,49 m | 450 mm | 570 mm | 500 kg |
RBK-500U SPBE-K
Diese Ausführung ist mit 15 SPBE-K eigenständig zielsuchenden (intelligenten) Wirkkörpern beladen. Davon sind 14 Kampf-Wirkkörper einer ein Kommando-Wirkkörper. Dieser koordiniert die 14 Kampf-Wirkkörper, so dass diese nicht mehrfach dieselben Ziele bekämpfen. Die Wirkkörper haben eine zylinderförmige Rumpfgeometrie und wiegen 17,3 kg. Nach dem Ausstoßen aus der Streubombe werden die SPBE-K-Wirkkörper durch Stabilisierungsflächen sowie einem Fallschirm stabilisiert und in Drehung versetzt. Während des Falls suchen ein Radar im Ku-Band und ein Infrarot-Sensor das unter ihnen liegende Gelände kreisförmig nach Zielen ab. Dabei misst das Radar Unterschiede in der Höhe des Terrains, wie es durch das Vorhandensein eines Fahrzeuges der Fall ist. Gleichzeitig erfasst der Infrarotdetektor die Wärmeausstrahlung von Fahrzeugmotoren. Wird ein Ziel gefunden, zündet der Wirkkörper eine projektilbildende Ladung. Diese kann 70–120 mm Panzerstahl durchschlagen.[1][2]
| Bombe | Länge | Durchmesser | Spannweite | Gewicht |
| RBK-500U SPBE-K | 2,49 m | 450 mm | 570 mm | 450 kg |
Einsatz
Die RBK-500 kam erstmals während der sowjetischen Intervention in Afghanistan zum Einsatz. Danach kam die RBK-500 im Ersten Tschetschenienkrieg und im Zweiten Tschetschenienkrieg zum Einsatz. Weitere Einsätze erfolgten im Ersten Golfkrieg, während den Jugoslawienkriegen, im Afghanischen Bürgerkrieg, im Bürgerkrieg in Sri Lanka, im Bürgerkrieg in Libyen, im Bürgerkrieg in Syrien, beim russischen Überfall auf die Ukraine 2022 sowie bei Konflikten auf dem afrikanischen Kontinent.[6][10][11][14][17][18][19][20]
Trägerflugzeuge
- Jakowlew Jak-130 (NATO-Codename: Mitten)
- Mikojan-Gurewitsch MiG-23 (Flogger)
- Mikojan-Gurewitsch MiG-27 (Flogger-D)
- Mikojan-Gurewitsch MiG-35 (Fulcrum-F)
- Soko J-22 Orao
- Suchoi Su-22 (Fitter)
- Suchoi Su-24 (Fencer)
- Suchoi Su-25 (Frogfoot)
- Suchoi Su-30 (Flanker-C)
- Suchoi Su-34 (Fullback)
- Suchoi Su-35 (Flanker-E)
- Tupolew Tu-22M (Backfire)
- Tupolew Tu-160 (Blackjack)
- Mil Mi-8 (Hip)
- Mil Mi-24 (Hind)
- Kamow Ka-52 Alligator (Hokum-B)
Literatur
- Duncan Lennox: Jane’s Air launched Weapon, Edition 1998. Jane’s Information Group, 1998, ISBN 978-0-7106-3108-4.
- Jefim Gordon: Soviet/Russian Aircraft Weapons since World War Two. Midland Publishing, 2004, ISBN 978-1-85780-188-0.
- Nikolai Spasskiy: Russia’s Arms and Technologies. The XXI Century Encyclopedia. Vol. 12 - Ordnance and Munitions. Russland, 2006. ISBN 978-5-93799-023-5.
- Ove Dullum: Cluster weapons – military utility and alternatives. Forsvarets forskningsinstitutt / Norwegian Defence Research Establishment (FFI), 2008.
- SPRE Basalt: Unguided Air Bombs. Offizieller Produktkatalog der Federal State Unitary Enterprise Basalt, Moskau, Russland, 2008.
Siehe auch
Weblinks
- RBK-500 bei Airwar.ru
- „That’s Not a Cluster Bomb“ - The Differences Between OFAB 250-270s and RBK-500s RBK-250 & RBK-500 bei bellingcat.com (englisch)
- КАССЕТНЫЕ БОМБЫ (russisch)
Einzelnachweise
- ↑ a b c d e f g h i Duncan Lenox: Jane’s Air launched Weapon, Edition 1998. 1998. S. 204–212.
- ↑ a b c d e f g h Bazalt: Unguided Air Bombs. SRPE Bazalt, Edition 2008. S. 37–49.
- ↑ a b c d e f Jefim Gordon: Soviet/Russian Aircraft Weapons since World War Two. 2004. S. 170–171. Midland Publishing.
- ↑ a b c d e f g h i j Ove Dullum: Cluster weapons – military utility and alternatives. Forsvarets forskningsinstitutt / Norwegian Defence Research Establishment (FFI). 2008. S. 123–124.
- ↑ a b c d e f g Proposed Methods for demilitarization and/or destruction of cluster munitions. (PDF) In: clusterconvention.org. Convention on Cluster Munitions, abgerufen am 17. Februar 2022 (englisch).
- ↑ a b c A Global Overview of explosive Submunitions. (PDF) In: hrw.org. Human Rights Watch, abgerufen am 17. Februar 2022 (englisch).
- ↑ Submunitions in Syria: Additions and upadates. In: rogueadventurer.com. The Rogue Adventurer, abgerufen am 17. Februar 2022 (englisch).
- ↑ Eliot Higgins: Evidence Of New, Larger Cluster Bombs Being Used In Syria. In: brown-moses.blogspot.com. Brown Moses Blog, abgerufen am 17. Februar 2022 (englisch).
- ↑ a b c d ARES Special Report 5: Cluster Munitions & Submunitions in Syria. In: armamentresearch.com. Armament Research Services (ARES), abgerufen am 30. November 2023 (englisch).
- ↑ a b RBK-250 ZAB-2.5 cluster munitions used in Libya. In: armamentresearch.com. Armament Research Services, abgerufen am 17. Februar 2022 (englisch).
- ↑ a b PTAB-2.5M. In: rogueadventurer.com. The Rogue Adventurer, abgerufen am 17. Februar 2022 (englisch).
- ↑ Nikolai Spasskiy: Russia’s Arms and Technologies. The XXI Century Encyclopedia. Vol. 12 - Ordnance and Munitions. 2006. S. 763.
- ↑ Сайт Федорова Льва Александровича: Химическое разоружение по-русски (russisch)
- ↑ a b Renewed use of AO-2.5RT submunitions in Syria. In: armamentresearch.com. Armament Research Services, abgerufen am 17. Februar 2022 (englisch).
- ↑ РБК-250. In: mass-destruction-weapon.blogspot.com. Оружие массового поражения, abgerufen am 17. Februar 2022 (englisch).
- ↑ SPBE submunitions employed in Syria. In: armamentresearch.com. Armament Research Services, abgerufen am 17. Februar 2022 (englisch).
- ↑ Cluster Bombs Dropped in Syria. In: youtube.com. Human Rights Watch, abgerufen am 17. Februar 2022 (englisch).
- ↑ Sputnik, RT and Russian MoD expose cluster bombs at Hmeymim airbase. In: citeam.org. Conflict Intelligence Team, abgerufen am 17. Februar 2022 (englisch).
- ↑ Jenzen-Jones & Charlie Randall: Soviet or Russian PTAB-1M submunitions documented in Ukraine (2022). In: armamentresearch.com. Armament Research Services, 11. März 2022, abgerufen am 21. März 2022 (englisch).
- ↑ Human Rights Watch: Intense and Lasting Harm – Cluster Munition Attacks in Ukraine
