Kolbenverschluss
Der Kolbenverschluss ist eine Verschlusskonstruktion, die im Zeitraum von ungefähr 1840 bis 1880 zum Einsatz kam.
Grundsätzliche Anforderungen
Der Verschluss des Geschützes schließt das Rohr nach hinten ab und muss bei Schussabgabe die Kräfte des Rückstoßes über das Rohr in die Lafettenkonstruktion ableiten. Dazu muss er zuverlässig mit dem Rohr verriegeln. Zusammen mit der Kartusche muss er das Rohr gasdicht abschließen, um die Treibladung möglichst vollständig auszunutzen. Der Verschluss sollte einen Schutz gegen unbeabsichtigte Abfeuerung bieten. Grundsätzlich muss sich der Verschluss bei manueller Betätigung mit wenigen Handbewegungen schnell öffnen und schließen lassen. Gefordert werden weiterhin geringes Gewicht und geringe Abmessungen, um die tote Rohrlänge, das heißt die Länge des Rohres hinter der Patronen- bzw. Pulverkammer zu minimieren. Diese tote Rohrlänge bestimmt zusammen mit dem Rücklaufweg des Rohres die maximale Rohrerhöhung bei gegebener Lafettenkonstruktion.
Geschichte


Vorderlader waren bis zur Mitte des 19. Jahrhunderts die bestimmende Konstruktionsform für Artilleriegeschütze. Um 1840 startete der schwedische Fabrikant Baron Martin von Wahrendorff einen Versuch, Hinterladergeschütze marktfähig zu machen. Er beabsichtigte damit, die Bedienung der Geschütze in den beengten Räumen der Schiffe und Kasematten zu vereinfachen. Zur Erreichung dieses Zieles war er auch gezwungen, einen funktionsfähigen Hinterladerverschluss zu entwickeln. Er wählte hierfür eine Grundform des Kolbenverschlusses. Im 1. Bild ist dieser Verschluss schematisch dargestellt. Er bestand aus dem gusseisernen Verschlusskopf, welcher mit sehr geringem Spielraum die Seele ausfüllte. An diesem war eine Spannschraube befestigt, so dass der Verschlusskopf mittels der Kurbel gegen den flachen Querkeil verspannt werden konnte. Zur Liderung war auf dem Verschlusskopf eine gewölbte Stahlscheibe (Expansionsscheibe) angebracht, welche sich beim Schuss durch die Einwirkung der Pulvergase flachlegen und somit das Rohr nach hinten gasdicht verschließen sollte. Im praktischen Betrieb hat sich dieses System allerdings nicht bewährt, da insbesondere der Querkeil viel zu schwach bemessen war.[1] Bereits 1843 wurde von Wahrendorff ein verbesserter Verschluss vorgestellt (Bild 2). Bei diesem Verschluss hatte der Verschlusszylinder einen etwas größeren Durchmesser als die Kammer. Nur mit seinem vorderen Teil passte er genau in die Kammer. Der hintere Teil des Verschlusszylinders war bis zum Querloch durchbohrt und mit einem Gewinde versehen, über das, mittels einer starken Schraube, der Verschlusszylinder gegen den Querzylinder verspannt werden konnte. Zur Liderung wurde weiterhin die bereits oben beschriebene gewölbte Stahlscheibe verwendet.[2] Diese Form der Liderung genügte allerdings auch nicht und so wurde kurze Zeit später die gewölbte Stahlscheibe durch einen Stahlring mit dreieckigem Profil ersetzt (im Bild 2 als Liderung neu gekennzeichnet). Bei dieser Form der Liderung war die Hypotenuse des Liderungringes schräg nach vorne gegen den Druck der Pulvergase gerichtet, während eine der beiden Katheten an der Seelen- (Kammer-) wand anlag und die zweite auf der vorderen Fläche des Verschlusskopfes auflag. Um die Erweiterung noch zu vergrößern, war der Ring geschlitzt.[3]
Unter dem Einfluss der Entwicklung gezogener Hinterlader begann auch Preußen zwischen 1850 und 1860 intensiv an der Weiterentwicklung des Wahrendorff’schen Kolbenverschlusses zu arbeiten. Die Hauptbemühungen lagen hierbei auf einer verbesserten Liderung. Bei dem letzten oben beschriebenen Verfahren nach Wahrendorff konnten immer noch Pulvergase am Schlitz des Liderungsringes durchschlagen und zu Verbrennungen am Verschlusskopf beziehungsweise an der Rohrwand führen. Da auf mechanischem Wege keine Verbesserungen zu erzielen waren, nahm man sich schließlich des Liderungsringes selbst an und führte Versuche mit den unterschiedlichsten Materialien durch. Als bestes Material erwies sich schließlich eine napfförmige Pressspanscheibe. Aber auch mit dieser Ausführung konnten noch nicht alle Probleme allein gelöst werden. Wichtig war hierbei, dass die Scheiben ständig eine gleichbleibende Qualität besitzen mussten und sie gerade in das Rohr eingelegt wurden. Zur Abhilfe wurden die Rohre im Ladungsraum leicht konisch ausgebohrt, so dass die Scheiben mit einem geringen Übermaß gefertigt werden konnten. Das Einlegen der Scheiben wurde insofern vereinfacht, als dass bei dem 9-cm-Kaliber die Scheiben mit dem Kartuschbeutel fest verbunden wurden und bei den größeren Kalibern die Scheiben mit einem mittig liegenden Loch versehen wurden, welches die Handhabung der Scheiben stark vereinfachte. Die preußische Ausführung des Kolbenverschlusses wurde 1859 bei dem 9-cm-Feldgeschütz C/61 erstmals serienmäßig eingeführt. In der österreich-ungarischen Armee wurde mit der 12-cm-Kanone M1861 ebenfalls ein Hinterlader mit Kolbenverschluss eingeführt. Wegen seiner konstruktionsbedingten Nachteile wurde der Kolbenverschluss jedoch schnell durch andere Verschlusstypen wie den Keilverschluss und den Schraubenverschluss abgelöst.
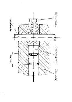
Konstruktionsprinzip


Beim Kolbenverschluss wird ein Verschlusskolben von hinten in das Rohr eingeführt. Zur Verriegelung wird ein Querzylinder durch entsprechende Bohrungen quer zur Rohrachse durch das Bodenstück und den Verschlusskolben geschoben. Mittels der Kurbel (m), welche um 1860 mittels zweier Kontermuttern auf der Spannschraube gesichert war, wurde nun der Verschlusskolben etwas zurückgezogen und drückt hierbei den Verschlosskolben auf den Querzylinder sowie diesen gegen die rückwärtige Wand der Querzylinderbohrung. Durch diese Maßnahme waren alle Teile des Verschlusses untereinander sowie mit dem Rohr fest verbunden. Da in dieser Konstruktion keine Elemente zur Liderung vorhanden waren, musste vor jedem Schuss entsprechende Zusatzteile eingelegt werden. Bei den preußischen Geschützen wurden hierzu napfförmige Pressspanscheiben zwischen Kartusche und Verschlusskolbenkopf eingelegt, welche sich beim Schuss aufweiteten und den gasdichten Abschluss zwischen Verschlusskolben und Rohrwand bewirkten. Am Ende der langen Entwicklungszeit wurden um 1865 die Kontermuttern durch einen sogenannten Splintkeil ersetzt.[4] Auf Grund der vielen manuellen Arbeitsschritte war eine automatische Verriegelung nicht gegeben. Ebenso war keine automatische Sicherung gegen unbeabsichtigtes Abfeuern bei nicht vollständig geschlossenem Verschluss oder fehlender Verriegelung gegeben. Die Vielzahl der Bedienungselemente führt zur komplizierten Handhabung und damit langen Ladezeiten. Grundsätzlich war der Verschluss brauchbar, erschien aber aufgrund der dann zu bewegenden Massen für Geschütze mit einem Kaliber über 15 cm ungeeignet.
Bei Beibehaltung des Grundprinzips – Einführen des Verschlusses von hinten in das Rohr – wurde aus dem Kolbenverschluss der Schraubenverschluss entwickelt.
Einzelnachweise
- ↑ Joseph Schmoelzl: Ein Lehrbuch zur Kenntnis und zum Studium der Feuerwaffen der Neuzeit. 2. Auflage. Literarisch-artistische Anstalt der I.G.Golla’schen Buchhandlung, München 1857, S. 223.
- ↑ Militär-Wochenblatt für das deutsche Bundesheer. 1. Jahrgang 1860. Beilage zu Heft Nr. 20 vom 17. November 1860. Eduard Zernin, Darmstadt & Leipzig. S. 79.
- ↑ Militär-Wochenblatt 53. Jahrgang 1868. Heft 17 vom 26. Februar 1868. Ernst Siegfried Mittler und Sohn, Berlin, S. 132.
- ↑ Karl von Helldorf: Preußisches Feld-Taschenbuch für Offiziere aller Waffen. 2. Auflage. Gustav Hempel, Berlin 1869. S. 43.
Literatur
- Brockhaus’ Konversationslexikon, F. A. Brockhaus in Leipzig, Berlin und Wien, 14. Auflage, 1894–1896; Band 7. S. 913
- Meyers Konversations-Lexikon, 4. Auflage 1885 bis 1892, Band 7. Leipzig und Wien 1907, S. 216.
- Taubert: Die historische Entwicklung des preussischen Systems der gezogenen Geschütze. In: Archiv für die Offiziere der königlich preußischen Artillerie. Band 61. Ernst Mittler und Sohn, Berlin 1867.
- Ueber Gasdichtmachung des Wahrendorff'schen Kolbenverschlusses für gezogene Hinterladungsgeschütze mit Compressiv-Geschoß. In: Polytechnisches Journal. 176, 1865, S. 357–360.