Interferenzschraube

Interferenzschrauben sind Implantate, die im Rahmen der operativen Rekonstruktion eines Bandes oder einer Sehne zur Fixierung des Bandes oder der Sehne verwendet werden. Interferenzschrauben werden vor allem für die Rekonstruktion von gerissenen Kreuzbändern (Kreuzbandriss) verwendet.
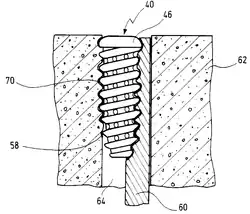
Der Name Interferenzschraube ist von den englischen Worten interference screws abgeleitet. Interference fit ist der englischsprachige Begriff für eine Übermaßpassung (Presspassung).[1] Das heißt, dass das Größtmaß der Bohrung – in der konkreten Anwendung der Markkanal im Knochen – kleiner als das Kleinstmaß der Schraube ist. Interferenzschrauben sind geometrisch betrachtet Gewindestifte („Madenschrauben“).[2]
Anwendung




Interferenzschrauben sind die am häufigsten eingesetzten Implantate zur anatomischen Fixation. Sie werden vor allem bei der Rekonstruktion von Kreuzbandrupturen eingesetzt. Durch das Verankern der Transplantate wird eine Festigkeit der Kreuzbandplastik schon unmittelbar nach der Rekonstruktion erreicht. Das Transplantat wird früh im Knochen integriert, was eine zeitige Rehabilitation des Patienten ermöglicht.[2][3]
Die Fixation mit Interferenzschrauben ist ein sicheres und bewährtes Verfahren, mit einer geringen Komplikationsrate.[4]
Materialien
Die ersten Interferenzschrauben wurden aus Titan gefertigt und verblieben nach der Implantation permanent im Knochen des Patienten. Bei einigen Patienten führte dies zu Metall-Überempfindlichkeiten und zu Stressfaktoren im Knochen.[5] Ein weiteres Problem mit Metallschrauben ist, dass beim Eindrehen der Schraube in den Knochenkanal das Transplantat durch die scharfkantigen Windungen verletzt werden kann. Um mögliche längerfristige Komplikationen zu vermeiden, die beispielsweise die Entfernung der Implantate aus dem Knochen zur Folge haben könnte, wurden deshalb bio-resorbierbare Schrauben entwickelt. Diese Schrauben bestehen aus biologisch abbaubaren Polymeren, wie beispielsweise Poly-L-Lactid (PLLA), Poly-D-Lactid (PDLA) oder Poly-(L-co-D/L-Lactid) (PLDLLA). Teilkristallines PLLA wird deutlich langsamer als amorphes PDLA abgebaut. Perforierte Schrauben (siehe in Grafik 2 (52)) beschleunigen das Einwachsen des Knochens (ossäre Integration) in die Schraube und deren Auflösung. Schrauben aus PLDLLA werden schnell abgebaut und vollständig durch Knochen ersetzt.[6] Im Handel sind auch Polylactid-Schrauben, mit Calciumphosphat beziehungsweise Hydroxylapatit als Füllstoff. Auch diese Schrauben sind bioresorbierbar.[7][8] Hydroxylapatit hat nach der Resorption die gleichen Eigenschaften wie ein menschlicher Knochen.[9]
Im Jahr 2020 wurden die ersten bioresorbierbaren Interferenzschrauben auf Magnesiumbasis zugelassen.[10]
Die Vorteile bioresorbierbarer Interferenzschrauben sind neben dem geringen Risiko einer Schädigung des Transplantates, die einfachere Revision und keine Störungen bei den bildgebenden Verfahren der Diagnostik.[2]
Medizingeschichtliches
Die ersten Schrauben zur Fixation eines Patellasehnen-Transplantates waren 1983 konventionelle AO-Spongiosa-Schrauben.[11] 1987 wurden erstmals Madenschrauben, die heutigen Interferenzschrauben, zur Rekonstruktion eines gerissenen Kreuzbandes verwendet.[2][12]
Weiterführende Literatur
- S. Konan und F. S. Haddad: A clinical review of bioabsorbable interference screws and their adverse effects in anterior cruciate ligament reconstruction surgery. In: Knee 16, 2009, S. 6–13. PMID 18639461 (Review)
- F. D. Bach u. a.: Anterior cruciate ligament reconstruction with bioabsorbable polyglycolic acid interference screws: MR imaging follow-up. In: Radiology 225, 2002, S. 541–550. PMID 12409593
- M. E. Bowers, G. A. Tung, N. Trinh, E. Leventhal, J. J. Crisco, B. Kimia, B. C. Fleming: Effects of ACL interference screws on articular cartilage volume and thickness measurements with 1.5 T and 3 T MRI. In: Osteoarthritis and cartilage / OARS, Osteoarthritis Research Society. Band 16, Nummer 5, Mai 2008, S. 572–578, doi:10.1016/j.joca.2007.09.010, PMID 17933559, PMC 2424214 (freier Volltext).
- M. Immendörfer: 5-Jahresergebnisse nach Hamstring-VKB-Plastik mit gelenknaher Titan-Interferenzschrauben-Fixation: genügt die Technik den Anforderungen einer frühfunktionellen Rehabilitation? Dissertation, Universität Hamburg, 2008. DNB 993701175/34
Weblinks
Einzelnachweise
- ↑ Patent DE102008037202B4: Interferenzschraube. Angemeldet am 11. August 2008, veröffentlicht am 5. März 2015, Anmelder: AAP Implantate AG, Erfinder: Frank Witte et al.
- ↑ a b c d A. Weiler: Anatomische „Hamstringsehnen“ Verankerung mit Interferenzschrauben beim Kreuzbandersatz. (PDF; 793 kB) Habilitationsschrift, Humboldt-Universität zu Berlin, 2002
- ↑ K. Shelbourne und P. Nitz: Accelerated rehabilitation after anterior cruciate ligament reconstruction. In: Am J Sports Med 18, 1990, S. 292–299. PMID 2372081
- ↑ B. Lembeck und N. Wülker: Severe cartilage damage by broken poly-L-lactic acid (PLLA) interference screw after ACL reconstruction. In: Knee Surgery, Sports Traumatology, Arthroscopy 13, 2005, S. 283–286. PMID 15549256
- ↑ J. Black: Does corrosion matter? In: J Bone Joint Surg 70, 1988, S. 517–520. PMID 3403590
- ↑ W. Petersen und T. Zantop: Das vordere Kreuzband: Grundlagen und aktuelle Praxis der operativen Therapie. Deutscher Ärzteverlag, 2009, ISBN 3-7691-0562-1, S. 102f. eingeschränkte Vorschau in der Google-Buchsuche
- ↑ BIOSURE HA. (Seite nicht mehr abrufbar, festgestellt im April 2018. Suche in Webarchiven) Info: Der Link wurde automatisch als defekt markiert. Bitte prüfe den Link gemäß Anleitung und entferne dann diesen Hinweis. Broschüre der Smith&Nephew GmbH
- ↑ F. A. Barber und W. D. Dockery: Long-term absorption of beta-tricalcium phosphate poly-L-lactic acid interference screws. In: Arthroscopy 24, 2008, S. 441–447. PMID 18375277
- ↑ M. Akao u. a.: Mechanical Properties of Sintered Hydroxyapatite for Prosthetic Applications. In: Journal of Material Science 16, 1981, S. 809–812. doi:10.1007/BF02402799
- ↑ Syntellix erhält CE-Zulassung für sechste Produkt-Familie: neues Magnesium-Implantat für Kreuzband-Rekonstruktion. Abgerufen am 4. Februar 2020.
- ↑ K. Lambert: Vascularized patellar tendon graft with rigid internal fixation for anterior cruciate ligament insufficiency. In: Clin Orthop 172, 1983, S. 85–89. PMID 6822009
- ↑ M. Kurosaka u. a.: A biomechanical comparison of different surgical techniques of graft fixation in anterior cruciate ligament reconstruction. In: Am J Sports Med 15, 1987, S. 225–229. PMID 3303979