Herschelkeil

Der Herschelkeil, auch Herschelprisma[1] (auch Sonnenzenitprisma[2]), ist ein optisches Gerät bzw. das darin genutzte optische Prisma zur astronomischen Beobachtung der Sonne. Das Funktionsprinzip stammt vom deutsch-englischen Astronomen John Herschel (Sohn von Wilhelm Herschel).[3][4]
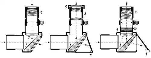
Aufbau & Funktionsweise
Die Konstruktion beruht auf der teilweisen Reflexion von Licht an einer Grenzfläche zweier Materialien mit (leicht) unterschiedlichem Brechungsindex, wie Luft und Glas, sowie dem Reflexionsgesetz (Einfallswinkel = Ausfallswinkel) und zwei nicht parallelen Längsflächen (Einfalls- und Austrittsfläche), was dem Prisma eine keilförmige Form gibt.
Die Einfallsfläche ist gegenüber der optischen Längsachse des einfallenden Strahl um 45° gedreht, so dass gemäß dem Reflexionsgesetz der genutzte bzw. betrachtete Strahl um 90° gedreht ist (vgl. Zenitprisma). Da die Flächen nicht verspiegelt sind, wird gemäß den Fresnelsche Formeln nur ein geringer Teil des Lichtes reflektiert und der Rest in das Prisma gebrochen. So wird unter Nutzung eines Keils aus optischem Glas an der ersten Luft-Glas-Grenzfläche nur ca. 4 % des einfallenden Sonnenlichts zum Okular reflektiert. Der genaue Wert hängt von der Wellenlänge und dem Brechungsindex des gewählten Materials ab.
Die restlichen ca. 96 Prozent des Lichtes werden zum Einfallslot hin in das Prisma gebrochen, treffen auf die zweite Glas/Luft-Fläche und werden wiederum teilweise reflektiert und gebrochen (mit ähnlichem Reflexions- bzw. Transmissionsgrad). Damit der reflektierte Teil nicht in den Bereich an der Eintrittsfläche und somit in das Okular gelangt, ist die Austrittsfläche weniger stark gegenüber dem einfallenden Sonnenstrahl gedreht. Der notwendige Mindestwinkel der Verkippung der beiden Flächen (0° = parallel) hängt von der Größe und Konstruktion des Okulars ab (vgl. Akzeptanzwinkel). Bei Verwendung von BK7 mit einem Brechungsindex von 1,52 ergibt sich ein Verkippungswinkel der Keilflächen von 27,7°. Größere Winkel sind möglich, benötigen dann aber mehr Material und vergrößern auch die Baugröße. Der zum zweiten Mal gebrochene Strahl enthält weiterhin über 90° der einfallenden Intensität und wird beispielsweise über eine Gehäuseöffnung weg vom Okular geleitet oder über einen Absorber im Gehäuse absorbiert.[1][5]
Verwendung

Neben dem Pentaprisma, dem Objektiv-Sonnenfilter und der Sonnenprojektionsmethode bildet der Herschelkeil eine Möglichkeit zur Sonnenbeobachtung. Ein Herschelkeil liefert in Verbindung mit einem Fernrohr detailreiche Abbildungen der Photosphäre der Sonne. Es können Sonnenflecken, Fackeln sowie die Granulation beobachtet und fotografiert werden. Mit Spiegelteleskopen sollte der Herschelkeil nicht verwendet werden, da sich der Fangspiegel zu stark erhitzen und dadurch Schaden nehmen könnte.
Mit ca. 4 % ist die am Okular ankommende Lichtintensität für die visuelle Beobachtung der Sonne noch zu stark, um Schädigungen des Auges ausschließen zu können, so dass der verbleibende Anteil mittels eines Graufilters mit einer Neutraldichte von ND 3.0 reduziert werden muss.[6][5] In Kombination mit einem Polarisationsfilter lässt sich die Lichtmenge stufenlos einstellen. Für die Fotografie können Graufilter niedrigerer Dichte eingesetzt werden, um die Belichtungszeit niedrig zu halten.
Einzelnachweise
- ↑ a b Stefan Seip: Himmelsfotografie mit der digitalen Spiegelreflexkamera: Die schönsten Motive bei Tag und Nacht. Kosmos, 2016, ISBN 978-3-440-14465-7, S. 109 (eingeschränkte Vorschau in der Google-Buchsuche).
- ↑ Bernd Koch: Handbuch der Astrofotografie. Springer-Verlag, 2013, ISBN 978-3-642-78409-5, S. 22–23 (eingeschränkte Vorschau in der Google-Buchsuche).
- ↑ Laut David Whitehouse: The Sun: A Biography. Hachette UK, 2016, ISBN 978-1-4746-0109-2, S. 53 (eingeschränkte Vorschau in der Google-Buchsuche). beschrieben in John Frederick William Herschel: Results of Astronomical Observations Made During the Years 1834, 5, 6, 7, 8, at the Cape of Good Hope; Being the Completion of a Telescopic Survey of the Whole Surface of the Visible Heavens, Commenced in 1825. Smith, Elder and Company, 1847 (si.edu).
- ↑ John Wilkinson: New Eyes on the Sun: A Guide to Satellite Images and Amateur Observation. Springer Science & Business Media, 2012, ISBN 978-3-642-22839-1, S. 130 (eingeschränkte Vorschau in der Google-Buchsuche).
- ↑ a b Philip Pugh: Observing the Sun with Coronado Telescopes. Springer Science & Business Media, 2007, ISBN 978-0-387-68127-6, S. 217 (eingeschränkte Vorschau in der Google-Buchsuche).
- ↑ Christopher R. Kitchin: Telescopes and Techniques: An Introduction to Practical Astronomy. Springer Science & Business Media, 2003, ISBN 978-1-85233-725-4, S. 46 (eingeschränkte Vorschau in der Google-Buchsuche).