FuG 23

ZG: Zeichengeber
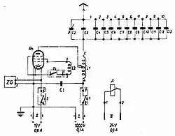
Das FuG 23 war ein einfacher Peilsender der Luftwaffe im Zweiten Weltkrieg, der in ungefähr jedem zehnten eingesetzten Marschflugkörper Fieseler Fi 103 („V1“) eingebaut war. Ungefähr 60 km vor dem Ziel aktivierte das interne Zählwerk („Luftlog“) der Flugbombe das Abspulen der Schleppantenne am Heck und schaltete das FuG 23 ein. Ein motorbetriebener Zeichengeber sorgte daraufhin für die Aussendung eines bestimmten Buchstabens im Morsecode. Per Kreuzpeilung konnten somit Kurs und Einschlagort der Fi 103 ermittelt werden.
Als Verlustgerät war der Peilsender sehr einfach aufgebaut: er bestand nur aus einer als Triode geschalteten Wehrmacht-Senderöhre „LS50“ von Telefunken in modifizierter Meißner-Schaltung. Zur Frequenzeinstellung dienten umschaltbare Kondensatoren. Bei einer Sendeleistung von 25 Watt lag die Reichweite bei über 250 km. Zusätzlich zur 30-Volt-Bordbatterie waren in der Fi 103 zur Versorgung von Sender und Zeichengeber zwei weitere Batterien mit 15 Volt (Heizung) und 1000 Volt (Anodenspannung) eingebaut.
Literatur
- Geräte-Handbuch FZG 76 (Fi 103), Teil 2 „Logeinrichtung“ (PDF)
- Geräte-Handbuch FZG 76 (Fi 103), Teil 5 „Funkanlage“ (PDF)
Weblinks
- HF-Funkausbreitung (PDF; 416 kB)