Felix Blaschke

Felix Robert Blaschke (* 1. Mai 1929 in Wien, Österreich; † 31. Januar 2007) war ein österreichischer Elektroingenieur. Mit der Ausarbeitung des Prinzips der feldorientierten Regelung legte er den Grundstein der modernen Regelungstechnik für die Antriebstechnik. Eine wissenschaftliche Veröffentlichung in diesem Themengebiet ist kaum vorstellbar ohne eine Referenz auf seine Tätigkeit.

Leben

Felix Blaschke im Entwicklungslabor

Privatleben

Felix Robert Blaschke war der Sohn von Heinrich und Hildegard Blaschke. Er besuchte zwischen 1935 und 1939 die Volksschule in Bad Vöslau bei Wien und absolvierte von 1937 bis 1947 das Realgymnasium in Baden (Niederösterreich). An der Technischen Hochschule Wien studierte er zwischen 1947 und 1957 Bauwesen und Starkstromtechnik. 1960 heiratete er Rosemarie Langguth (* 1921). Blaschke verstarb 2007 und wurde auf dem Friedhof Gainfarn (Ortsteil Bad Vöslau) in der Grabstelle IV/856 beerdigt.

Forschungsarbeit in Erlangen, Deutschland

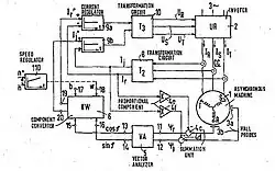
Blockdiagramn von dem US-Patent, 1971

Bei der Firma Siemens AG in Erlangen bearbeitete er von 1958 bis 1986 regelungstechnische Themen. Während dieser Zeit arbeitete er das Prinzip der feldorientierten Regelung (Vektorregelung) aus und schrieb darüber im Rahmen seiner Dissertation[1] bei Werner Leonhard an der TU Braunschweig. Darin wurde der Begriff der Feldorientierung erstmals erwähnt. Das Prinzip dieser Regelungsart war zwar bereits erfunden (Karl Hasse an der TH Darmstadt, 1968, indirekte Vektorregelung), aber die unabhängige Ausarbeitung und die Vorbereitung auf eine mögliche Realisierung ist sein Verdienst (direkte Vektorregelung). Das rechenintensive Verfahren der Feldorientierung erfordert leistungsfähige Rechner, die am Ende der 1960er-Jahre noch nicht erhältlich waren. Daher war die Realisierung des Verfahrens mit der zur Verfügung stehenden analogen Technik zunächst schwierig. Mit der Verbreitung der Mikroprozessoren in den 1980er-Jahren wurde das Verfahren weltweit in die Praxis umgesetzt. Es bildet inzwischen die Grundlage der Antriebsregelung für Drehfeldmaschinen aller Bauarten. Aktuell werden fast ausnahmslos alle Drehstrommotoren mithilfe seines Verfahrens betrieben.

Die erste Ausführung einer Regelung von Drehfeldmaschinen mit feldorientierter Regelung wurde in analoger Technik realisiert. Für die Antriebe mit Asynchronmotoren wurden der magnetische Fluss und der Flusswinkel zunächst direkt mithilfe von im Luftspalt eingebauten Hall-Sensoren erfasst. Dabei wurden Leiterplatten im Europakarten-Format entwickelt. Diese wurden dann in mehreren 19-Zoll-Racks angeordnet und via Wrap-Technik hinten miteinander verdrahtet. Die Koordinatentransformationen und andere Rechenoperationen erfolgten durch analoges Multiplizieren. Die Racks konnten auch, anders beschaltet, eine Division ausführen. Alle anderen Rechenoperationen konnten mit Operationsverstärkern realisiert werden. Für Vektoranalysator, polare Glättung, spezielle A/D- bzw. D/A-Wandler (z. B. sinus-/cosinus-Geber) für die Schnittstellen zu Impulsgebern und überlagerten digitalen Steuerungen usw. wurden mit Blaschkes Hilfe und Beratung neue Schaltungen entwickelt. Später wurden Fluss und Läuferwinkel mit Modellbildung (Strommodell, Spannungsmodell) berechnet. Dabei wurden die realen Maschinendaten (Widerstände, Reaktanzen) umgerechnet und Operationsverstärker entsprechend mit Widerständen und Kondensatoren beschaltet.

Simadyn C Baugruppe

Die ersten Anlagen der feldorientieren Regelung (damals als Transvektor-Regelung genannt) kamen ab 1969/1970 auf den Markt:

  • 1969/1970: die Transvektorregelung für PWM-Umrichter gespeiste Asynchronmotoren für die Antriebe einer Beizanlage in einem Walzwerk[2]
  • 1970/1971: die Transvektorregelung für einen Direktumrichter gespeisten Synchronmotor für den getriebelosen Antrieb einer Zementmühle.[3]

Noch in den 1970er-Jahren gestaltete Blaschke auch die Entwicklung der zweiten Generation mit weiteren neuen Anwendungen wesentlich mit. Einige Meilensteine dazu:

  • getriebeloser Rohmühlenantrieb ohne Läuferstellungsgeber[4]
  • erster Einsatz einer Synchronmaschine als Walzwerkshaupantrieb[5]
  • Einsatz der Asynchronmaschine mit feldorientierter Regelung für Traktionsantriebe.[6]

Seine besondere Mitwirkung dabei waren u. a. die Analyse der Auswirkungen von Modellfehlabstimmungen, die Entwicklung geeigneter Gegenmaßnahmen. Ein Beispiel dazu war seine Veröffentlichung zur Stabilität der feldorientierten Regelung.[7] Für all diese Anwendungen wurde die Regelung noch analog ausgeführt, das bestehende Steuerungs- und Regelungssystem Simadyn C wurde um speziell für die feldorientiere Regelung entwickelte Baugruppen erweitert.

Universitätsangehörigkeit in Leuven, Belgien und Eindhoven, Niederlande

Ab 1989 arbeitete er an der Konsolidierung der Feldorientierung an der TU Leuven und an der TU Eindhoven. Diese Tätigkeit führte 1996 gemeinsam mit A. Vandenput zu einer neuen Vorlesung über die Regelung von Drehfeldmaschinen. Über die Drehzahlsensorlose Regelung der Asynchronmaschinen veröffentlichte er 2003 eine weitere Dissertation.[8] Da zu dieser Zeit in dem Thema bereits zahlreiche praxistaugliche Verfahren bekannt waren, erreichte diese Dissertation im Gegensatz zur ersten Veröffentlichung Blaschkes keine größere Bekanntheit.

Veröffentlichungen (Auswahl)

  • The principle of field orientation as applied to the new Transvector closed loop control system for rotating field machines. In: Siemens Rev. vol. 34, 1972, S. 217–220.
  • Das Verfahren der Feldorientierung zur Regelung der Drehfeldmaschine. Dissertation. TU Braunschweig, 1973. (online)
  • Das Verfahren der Feldorientierung zur Regelung der Asynchronmaschine. In: Siemens Forschung und Entwicklung – Bericht. Bd. 1, Nr. 1, 1972, S. 184–193.
  • mit H. Waldmann: Ein neues Regelprinzip für Dehfeldmaschinen. In: Siemens Forschung und Entwicklung – Bericht. Bd. 3, Nr. 5, 1974, S. 327–332.
  • Das Prinzip der Feldorientierung, die Grundlage für die Transvektorregelung von Drehfeldmaschinen. In: Siemens Zeitschrift. Band 45, 1971, S. 757–760.

Literatur

  • Werner Leonhard: 30 Years Space Vectors, 20 Years Field Orientation, 10 Years Digital Signal Processing with Controlled AC-Drives, a Review. (Part 1). In: EPE Journal. Band 1, Nr. 1, 1911, S. 13–19.

Einzelnachweise

  1. Felix Blaschke: Das Verfahren zur Feldorientierung zur Regelung von Drehfeldmaschinen. 1974 (tue.nl [PDF]).
  2. W. Flöter, H. Ripperger: PWM-Walzwerksantriebe für eine Beizanlage. In: Siemens Zeitschrift. Band 45, 1971, S. 761–765.
  3. K.-H. Bayer, H. Waldmann, M. Weibelzahl: Getriebeloser Zementmühlenantrieb mit Direktumrichter. In: Siemens Zeitschrift. Band 45, 1971, S. 765–768.
  4. T. Salzmann: Direktumrichter und Regelkonzept für getriebelosen Antrieb von Rohrmühlen. In: Siemens Zeitschrift. Band 51, Heft 5, Mai 1977, S. 416–422.
  5. T. Salzmann, H. Wokusch: Direktumrichterantrieb für große Leistungen und hohe dynamische Anforderungen. In: Siemens Energietechnik. 2. Jahrgang, Heft 10, Oktober 1980, S. 409–441.
  6. K. H. Bayer: TRANSVEKTOR-Regelung – Ein Regelprinzip für Drehstromantriebe. In: ZEV-„Glasers Annalen“. 104. Jahrgang, Heft 8/9, August/September 1980, S. 291–298.
  7. F. Blaschke, K.-H. Bayer: Die Stabilität der feldorientierten Regelung von Asynchronmaschinen. In: Siemens Forsch.- u. Entwicklung.- Bericht. Bd. 7, Nr. 2, 1978, S. 77–81.
  8. Felix Blaschke: Ein neuer Weg zur geberlosen Feldorientierung der Asynchronmaschine