Federgelenk


Ein Federgelenk ist ein Festkörpergelenk, bei dem zwei Bauteile über ein elastisches Zwischen-(d. h. Feder-)Element miteinander verbunden sind.
Ein Federgelenk arbeitet wartungsfrei und ist bei höheren Belastungen vor allem für kleine Schwenkwinkel geeignet. In ihm tritt nur die (oft vernachlässigbare kleine) innere Reibung des elastischen Materials auf.[1] Die Federn werden durch Biegung oder Torsion verformt.[2]
Je nach Bauweise eignen sich Federgelenke auch für größere Schwenkwinkel. In diesen Fällen sind aber entweder Abstriche an der Lebensdauer zu machen, oder das Gelenk kann keine genaue Führung mehr bieten und es treten vermehrt Eigenschwingungen auf.
Filmscharniere sind einfach zu fertigende plasto-elastische Federgelenke, bei denen die Federwirkung oft nur ein (teils unerwünschter) Nebeneffekt ist.
Im Maschinenbau
Ein Federgelenk ist ein für Drehungen oder Schiebungen verwendetes Gelenk. Seine elastische Rückstellkraft macht es für die Lagerung von Messsystemen geeignet, die eine solche erfordern.[1]
Das einfache Biegefeder-Gelenk wird z. B. zum Aufhängen eines Uhren-Pendels benutzt. Torsionsfedern dienen z. B. zum Lagern drehbarer Messsysteme oder sind Teile von Torsionspendeln.
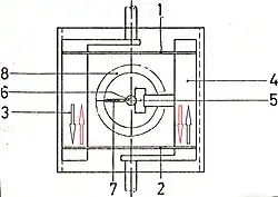
Ein Kreuzfedergelenk (s. obenstehende Abbildung) ist ein Drehgelenk mit geringfügig veränderlichem Drehzentrum. Es besteht aus zwei gekreuzten, meistens Blattfedern.
Zwei oder mehrere parallele, meistens Blattfedern sind in einem Federgeradführungs-Element (s. nebenstehende Abbildung) enthalten. Bei Ausbildung mit mehreren parallelen Feder-Paaren kann eine Querversetzung der Verschiebung vermieden werden.[3]
Kreuzgelenke und Federgeradführungen sind handelsübliche Bauteile.[4]
Im Betonbau
Da die nötige Drehbeweglichkeit zwischen Bauteilen im Bauwesen besonders klein ist, werden dort auch wie Federgelenke wirkende Lager erstellt.
Im Betongelenk besteht das elastisch nachgebende Zwischenteil aus dem relativ spröden Werkstoff Beton. Ein solches „Gelenk“ wird in einem Guss mit den ebenfalls aus Beton bestehenden zu verbindenden Teilen hergestellt, beispielsweise einem Pfeiler und dem Fundament darunter.[5] Dieses Betongelenk hat den Vorteil, dass es einreißen kann und u. a. durch Kriechen nachgibt und auf diese Weise unerwünschte Biegespannungen minimal gehalten werden.
Im neueren „Federgelenk“ ist der federnde schmale Bereich stark bewehrt.[5][6] Die Edelstahleinlagen sind mit keiner oder nur geringer Betondeckung eingelegt, um das elastische Verhalten des Stahles zu aktivieren.
Einzelnachweise
- ↑ a b Siegfried Hildebrand: Feinmechanische Bauelemente, Hanser, S. 429
- ↑ Annika Raatz: Stoffschlüssige Gelenke aus pseudo-elastischen Formgedächtnislegierungen in Pararellrobotern. Vulkan-Verlag GmbH, 2006, ISBN 978-3-8027-8691-4, S. 21–22 (google.de [abgerufen am 9. Januar 2019]).
- ↑ Siegfried Hildebrand: Feinmechanische Bauelemente, Hanser, Seite 457
- ↑ Kreuzfedergelenke Free-Flex. ( vom 5. Dezember 2018 im Internet Archive)
- ↑ a b Gregor Schacht, Steffen Marx, Nora Hoffmann: Beton-Federgelenke
- ↑ Steffen Marx, Nora Hoffmann, Gregor Schacht: Federgelenke. In: Stahlbau. Band 82, Nr. 12, 1. Dezember 2013, ISSN 1437-1049, S. 903–910, doi:10.1002/stab.201310115 (wiley.com [abgerufen am 6. Januar 2019]).