Drehtransformator
Ein Drehtransformator ist eine spezielle Bauform von Dreiphasentransformator, welcher es erlaubt, eine stufenlos verstellbare Wechselspannung im Dreiphasensystem zu gewinnen. Er zählt zu den sogenannten Stelltransformatoren und wird unter anderem in einigen älteren Elektrolokomotiven wie der Badische A1 zur Steuerung und in elektrotechnischen Hochspannungslabors als stufenlos veränderbare Spannungsquelle eingesetzt.
Aufbau


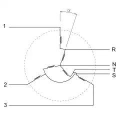
Im Gegensatz zu herkömmlichen Transformatoren besteht der Drehtransformator aus einer doppelt gespeisten Asynchronmaschine, deren Rotor auf einer bestimmten Position mit einem selbsthemmenden Schneckengetriebe fixiert ist. Sowohl der Stator als auch der Rotor der Maschine besteht aus jeweils drei Wicklungen. Die drei Statorwicklungen, in der Abbildung die Anschlüsse 1, 2 und 3, werden mit dem von extern zugeführten Dreiphasensystem verbunden. Die Rotorwicklungen sind über flexible Leitungen mit den Anschlüssen R, S und T herausgeführt, N stellt den Sternpunkt dar. Da nur endliche Winkelpositionen zwischen 0 und 2π am Rotor über das Schneckengetriebe eingestellt werden können, sind im Gegensatz zu rotierenden Maschinen keine Schleifringe für die elektrische Verbindung nötig.
Die eingestellte Rotorposition in Relation zum Stator als Funktion des Winkels α erlaubt es, die Kopplung zwischen Stator und Rotor zu verändern, womit die Spannung an R, S und T eine einstellbare Phasenverschiebung aufweist. Da die Rotorwicklungen mit den Statorwicklungen in Reihe verbunden sind, kommt es durch die Vektoraddition, wie im darunter abgebildeten Phasordiagramm dargestellt, zu einer winkelabhängigen Beeinflussung des Betrages der Dreiphasenspannung an R, S und T.
Durch den konstruktiv notwendigen Luftspalt zwischen Rotor und Stator weisen Drehtransformatoren einen vergleichsweise hohen Streufluss auf, was die Leistung nach oben limitiert. Außerdem lässt die technisch mögliche Isolationsfestigkeit nur Betriebsspannungsbereiche bis ca. 20 kV zu. In dieser Bauform weist der Drehtransformator keine galvanische Trennung auf. Aufgrund dieser Nachteile wird der Drehtransformator nur in speziellen Anwendungsfällen eingesetzt.
Eine ähnliche Funktion, welche diese Nachteile vermeidet, kann mit Dreiphasentransformatoren in Kombination mit einem Stufenschalter für Leistungstransformatoren erreicht werden, allerdings mit dem Nachteil, dass die Einstellung der Spannung nicht stufenlos erfolgen kann.
Literatur
- Germar Müller, Bernd Ponick: Grundlagen elektrischer Maschinen: Band 1. 9. Auflage. Wiley-VCH, 2005, ISBN 978-3-527-40524-4, S. 645 – 649.