Castra praetoria
Koordinaten: 41° 54′ 21,1″ N, 12° 30′ 21,6″ O


Die Castra praetoria[1] waren ein befestigtes Lager für die Prätorianergarde in Rom. Sie gaben dem heutigen Stadtteil Castro Pretorio den Namen.
Geschichte
Die castra praetoria wurden auf Vorschlag des Seianus zwischen 20 und 23 n. Chr. vom römischen Kaiser Tiberius errichtet.[2] Damit wurden die von Augustus auf mehrere Standorte verteilten Prätorianer an einem Ort zusammengelegt.[3] Die castra praetoria standen der römischen Tradition einer entmilitarisierten Hauptstadt entgegen und machten die Stationierung von Truppen in der Stadt nun erstmals sichtbar. Sie lagen deshalb ursprünglich auf einem der höchsten Punkte Roms nordöstlich außerhalb der Stadt,[4] knapp außerhalb des Pomeriums, wurden aber ab dem Jahr 271 in den Verlauf der aurelianischen Stadtmauer eingebunden. Das Lager bestand bis zur Auflösung der Prätorianer unter Konstantin im Jahr 312.
Anlage
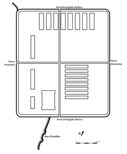
Das Lager bildete ein Rechteck von 440 × 380 Meter mit abgerundeten Ecken und vier Toren, darunter das Nordtor, die Porta Praetoriana. Von der Umfassungsmauer sind die Nord- und Ostseite sowie Teile der Südseite erhalten. Durch Quellen und Inschriften belegte Gebäude im Innern sind ein Marstempel[5], ein tribunal[6], schola et aedicula[7] und das armamentarium (Arsenal)[8]. Bei Grabungen im Zusammenhang mit dem Bau der Nationalbibliothek in den Jahren 1960 bis 1966 wurden die tiberischen Tore und im südöstlichen Sektor weitere Kasernenbauten entdeckt. Seit dem U-Bahnbau 1983 bis 1985 sind drei weitere Strukturen bekannt. Dazu gehört ein großer Raum von 14,70 × 7,70 Metern.
-
Osttor: Porta principalis dextra
-
Mauerverlauf mit abgerundeter Nordostecke -
Reste der Nordmauer
-
Schematische Darstellung der Castra praetoria auf einer Münze des Claudius
Literatur
- Samuel Ball Platner, Thomas Ashby: A Topographical Dictionary of Ancient Rome. Oxford University Press, London 1929, S. 106–107 (online).
- Lawrence Richardson Jr.: A New Topographical Dictionary of Ancient Rome. Johns Hopkins University Press, Baltimore 1992, S. 78f. s. v. Castra Praetoria.
- Elisa Lissi Caronna: Castra Praetoria In: Lexicon Topographicum Urbis Romae. Bd. 1, Qasar, Rom 1993, ISBN 88-7097-019-1, S. 251–254.
- Reinhard Förtsch: Castra [I 5]. C. Praetoria. In: Der Neue Pauly (DNP). Band 2, Metzler, Stuttgart 1997, ISBN 3-476-01472-X, Sp. 1025.
- Alexandra W. Busch: Militär in Rom. Militärische und paramilitärische Einheiten im kaiserzeitlichen Stadtbild (= Palilia Bd. 20). Reichert, Wiesbaden 2011, ISBN 978-3-89500-706-4, S. 31–71 (dazu Katalog online).
Weblinks
- Castra Praetoria in der archäologischen Datenbank Arachne
- Plan der gesicherten Teile der Castra praetoria
- Rekonstruierter Plan der Castra praetoria
Anmerkungen
- ↑ Auch die Namen castrum praetorium (CIL 15, 07239b, CIL 15, 07239c) und castrae praetori[ae] (CIL 15, 07239d) sind vereinzelt belegt. Ansonsten immer Neutrum Plural, vgl. etwa Tacitus, Annales 4, 2; 13, 14; 15, 53 und 59; Sueton, Claudius 21; siehe auch Karl Ernst Georges: Ausführliches lateinisch-deutsches Handwörterbuch. 8. verbesserte und vermehrte Auflage von Heinrich Georges. Hahnsche Buchhandlung, Hannover 1913/1918, s. v. Castrum II 2 a.
- ↑ Cassius Dio 57, 19, 6.
- ↑ Tacitus, Annales 4, 2; Sueton, Tiberius 37, 1.
- ↑ Plinius der Ältere, Naturalis historia 3, (9) 67; Tacitus, Annales 4, 2.
- ↑ CIL 6, 2256.
- ↑ CIL 6, 3559.
- ↑ CIL 6, 215.
- ↑ CIL 6, 999; CIL 6, 2725; Tacitus, Historiae 1, 38, 2.