21. Mai
Der 21. Mai ist der 141. Tag des gregorianischen Kalenders (der 142. in Schaltjahren), somit bleiben 224 Tage bis Jahresende.
| Historische Jahrestage April · Mai · Juni | |||||||||||||||||||||||||||||||||||
| |||||||||||||||||||||||||||||||||||
Ereignisse
Politik und Weltgeschehen
- 878: Die Stadt Syrakus auf Sizilien wird von Sarazenen erobert und in der Folge für Jahrzehnte zu einem Zentrum des Islam in Italien.

- 996: Der 16-jährige Otto III. wird auf seinem Italienzug in Rom von dem erst am 3. Mai von ihm zum Papst ernannten Gregor V. zum Kaiser des Heiligen Römischen Reiches gekrönt.
- 1097: Das Heer des Ersten Kreuzzugs unter Bohemund von Tarent und Gottfried von Bouillon schlägt bei der Belagerung von Nicäa das rum-seldschukische Entsatzheer Kılıç Arslans in die Flucht. Beide Seiten erleiden bei der Schlacht hohe Verluste.
- 1358: In Compiègne beginnt der Jacquerie genannte Bauernaufstand im Nordosten Frankreichs, der bis zum 10. Juni dauern wird. Ursache sind verlangte Frondienste und mangelnder Schutz seitens des Adels vor englischen Truppen im Hundertjährigen Krieg.

- 1363: Elisabeth von Pommern heiratet in Krakau Kaiser Karl IV. Sie wird im folgenden Monat zur Königin von Böhmen gekrönt. Der polnisch-böhmische Gegensatz wird mit der Heirat entschärft.
- 1420: Im Vertrag von Troyes erkennt Frankreichs König Karl VI. nach seinem Tod einen Thronanspruch des englischen Königs Heinrich V. an, den dieser durch die Heirat mit Karls Tochter Katharina von Valois untermauert. Katharinas Bruder, der Dauphin Karl, ist von der Thronfolge vertraglich ausgeschlossen. Er bildet später in Bourges eine Gegenregierung.
.jpg)
- 1471: Im Londoner Tower wird der abgesetzte König Heinrich VI., der letzte Herrscher aus dem Haus Lancaster, auf Befehl des neuen Königs Eduard IV. getötet.
- 1502: Der portugiesische Seefahrer João da Nova entdeckt die Insel St. Helena im Südatlantik.
- 1542: Am Ufer des Mississippi stirbt der spanische Eroberer Hernando de Soto. Die von ihm geführte Expedition durch den Südosten der heutigen USA wird daraufhin abgebrochen, die übriggebliebenen Mitglieder kehren nach Mexiko auf spanisches Territorium zurück.
- 1559: In Valladolid findet das erste dortige Autodafé mit 200.000 Zuschauern statt, darunter die Regentin Johanna von Spanien und Infant Don Carlos. 14 evangelische Christen, darunter Antonio Herrezuelo, werden verbrannt, 16 weitere, darunter Leonor de Cisnere, erhalten Bußstrafen.
- 1626: Der religiös motivierte Oberösterreichische Bauernkrieg gegen die bayerische Besetzung bricht los. In Peuerbach besiegen Bauern Soldaten des verhassten Statthalters Adam von Herberstorff, der am 15. Mai des Vorjahres 36 Männer im „Frankenburger Würfelspiel“ um ihr Leben hatte würfeln lassen.
- 1674: Der bisherige Großhetman der Krone, Jan Sobieski, wird nach seinen militärischen Erfolgen gegen die Osmanen als Nachfolger des im Vorjahr verstorbenen Michael Wiśniowiecki zum König von Polen und Großfürsten von Litauen gewählt. Er verfolgt in seiner Regierung das Ziel, die Macht von Polen-Litauen im Baltikum zu festigen.
- 1725: Die russische Zarin Katharina I. stiftet nach dem Tod ihres Gemahls Zar Peter des Großen den Alexander-Newski-Orden.

- 1726: Die Ermordung des protestantischen Predigers Hermann Joachim Hahn durch den Katholiken Franz Laubler in der sächsischen Residenzstadt Dresden führt in den nächsten Tagen zu einem gegen die Katholiken der Stadt gerichteten Bürgeraufstand.
- 1799: Napoleon Bonaparte muss die Belagerung von Akkon nach zwei Monaten erfolglos abbrechen. Es ist sein erster militärischer Misserfolg und die Wende im Ägyptenfeldzug.

- 1809: Die zweitägige Schlacht bei Aspern beginnt, bei der Napoleon Bonaparte gegen die österreichische Armee unter Erzherzog Karl im fünften Koalitionskrieg seine erste Niederlage als Feldherr erleiden wird.
- 1813: Die Schlacht bei Bautzen, die im Zuge der Befreiungskriege zwischen der Koalition und den Franzosen am Vortag begonnen hat, endet mit dem Sieg der napoleonischen Truppen über Russen und Preußen unter Gebhard Leberecht von Blücher und Ludwig Adolf Peter zu Sayn-Wittgenstein.
- 1840: Der spätere Gouverneur William Hobson erklärt Neuseeland nach dem vorausgegangenen Vertrag von Waitangi als souverän unter der britischen Krone.

- 1856: Bushwhackers unter Sheriff Jones dringen im Kansas-Territorium ein, um die Druckpressen der gegen die Sklaverei eingestellten Zeitungen Herald of Freedom und Kansas Free State zu zerstören. Das Free State Hotel, das der sklavereifeindlichen New England Emigrant Aid Company gehörte, fällt dem Sack of Lawrence ebenfalls zum Opfer. Es handelt sich um einen von vielen Zwischenfällen während der Zeit des Bleeding Kansas.
- 1864: Das Ende des Kaukasuskrieges wird mit der russischen Annexion des Nordkaukasus und der Deportation des tscherkessischen Volkes nach der Schlacht von Kbaade am 21. Mai gregorianischen Kalenders erklärt. Sotschi und der 21. Mai werden Symbole des russischen Siegeszugs.
- 1864: Die blutige Schlacht bei Spotsylvania Court House, bei der Nord- und Südstaatler aus Gräben heraus und hinter Brustwehren in beinahe moderner Form gegeneinander kämpfen und anstürmen, geht ohne klaren Sieger zu Ende.

- 1871: Regierungstruppen dringen in die Pariser Innenstadt vor und brechen in der anschließenden „Blutwoche“ die Herrschaft der Pariser Kommune. In den Kämpfen und den folgenden Massenexekutionen werden etwa 30.000 Menschen getötet und etwa 40.000 inhaftiert.

- 1879: Die Seegefechte von Iquique und von Punta Gruesa enden mit einem Sieg der peruanischen Flotte unter Miguel Grau Seminario über Chile unter Arturo Prat, der in der Schlacht fällt. Damit kann Peru die Belagerung von Iquique durch Chile beenden. Doch bleibt Peru nach der Schlacht mit der Huáscar nur noch ein größeres Kriegsschiff, was letztlich zum Sieg Chiles im Salpeterkrieg führt.
- 1881: Die Krankenschwester und Lehrerin Clara Barton gründet in Washington, D. C., das Amerikanische Rote Kreuz, dessen erste Präsidentin sie wird.
- 1906: In Helsinki, der Hauptstadt des Großfürstentums Finnland, wird nach zehnjähriger Vorbereitungszeit unter Führung von Axel Lille als Interessenvertretung der Finnlandschweden die Schwedische Volkspartei gegründet.
- 1906: Der deutsche Reichstag ändert Artikel 32 der Reichsverfassung und hebt damit das Verbot von Abgeordnetendiäten auf.
- 1917: In der Nähe von Mesen in Westflandern beginnt die Schlacht bei Messines, ein britisches 17-tägiges Großbombardement auf die deutschen Stellungen mit einem anschließenden Großangriff kurz vor der Dritten Flandernschlacht im Ersten Weltkrieg.
- 1921: Während des dritten oberschlesischen Aufstands gelingt dem „Selbstschutz Oberschlesien“ die Erstürmung des von polnischen Freischärlern besetzten Annabergs.
- 1932: Mit Alfred Freyberg im Freistaat Anhalt wird erstmals ein NSDAP-Politiker zum Ministerpräsidenten eines Landes des Deutschen Reiches gewählt.
- 1935: Das „Heidelberger Spargelessen“, eine Reihe gegen Adolf Hitler gerichtete öffentlicher Bekundungen Heidelberger Corpsstudenten, beginnt.

- 1939: Die Nationalsozialisten verleihen erstmals das mit kleinen Vorteilen verbundene Mutterkreuz. Sie versprechen sich von diesem Verdienstorden eine höhere Gebärfreudigkeit für die Frauen. Die erste Empfängerin des Mutterkreuzes ist die 61-jährige Louise Weidenfeller.
- 1951: Mit dem Montan-Mitbestimmungsgesetz wird die Mitbestimmung der Arbeitnehmer in den Aufsichtsräten und Vorständen der Unternehmen des Bergbaus und der eisen- und stahlerzeugenden Industrie in der Bundesrepublik Deutschland gesetzlich festgelegt.
- 1970: Der deutsche Bundeskanzler Willy Brandt trifft sich im Rahmen seiner neuen Ostpolitik in Kassel mit dem stellvertretenden Staatsratsvorsitzenden der DDR, Willi Stoph.
- 1975: Im Gerichtsgebäude der Justizvollzugsanstalt Stuttgart beginnt der sogenannte Stammheim-Prozess gegen die Rote Armee Fraktion. Angeklagt wegen mehrfachen Mordes und Mordversuchs sind Andreas Baader, Ulrike Meinhof, Gudrun Ensslin und Jan-Carl Raspe.
- 1981: Nach seinem Wahlsieg am 10. Mai tritt François Mitterrand als Nachfolger von Valéry Giscard d’Estaing sein Amt als französischer Staatspräsident an. Er ist der erste sozialistische Präsident Frankreichs in der Geschichte der Fünften Republik.
- 1991: Da sich Rebellentruppen der Revolutionären Demokratischen Front der äthiopischen Völker nur noch wenige Kilometer vor der Hauptstadt Addis Abeba befinden, flieht der äthiopische Staatspräsident Mengistu Haile Mariam nach Simbabwe. Sein Nachfolger wird für kurze Zeit der bisherige Vizepräsident Tesfaye Gebre Kidan.
- 1991: Der indische Premierminister Rajiv Gandhi kommt in der Nähe von Madras bei einem Bombenattentat ums Leben. Die Selbstmordattentäterin wird den Liberation Tigers of Tamil Eelam zugerechnet.
- 1991: Der ehemalige Regierungschef der DDR, Willi Stoph, und der ehemalige Verteidigungsminister Heinz Keßler werden wegen der Schießbefehle an der DDR-Grenze festgenommen.
- 1997: Elf Jahre nach seinem Hauptstadtbeschluss siedelt der niederösterreichische Landtag von Wien ins neu geschaffene Regierungsviertel nach St. Pölten um.

- 1998: Nach einer blutigen Protestwelle tritt der indonesische Präsident Suharto zurück. Nachfolger wird der von ihm ausgewählte Bacharuddin Jusuf Habibie.

- 2006: Die Bevölkerung von Montenegro entscheidet sich in einer Volksabstimmung mit knapper Mehrheit für einen Austritt aus dem Bundesstaat Serbien und Montenegro und damit für die Eigenstaatlichkeit. Das Parlament bestätigt die Unabhängigkeit am 3. Juni.
Wirtschaft
.jpg)
- 1797: In Frankreich werden alle umlaufenden Assignaten, das während der Französischen Revolution verwendete Papiergeld, für ungültig erklärt.
- 1894: Queen Victoria eröffnet offiziell den Manchester Ship Canal, der zu diesem Zeitpunkt die 64 Kilometer vom Meer entfernt gelegene Stadt Manchester zur drittgrößten Hafenstadt der britischen Insel macht.
- 1952: Königin Juliana übergibt in den Niederlanden den Amsterdam-Rhein-Kanal seiner Bestimmung.
Wissenschaft und Technik
- 1388: Als eine der ältesten Universitäten im deutschen Sprachraum wird die Universitas Studii Coloniensis, die alte Universität zu Köln gegründet. Die Initiative für die vierte Universität im Heiligen Römischen Reich geht nicht wie sonst üblich vom Kaiser oder einem Fürsten aus, sondern vom Rat der Freien Reichsstadt Köln, die auch die Kosten für den Lehrbetrieb übernimmt.

- 1871: Die von den Ingenieuren Niklaus Riggenbach, Ferdinand Adolf Naeff und Olivier Zschokke gebaute Rigibahn in der Schweiz, die erste Zahnradbahn Europas auf einen Berg, wird eröffnet.
- 1925: Die Amundsen-Ellsworth-Flugexpedition startet in Ny-Ålesund auf Spitzbergen mit zwei Flugbooten vom Typ Dornier Wal. Der erste Versuch, den geographischen Nordpol mit dem Flugzeug zu erreichen, scheitert 250 km vor dem Ziel.
- 1927: Nach 33,5 Stunden Alleinflug über den Atlantik landet Charles Lindbergh mit seiner Spirit of St. Louis auf dem Flughafen Le Bourget in Frankreich.
- 1932: Amelia Earhart muss nach dem ersten Alleinflug einer Frau über den Atlantik auf Gallaghers Weide in der Nähe von Londonderry in Nordirland notlanden. Sie ist damit auch der erste Mensch, der zweimal den Atlantik überflogen hat.
- 1937: Das erste Flugzeug landet am Nordpol und setzt eine vierköpfige Forschergruppe unter dem Kommando von Iwan Papanin ab, die in Folge die erste Polarstation auf einer driftenden Eisscholle errichtet.

- 1946: Bei einem Zwischenfall bei einem Experiment mit dem Plutonium-Kern Demon Core im Los Alamos National Laboratory wird der kanadische Physiker Louis Slotin so schwer verstrahlt, dass er am 30. Mai an der Strahlenkrankheit stirbt.
- 1952: Mit der IBM 726 wird das erste kommerzielle Bandlaufwerk vorgestellt.
- 1992: Berlin und Brandenburg schließen einen Staatsvertrag zur Neukonstituierung der Preußischen Akademie der Wissenschaften als Berlin-Brandenburgische Akademie der Wissenschaften.
- 2007: Die als Museumsschiff dienende Cutty Sark wird durch einen mutmaßlich von einem Staubsauger ausgelösten Brand nahezu völlig zerstört. Der in einem Trockendock in Greenwich liegende Klipper ist eines der letzten aus dem 19. Jahrhundert erhaltenen Segelschiffe.
Kultur
_-_001.jpg)
- 1739: Die Ballettoper Les Fêtes d'Hébé ou Les Talents lyriques von Jean-Philippe Rameau hat ihre Uraufführung an der Grand Opéra Paris.
- 1804: Der außerhalb von Paris neu geschaffene Friedhof Père-Lachaise wird belegt. Ein im Alter von fünf Jahren gestorbenes Mädchen wird als erste Tote begraben.

- 1865: Die Uraufführung des lyrischen Dramas Der Cid von Peter Cornelius erfolgt am Weimarer Hoftheater.
- 1892: Die Uraufführung der Oper Pagliacci (Die Bajazzos) von Ruggero Leoncavallo erfolgt am Teatro Dal Verme in Mailand.
- 1925: Am Sächsischen Staatstheater in Dresden findet unter dem Dirigat von Fritz Busch die Uraufführung der Oper Doktor Faust von Ferruccio Busoni mit Robert Burg als Faust und Meta Seinemeyer als Herzogin statt.

- 1938: Furcht und Elend des Dritten Reiches, ein Theaterstück des deutschen Dramatikers Bertolt Brecht, das dieser im Exil in Dänemark geschrieben hat, wird in einigen Szenen in Paris uraufgeführt.
- 1951: In einem abbruchreifen Geschäftsgebäude in der 9th Street in New York City beginnt die bis zum 10. Juni dauernde Kunstausstellung 9th Street Art Exhibition. Die Ausstellung zeigt die neue amerikanische Kunst des 20. Jahrhunderts, versammelt zahlreiche namhafte Künstler und markiert den Start der New Yorker Avantgarde der Nachkriegszeit, die in der Folgezeit als New York School bekannt wird.

- 1972: Ein verwirrter Mann beschädigt in einem Akt von Vandalismus Michelangelos Pietà im Petersdom. Der Täter schlägt mit einem Hammer auf die Skulptur ein.
- 1979: Elton John gibt als erster westlicher Popstar ein Konzert in der Sowjetunion in Leningrad. Insgesamt hat er bis zum 28. Mai acht Auftritte in Leningrad und Moskau.

- 2005: Im US-amerikanischen Freizeitpark Six Flags Great Adventure im Bundesstaat New Jersey wird der Launched Coaster Kingda Ka eröffnet. Er löst den Top Thrill Dragster als Rekordhalter in den Kategorien schnellste und höchste Achterbahn der Welt ab.
Gesellschaft

- 1924: In dem Versuch, das perfekte Verbrechen zu begehen, locken die beiden Studenten an der University of Chicago, Nathan Leopold Junior und Richard Loeb, den 14-jährigen Bobby Franks in ihr Auto und ermorden ihn. Um eine Entführung vorzutäuschen, schicken sie dann eine Lösegeldforderung an die Familie des Opfers.
- 1936: In Tokio wird Abe Sada von Polizisten festgenommen. In ihrer Handtasche befinden sich die abgetrennten Genitalien ihres Geliebten, den sie drei Tage zuvor beim erotischen Spiel stranguliert hat. Der Fall erregt nationales Aufsehen.
Religion
- 1536: In Wittenberg treffen reformatorische Theologen zu einem Disput über Auslegungsfragen zum Abendmahl ein. Sie einigen sich in den Folgetagen in der Wittenberger Konkordie.
- 1863: In Battle Creek, Michigan bildet sich aus Gruppen früherer Anhänger des Predigers William Miller die Gemeinschaft der Siebenten-Tags-Adventisten. Die Mitglieder der Freikirche gehen unter Berufen auf die Bibel von der baldigen Wiederkunft Jesu Christi auf Erden aus. Im Jahr 1844 war sie Miller zufolge zu erwarten, blieb jedoch aus, was intensives Bibelstudium von Gruppen auslöste.
Katastrophen
- 1792: Ein Ausbruch des Schichtvulkans Unzen auf der Shimabara-Halbinsel in Japan löst eine Gerölllawine in den Ozean aus. Es entsteht ein Tsunami, der die Stadt Shimabara völlig zerstört und etwa 15.000 Menschen das Leben kostet.
- 1917: In Atlanta entsteht ein Großbrand, der 1938 Gebäude vernichtet und etwa 10.000 Menschen obdachlos macht. Es ist jedoch nur ein Todesopfer zu beklagen.
- 1996: Auf der Fahrt von Bukoba nach Mwanza auf dem Victoriasee in Ostafrika kentert die Linienfähre Bukoba und sinkt, wobei zwischen 500 und 1000 Menschen sterben.
- 2003: Vor der Küste Algeriens kommt es zu einem Erdbeben der Stärke 6,8, durch das 2266 Menschen ums Leben kommen. Der anschließende Tsunami erreicht die balearischen Inseln, verursacht dort allerdings nur Sachschäden.
Kleinere Unglücksfälle sind in den Unterartikeln von Katastrophe und in der Liste von Katastrophen aufgeführt.
Sport
- 1904: In der Union des sociétés françaises de sports athlétiques in Paris wird auf Initiative von Robert Guérin und Carl Anton Wilhelm Hirschmann durch sieben europäische Fußballverbände der Weltfußballverband FIFA gegründet.
- 1911: Im Rahmen eines Leichtathletik-Städtekampfs zwischen München und Berlin wird das Stadion an der Grünwalder Straße in München eröffnet.

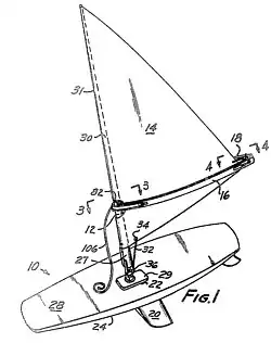
- 1967: In den USA wird aus dem Wellenreiten das Windsurfen entwickelt. Der Amerikaner Jim Drake startet in der Jamaica Bay in New York zum ersten Mal seinen aus einem Surfbrett und einem Segel bestehenden Windsurfer Old Yeller.
- 1997: Im Giuseppe-Meazza-Stadion gewinnt der FC Schalke 04 den UEFA-Cup gegen Inter Mailand. Das Hinspiel zwei Wochen zuvor im Gelsenkirchener Parkstadion gewann Schalke mit 1:0. Nach der regulären Spielzeit und der Verlängerung im Rückspiel stand es 1:0 für Inter Mailand. Das anschließende Elfmeterschießen konnten die Schalker mit 4:1 für sich entscheiden.
- 2006: Mit dem Gewinn der Eishockey-Weltmeisterschaft 2006 im Finale gegen Tschechien im lettischen Riga wird das schwedische Tre Kronor Team die erste Eishockeynationalmannschaft, die die Weltmeisterschaft und die Olympischen Spiele im gleichen Jahr gewinnt.
Einträge von Leichtathletik-Weltrekorden befinden sich unter der jeweiligen Disziplin unter Leichtathletik.
Geboren
Vor dem 18. Jahrhundert
- 1382: Edward Hastings, englischer Ritter
- 1422: Heinrich von Sachsen, Fürst aus der Dynastie der Wettiner
- 1454: Hermolaus Barbarus, italienischer Scholastiker, Dichter und Humanist

- 1471: Albrecht Dürer, deutscher Maler, Zeichner, Graphiker und Kunstschriftsteller
- 1476: Karl von Baden, Domherr in Straßburg und Trier
- 1527: Philipp II., König von Spanien und Portugal
- 1537: Jacob Spengler, Bürgermeister von St. Gallen
- 1542: Johann Wilhelm Stucki, Schweizer Theologe, Philologe und Historiker
- 1546: Madeleine de L’Aubespine, französische Schirmherrin, Dichterin und Übersetzerin
- 1653: Eleonore von Österreich, Königin von Polen und Herzogin von Lothringen
- 1664: Giulio Alberoni, italienischer Kardinal und Staatsminister von Spanien
- 1682: Basilio Asquini, italienischer römisch-katholischer Geistlicher und Biograf
- 1688: Alexander Pope, englischer Schriftsteller
18. Jahrhundert
- 1706: Carl Friedrich Kaltschmied, deutscher Mediziner
- 1708: Manuel de Guirior, spanischer Offizier, Kolonialverwalter und Vizekönig von Neugranada und Peru
- 1713: Andreas Faulhaber, deutscher Kaplan und Märtyrer der Grafschaft Glatz
- 1718: Ami Butini, Genfer Plantagenbesitzer, Sklavenhalter und ethnografischer Sammler
- 1723: Franz Xaver von Breuner, Fürstbischof von Lavant und Fürstbischof von Chiemsee
- 1731: Johann Ernst Heinsius, deutscher Maler
- 1732: Friedrich von Anhalt, Graf von Anhalt
- 1736: Francis Egerton, 3. Duke of Bridgewater, britischer Adeliger
- 1736: Izabela Lubomirska, polnische Fürstin, Bauherrin und Mäzenin sowie Buch- und Kunstsammlerin
- 1744: Viktor Amadeus, Prinz von Anhalt-Bernburg-Schaumburg-Hoym und russischer General
- 1745: Johann Conrad Sulzer, Schweizer evangelischer Geistlicher
- 1746: Mary Boyle, Countess of Cork and Orrery, britisch-irische Salonnière und Blaustrumpf

- 1759: Joseph Fouché, französischer Polizeiminister unter Napoléon Bonaparte
- 1775: Lucien Bonaparte, Drittgeborener der Brüder Bonaparte
- 1776: Pierre Arnollet, französischer Ingenieur
- 1778: Ernst-Wilhelm Arnoldi, deutscher Kaufmann
- 1780: Elizabeth Fry, britische Reformerin des Gefängniswesens
- 1785: Immanuel Bekker, deutscher Altphilologe
- 1786: Karl Friedrich von Klöden, deutscher Historiker und Geograph
- 1788: Katharina Pawlowna, Königin von Württemberg
- 1790: William Cavendish, 6. Duke of Devonshire, britischer Peer und Politiker
- 1790: Henri-Louis Empeytaz, Schweizer evangelischer Geistlicher
- 1792: Gaspard Gustave de Coriolis, französischer Mathematiker und Physiker
- 1793: Paul de Kock, französischer Schriftsteller
- 1799: Mary Anning, britische Paläontologin
- 1800: Anton Nikolaus Martens, Propst in Dithmarschen
19. Jahrhundert
1801–1850

- 1801: Ferdinand Lindheimer, deutsch-US-amerikanischer Botaniker, Journalist und Verleger

- 1801: Sophie Wilhelmine von Schleswig-Holstein-Gottorf, Herzogin von Holstein-Gottorf, Großherzogin von Baden
- 1803: Simon Oppenheim, deutscher Bankier
- 1815: Caroline Botgorschek, österreichische Opernsängerin (Alt)
- 1816: Stephen Allen Benson, Präsident von Liberia
- 1817: Hermann Lotze, deutscher Philosoph
- 1817: Niklaus Riggenbach, elsässischer Ingenieur und Erfinder der Zahnradbahn
- 1820: Nikolai Karlowitsch de Giers, russischer Diplomat und Außenminister
- 1825: Georg Pfeiffer, deutscher Verwaltungsbeamter
- 1826: Lucien Dautresme, französischer Politiker und Komponist
- 1826: Gabriel Hubert Iser, deutscher Reichsgerichtsrat
- 1828: Rudolf Koller, Schweizer Maler
- 1832: Hermann Auleb, deutscher Jurist, Autor und Politiker
- 1832: Hudson Taylor, erster christlicher Missionar der ins Innere Chinas vorgestoßen ist
- 1834: August Carl Lange, deutscher Architekt
- 1834ː Maria Isabella von Österreich-Toskana, Erzherzogin von Österreich und Prinzessin von Toskana
- 1834: Adolf Petschek, österreichisch-ungarischer Börsenmakler und Bankier
- 1843: Albert Gobat, Schweizer Rechtsanwalt und Politiker, Friedensnobelpreisträger
- 1843: Louis Renault, französischer Jurist, Mitwirkender bei den Haager Friedenskonferenzen, Friedensnobelpreisträger
- 1844: Adolf Klose, deutscher Maschinenbauingenieur
- 1844: Henri Rousseau, französischer Maler
- 1846: Luc-Olivier Merson, französischer Maler und Illustrator
1851–1900

- 1851: Léon Bourgeois, französischer Diplomat, erster Präsident des Völkerbundrates, Nobelpreisträger
- 1852: Franz Ludorff, deutscher Pädagoge und Schriftsteller
- 1852: Johann Nowotny, böhmischer Komponist und Militärkapellmeister
- 1853: Edward Gawler Prior, kanadischer Politiker
- 1855: Ephraim Adler, deutscher Mediziner
- 1855: Émile Verhaeren, belgischer Dichter

- 1856: José Batlle y Ordóñez, uruguayischer Journalist und Politiker, Staatspräsident
- 1857: Francisco Aguilar Barquero, Präsident von Costa Rica
- 1859: Otto Hupp, deutscher Grafiker
- 1860: Willem Einthoven, niederländischer Arzt, Entdecker des EKG, Nobelpreisträger
- 1861: Karl Anrather, Tiroler Maler
- 1863: Gunnar Berg, norwegischer Maler
- 1864: David Davies, australischer Maler
- 1865: Meinrad Lienert, Schweizer Mundart- und Heimatdichter
- 1868: Richard Kabisch, evangelischer Theologe, Pädagoge und Schriftsteller
- 1869: Susanne Granitsch, österreichische Malerin
- 1872: Charles Guérin, französischer Geistlicher und römisch-katholischer Präfekt von Ghardaia
- 1872: Henri Jeannin, französisch-deutscher Rennfahrer und Unternehmer
- 1873: Hans Berger, deutscher Neurologe und Psychiater, Erfinder des EEG
- 1873: Emil Ermatinger, Schweizer Germanist
- 1873: Bathildis zu Schaumburg-Lippe, Mitglied der Häuser Schaumburg-Lippe und Waldeck–Pyrmont
- 1873: Hans Wirz, deutsch-schweizerischer Journalist und sozialdemokratischer Politiker
- 1874: Julius Nuninger, deutscher Kunstturner
- 1874: Thomas Swindlehurst, britischer Tauzieher
- 1876ː Helene Bechstein, deutsche Gönnerin Adolf Hitlers
- 1876: Hermann Wopfner, österreichischer Historiker und Volkskundler
- 1879: Karl Felix Wolff, Südtiroler Schriftsteller
- 1880: Tudor Arghezi, rumänischer Dichter
- 1880: Rudolf von Gutmann, österreichisch-kanadischer Unternehmer, Bankier und Kunstsammler
- 1881: Iosif Iser, rumänischer Maler
- 1882: Carl Weidemeyer, deutscher Künstler und Architekt
- 1884: Friedrich Oertel, deutscher Althistoriker
- 1885: Otto Antonius, österreichischer Zoologe und Paläontologe
- 1885: Kurt Beitzen, deutscher Marineoffizier
- 1885: Georg Stöhr, deutscher Fechter
- 1887: Walter Aitkenhead, schottischer Fußballspieler
- 1887: Olga Oelkers, deutsche Fechterin
- 1888: May Aufderheide, US-amerikanische Ragtimekomponistin
- 1888: Evasio Lampiano, italienischer Automobilrennfahrer
- 1888: Agnes Pechuel-Lösche, deutsche Malerin und Kunstgewerblerin
- 1889: Gérard de Courcelles, französischer Automobilrennfahrer
- 1892: Peter Eng, österreichischer Karikaturist und Trickfilmzeichner

- 1895: Lázaro Cárdenas del Río, Präsident von Mexiko
- 1896: Erika Kickton, deutsche Musikwissenschaftlerin und Komponistin
- 1897: Friedrich Boetzel, deutscher Brigadegeneral
- 1897: Conrad Felixmüller, deutscher Maler
- 1897: Markus Feldmann, Schweizer Politiker, Bundesrat und Bundespräsident
- 1898: Karel Hába, tschechischer Komponist
- 1898: Walter Muschg, Schweizer Literaturhistoriker
- 1899: Constantin Bobescu, rumänischer Violinist, Komponist, Dirigent und Musikpädagoge
- 1899: Henri Cox, niederländischer Ruderer
- 1899: Eugène-Nestor de Kermadec, französischer Maler
- 1900: Josef Ausweger, österreichischer Politiker
20. Jahrhundert
1901–1925
- 1901: Hermann Andersen, deutscher Politiker, MdL, Landesminister
- 1902: Marcel Breuer, ungarisch-US-amerikanischer Architekt und Designer
- 1904: Wolfgang Auler, deutscher Organist
- 1904: Robert Montgomery, US-amerikanischer Schauspieler

- 1904: Fats Waller, US-amerikanischer Jazzmusiker
- 1905: Edward Lockspeiser, britischer Musikwissenschaftler, Musikkritiker und Komponist
- 1908: Watkins Moorman Abbitt, US-amerikanischer Politiker, Kongressabgeordneter für Virginia
- 1908: Heinz Wehner, deutscher Jazzmusiker
- 1910: Angelo Bruno, italienisch-amerikanischer Mafioso
- 1911: Johannes Beeskow, deutscher Designer, Karosseriebauer und Konstrukteur
- 1911: Alfons Müller-Wipperfürth, deutscher Unternehmer
- 1911: Maurice Nadeau, französischer Schriftsteller, Literaturkritiker, Herausgeber und Verleger
- 1912: Carmelo Cappello, italienischer Bildhauer
- 1912: Pedro Ortiz Dávila, puerto-ricanischer Sänger
- 1914: Gerhard Funke, deutscher Philosoph
- 1914: Olivier Guimond, kanadischer Schauspieler
- 1914: Erich Herrmann, deutscher Feldhandballspieler, Olympiasieger, Weltmeister
- 1914: John Hubley, US-amerikanischer Zeichentrickfilmer
- 1915: Gerhard Assmann, deutscher Gewerkschaftsfunktionär
- 1915: Wolfgang Keilig, deutscher General
- 1915: Gerry Martin, US-amerikanischer Navy-Offizier und Funkamateur
- 1916: Erich Dittmann, deutscher Maler, Grafiker und Zeichner
- 1916: Harold Robbins, US-amerikanischer Schriftsteller
- 1916: Martinus Osendarp, niederländischer Leichtathlet, Olympiamedaillengewinner

- 1917: Raymond Burr, US-amerikanischer Schauspieler
- 1918: Quddys Qoschamijarow, kasachisch-uigurischer Komponist
- 1919: Werner Rieder, österreichischer Elektrophysiker
- 1920: Kurt Adel, österreichischer Literatur- und Sprachwissenschaftler
- 1920: Little Willie Anderson, US-amerikanischer Bluesmusiker
- 1920: John William Barber, US-amerikanischer Tuba-Spieler
- 1921: Jean Dewasne, französischer Maler, Bildhauer und Autor
- 1921: Richard Rudolf Klein, deutscher Komponist
- 1921: Andrei Dmitrijewitsch Sacharow, russischer Physiker, Nobelpreisträger
- 1921: Adriano Soldini, Schweizer Pädagoge und Schriftsteller
- 1922: Odal von Alten-Nordheim, deutscher Politiker, MdB
- 1922: Uroš Krek, slowenischer Komponist und Hochschullehrer
- 1922: Pio Laghi, italienischer Geistlicher, Kardinal
- 1922: Albrecht Roser, deutscher Puppenspieler
- 1923: Armand Borel, US-amerikanischer Mathematiker
- 1923: Clarence Gaines, US-amerikanischer Basketballtrainer
- 1924: Peggy Cass, US-amerikanische Schauspielerin
- 1924: Alois Derfler, österreichischer Landwirt und Politiker, Bauernbundspräsident, Nationalrat
- 1924: Robert Parris, US-amerikanischer Komponist und Musikpädagoge
- 1924: Doris Schade, deutsche Schauspielerin
- 1924: Ludwig von Friedeburg, deutscher Soziologe
- 1925: Stefan Gierowski, polnischer Maler
- 1925: Elsbeth Meyer-Baltensweiler, Schweizer Theologin und Lieddichterin
1926–1950

- 1926ː Ira Lember, estnische Schriftstellerin und Kinderbuchautorin
- 1927: Lida Barrett, US-amerikanische Mathematikerin
- 1927: Werner Mangold, deutscher Soziologe
- 1928: Miha Baloh, slowenischer Schauspieler
- 1928: Guido Pedroli, Schweizer Pädagoge und Politiker
- 1929: Charles Wadsworth, US-amerikanischer Pianist, Kammermusiker und Musikpädagoge
- 1930: Simon Crosse, britischer Ruderer
- 1930: Malcolm Fraser, australischer Premierminister
- 1931: Lorenz Specht, deutscher Motorradsportler
- 1932: Eugene Hartzell, US-amerikanischer Komponist
- 1932: Josef Wiese, deutscher Bäcker und Konditor, Unternehmer und Erfinder
- 1932: Gabriele Wohmann, deutsche Schriftstellerin
- 1933: Maurice André, französischer Trompeter und Hochschullehrer
- 1933: Fernand Tavano, französischer Automobilrennfahrer
- 1935: Hisako Matsubara, japanische Schriftstellerin
- 1936: Günter Blobel, deutsch-US-amerikanischer Biologe, Nobelpreisträger
- 1936: Jacques Grelley, französischer Unternehmer und Automobilrennfahrer
- 1937: Ricardo Alarcón, kubanischer Politiker und Diplomat
- 1937: Hans Peter Schmitz, deutscher Politiker, MdB
- 1938: René Kiener, Schweizer Eishockeytorhüter
- 1938: Helga Paris, deutsche Fotografin
- 1938: Urs Widmer, Schweizer Schriftsteller
- 1939: David Groh, US-amerikanischer Schauspieler

- 1939: Heinz Holliger, Schweizer Oboist, Komponist und Dirigent
- 1940: António Victorino de Almeida, portugiesischer Komponist, Dirigent, Pianist und Schriftsteller
- 1940: John Martin-Dye, britischer Schwimmer und Wasserballspieler
- 1940: Tony Sheridan, britischer Musiker
- 1940: Peter Uhlig, deutscher Endurosportler
- 1941: Erhard Ahmann, deutscher Fußballspieler und -trainer
- 1941: Martin Carthy, britischer Folksänger, -gitarrist und Mandolinespieler
- 1942: Ferdinand Ahuis, deutscher Theologe
- 1942: Danny Ongais, US-amerikanischer Automobilrennfahrer
- 1943: Carlo Andreotti, italienischer Politiker, Rechtsanwalt und Journalist
- 1943: Jürgen Pooch, deutscher Schauspieler
- 1944: Haleh Afshar, persisch-britische Professorin
- 1944: Harald Schliemann, deutscher Jurist und Politiker
- 1944: Mary Robinson, irische Politikerin, Staatspräsidentin, UN-Hochkommissarin
- 1945: Monika Breustedt, deutsche Malerin
- 1945: Richard Hatch, US-amerikanischer Schauspieler
- 1945: Ernst Messerschmid, deutscher Physiker und Astronaut
- 1946: Erwin Kostedde, deutscher Fußballspieler

- 1947: Joachim Kirst, deutscher Leichtathlet
- 1948: Ingrid Huhn-Wagener, deutsche Steuerfrau im Rudern
- 1948: Jonathan Hyde, australisch-britischer Schauspieler
- 1948: Leo Sayer, britischer Sänger und Songschreiber
- 1949: Stefano Anzi, italienischer Unternehmer und Skirennläufer
- 1949: Arno Hintjens, belgischer Sänger und Musiker
1951–1975
- 1951: Al Franken, US-amerikanischer Autor, Komiker und Radiomoderator
- 1951: Andreas Burckhardt, Schweizer Politiker
- 1951: Kurt Röthlisberger, Schweizer Fußballschiedsrichter
- 1951: Margit Szobi, ungarische Bogenschützin
.jpg)
- 1952: Mr. T, US-amerikanischer Schauspieler
- 1953: M. Keith Booker, US-amerikanischer Anglist, Literaturwissenschaftler und Sachbuchautor
- 1953: Albrecht Broemme, Präsident der Bundesanstalt Technisches Hilfswerk
- 1953: Carl Carlton, US-amerikanischer R&B-, Blues-, Soul- und Funk-Sänger und Songwriter
- 1953: Ralph Lewin, Schweizer Politiker und Ökonom
- 1955: Udo Kießling, deutscher Eishockeyspieler
- 1955: Claudio Lardi, Schweizer Politiker
- 1955: Milly Quezada, dominikanische Merenguesängerin
- 1956: Wolfgang Puschnig, österreichischer Jazzmusiker
- 1956: Niklaus Starck, Schweizer Autor
- 1958: Christian Audigier, französischer Modedesigner und Unternehmer
- 1959: Jan Ruzicka, deutscher Regisseur
- 1959: Andreas Trautmann, deutscher Fußballspieler

- 1959: Nick Cassavetes, US-amerikanischer Schauspieler, Regisseur und Drehbuchautor
- 1959: Sylvia Frühwirth-Schnatter, österreichische Statistikerin
- 1960: Jeffrey Dahmer, US-amerikanischer Serienmörder („Kannibale von Milwaukee“)
- 1960: Wladimir Walerjewitsch Salnikow, russischer Schwimmer, Olympiasieger
- 1962: Uwe Rahn, deutscher Fußballspieler
- 1963: Gilles Apap, französischer Violinist
- 1963: Anne Koark, britische Schriftstellerin und Unternehmerin
- 1963: Kevin Shields, US-amerikanischer Sänger, Gitarrist und Musikproduzent
- 1963: David Stern, US-amerikanischer Dirigent
- 1964: Tommy Albelin, schwedischer Eishockeyspieler und -trainer
- 1964: Rui Maria de Araújo, osttimoresischer Politiker
- 1964: Elanga Buala, papua-neuguineische Leichtathletin
- 1964: Afonso Carmona, osttimoresischer Jurist
- 1964: Joy-Maria Frederiksen, dänische Schauspielerin
- 1964: Walter Homolka, deutscher Rabbiner und Hochschullehrer
- 1964: Rainer Kräuter, deutscher Politiker
- 1964: Christoph Marcinkowski, deutscher Islamwissenschaftler und Iranist
- 1964: Maria Semple, US-amerikanische Schriftstellerin und Drehbuchautorin
- 1964: Miriam Toews, kanadische Schriftstellerin
- 1965: Eva-Maria Admiral, österreichische Schauspielerin
- 1966: Tazzjana Ljadouskaja, weißrussische Hürdenläuferin, Olympiasiegerin
- 1966: Andrzej Lesiak, polnischer Fußballspieler und -trainer
- 1966: Thomas Morris, österreichischer Schauspieler und Autor
- 1967: Andrei Michailowitsch Antropow, sowjetischer und russischer Badmintonspieler
- 1967: Dirk Audehm, deutscher Schauspieler, Theaterregisseur und Sänger
- 1967: Lisa Edelstein, US-amerikanische Schauspielerin
- 1967: Chris Benoit, kanadischer Wrestler
- 1968: Johanna Orsini-Rosenberg, österreichische Schauspielerin
- 1969: Federico Villagra, argentinischer Rallyefahrer
- 1970: Brigita Bukovec, slowenische Leichtathletin
- 1970: Prakash Jiwa, indischer Dartspieler
- 1971: Tatjana Gsell, deutsche Reality-TV-Teilnehmerin
.jpg)
- 1972: Christoph Hartmann, deutscher Politiker
- 1972: Brett Tucker, australischer Schauspieler und Sänger
- 1972: The Notorious B.I.G., US-amerikanischer Rap-Musiker
- 1973: Niels Ruf, deutscher Fernsehmoderator, Autor und Schauspieler
- 1974: Bettina Hoppe, deutsche Schauspielerin
- 1974: Claudia Müller, deutsche Fußballspielerin
- 1974: Julia Thurnau, deutsche Schauspielerin
- 1975: Carolin Nordmeyer, deutsche Dirigentin
- 1975: Naveen Rao, US-amerikanischer Unternehmer und Automobilrennfahrer
- 1975: Patrick Rapold, Schweizer Schauspieler und Pianist
1976–2000
- 1976: Julia Abe, deutsche Tennisspielerin
- 1976: Carlo Ljubek, deutscher Schauspieler
- 1977: Kerstin Landsmann, deutsche Schauspielerin

- 1977: Bodo Wartke, deutscher Kabarettist und Pianist
- 1978: Briana Banks, US-amerikanische Pornodarstellerin
- 1978: Katharina Wagner, deutsche Opernregisseurin und Festspielleiterin
- 1979: Mauricio Ardila, kolumbianischer Radsportler
- 1979: Marion Reiff, österreichische Wasserspringerin
- 1980: Kweku Adoboli, ghanaischer Investmentbanker und Betrüger
- 1980: Lasse Kopitz, deutscher Eishockeyspieler
- 1980: Chris Raab, US-amerikanischer Schauspieler
- 1981: Craig Anderson, US-amerikanischer Eishockeytorwart
- 1981: David Appel, tschechischer Eishockeyspieler

- 1981: Belladonna, US-amerikanische Pornodarstellerin
- 1981: Edson Buddle, US-amerikanischer Fußballspieler
- 1981: Max Mutzke, deutscher Sänger und Schlagzeuger
- 1981: Anna Rogowska, polnische Leichtathletin
- 1981: Kaja Schmidt-Tychsen, deutsche Schauspielerin
- 1983: Giuseppe Aquaro, italienischer Fußballspieler
- 1983: Kim-Sarah Brandts, deutsche Schauspielerin
- 1984: Julius Jellinek, deutscher Synchronsprecher und Schauspieler
- 1984: Ivo Minář, tschechischer Tennisspieler
- 1984: Benjamin Schulz, deutscher Sportkegler
- 1985: Mutya Buena, britische Sängerin

- 1985: Mark Cavendish, britischer Radrennfahrer
- 1985: Sean McIntosh, kanadischer Automobilrennfahrer
- 1986: Tobias Kamke, deutscher Tennisspieler
- 1986: Mario Mandžukić, kroatischer Fußballspieler
- 1987: Maike Jüttendonk, deutsche Schauspielerin
- 1987: Pina Kühr, deutsche Schauspielerin
- 1988: Muhammed Ali Atam, türkischer Fußballspieler
- 1989: Ivan Santini, kroatischer Fußballspieler
- 1990: Tiril Eckhoff, norwegische Biathletin, Olympiasiegerin
- 1990: Rene Krhin, slowenischer Fußballspieler
- 1992: Hutch Dano, US-amerikanischer Schauspieler
- 1992: Dylan van Baarle, niederländischer Radrennfahrer
- 1993: Ghali Amdouni, italienischer Rapper
- 1994: Tom Daley, britischer Wasserspringer
- 1997: Lucas Ribamar, brasilianischer Fußballspieler
- 1998: Maurice Walter, deutscher Schauspieler
- 1999: Andreas Leknessund, norwegischer Radrennfahrer
21. Jahrhundert
- 2001: Ingeborg Grünwald, österreichische Leichtathletin
- 2002: Nicola Carraro, italienischer Motorradrennfahrer
- 2002: Elena Huelva, spanische Aktivistin für den Kampf gegen Krebs
- 2003: Kaja Zorč, slowenische Biathletin
Gestorben
Vor dem 17. Jahrhundert
- 252: Sun Quan, chinesischer Kaiser
- 587: Yōmei, Kaiser von Japan
- 822: al-Hakam I., Emir von Córdoba
- 987: Ludwig der Faule, König von Frankreich
- 991: Pilgrim, Bischof von Passau
- 995: Tamba no Yasuyori, japanischer Arzt
- 1034: Ezzo, Pfalzgraf von Lothringen
- 1075: Ryksa von Polen, Königin von Ungarn
- 1108: Gerard von Rouen, Lordkanzler und Erzbischof von York
- 1237: Olaf II., König von Man und König der Inseln
- 1254: Konrad IV., römisch-deutscher König
- 1257: Roger Weseham, Bischof von Coventry und Lichfield
- 1259: Fulk Basset, Bischof von London
- 1275: Cécile des Baux, Adlige aus dem Königreich Arelat, Regentin der Grafschaft Savoyen
- 1366: Hemming, Bischof von Turku
- 1381: Friedrich der Strenge, Sohn von Friedrich dem Ernsthaften
- 1388: Kuno II. von Falkenstein, Erzbischof und Kurfürst von Trier
- 1393: Robert FitzPayn, englischer Adeliger
- 1416: Anna von Cilli, Königin von Polen und Großfürstin von Litauen
- 1425: Parisina Malatesta, Ehefrau des Markgrafen Niccolò III. d’Este, Herr von Ferrara, Modena und Reggio nell’Emilia
- 1458: Petr Aksamit z Lidéřovic a Kosova, tschechischer Landedelmann und Heeresführer
.jpg)
- 1471: Heinrich VI., König von England
- 1481: Christian I., König von Dänemark
- 1489: Heinrich V. von Rosenberg, böhmischer Adeliger
- 1508: Giles Daubeney, 1. Baron Daubeney, englischer Adeliger, Militär und Staatsmann
- 1512: Pandolfo Petrucci, Herrscher Sienas
- 1517: Bernhart Lachaman der Ältere, Glockengießer aus Heilbronn
- 1524: Thomas Howard, 2. Duke of Norfolk, englischer Feldherr und Höfling
- 1527: Michael Sattler, Persönlichkeit der ersten Täufergeneration

- 1542: Hernando de Soto, spanischer Konquistador
- 1543: Georg Elner, deutscher Logiker und Theologe
- 1554: Juan de Saavedra, spanischer Konquistador
- 1555: Georg III., Landgraf von Leuchtenberg
- 1559: Antonio Herrezuelo, spanischer evangelischer Märtyrer
- 1580: John Thynne, englischer Adliger und Politiker
- 1588: Melchior Siegel, deutscher Unternehmer
- 1595: Johann IX. von Haugwitz, Bischof von Meißen
- 1600: Jacob Horst, deutscher Mediziner
17. und 18. Jahrhundert
- 1619: Girolamo Fabrizio, italienischer Anatom und Begründer der modernen Embryologie
- 1639: Tommaso Campanella, italienischer Philosoph, Dominikaner, Dichter und Politiker
- 1647: Pieter Corneliszoon Hooft, niederländischer Dichter und Historiker
- 1650: James Graham, 1. Marquess of Montrose, schottischer Adliger
- 1659: Philipp von Horn, pommerscher Kanzler und brandenburgischer Staatsmann
- 1666: Filiberto Lucchese, italienischer Baumeister und Geodät
- 1668: Christoph Delphicus von Dohna, schwedischer General und Diplomat
- 1668: Josephus Adjutus, Minorit, dann lutherischer Konvertit und Sprachlehrer
- 1670: Johan Picardt, deutsch-niederländischer Pastor, Mediziner und Schriftsteller
- 1670: Giovanni Andrea Sirani, italienischer Maler
- 1670: Nicolaus Zucchius, italienischer Astronom und Physiker
- 1686: Otto von Guericke, deutscher Erfinder und Politiker
- 1701: Daniel Männlich, Kurfürstlich-Brandenburgischer Hof-Goldschmied und Ältester der Zunft
- 1703: Raimund Faltz, schwedischer Hofmedailleur, Wachsbossierer, Elfenbeinschnitzer und Miniaturmaler am preußischen Hof
- 1704: Heinrich Elmenhorst, deutscher Theologe, Kirchenlieddichter und Librettist
- 1704: Hermann Werner von Wolff-Metternich zur Gracht, Fürstbischof von Paderborn
- 1724: Antonio Salvi, italienischer Librettist
- 1724: Robert Harley, 1. Earl of Oxford and Earl Mortimer, britischer Politiker
- 1725: Martin Heinrich Böhme, preußischer Hofbaumeister in Berlin
- 1725: Jan van Brouchoven, Staatsmann der Spanischen Niederlande und des Königreichs Spanien
- 1731: Johann Hübner, deutscher Lehrer, Autor von Schulbüchern und Schriftsteller
- 1732: Alvise Mocenigo III., Doge von Venedig

- 1735: Johann Salomon Brunnquell, deutscher Rechtswissenschaftler
- 1742: Lars Roberg, schwedischer Mediziner
- 1746: Friedrich Gotthelf Gotter, deutscher evangelischer Theologe
- 1747: Giovanni Baratta, italienischer Bildhauer
- 1760: Anna Nitschmann, mährische Liederdichterin, Mitglied der Herrnhuter Brüdergemeine
- 1762: Ernst Dietrich Bartels, deutscher Bildschnitzer
- 1762: Aleksander Józef Sułkowski, kursächsisch-polnischer Staatsmann
- 1767: Anselm Erb, Abt der Reichsabtei Ottobeuren
- 1767: Franz Anton Ermeltraut, deutscher Maler und Hofmalerei-Inspektor am fürstbischöflichen Hofe in Würzburg
- 1773: Heinrich Brockes II., deutscher Jurist und Bürgermeister von Lübeck
- 1779: Johann Evangelist Feyrstein, österreichischer Orgelbauer
- 1783: Claude d’Apchon, französischer Bischof
- 1786: Carl Wilhelm Scheele, schwedischer Chemiker
- 1787: Johann Jacob Stahel, deutscher Buchhändler und Buchdrucker
- 1799: Daniel Itzig, königlich preußischer Hoffaktor und Bankier
19. Jahrhundert
- 1803: Johann Friedrich Wilhelm Thym, deutscher reformierter Theologe und Pädagoge
- 1806: Maria Antonia von Neapel-Sizilien, Fürstin von Asturien und Infantin von Spanien
- 1809: Friedrich Gisbert Wilhelm von Romberg, deutscher Offizier, preußischer Generalleutnant

- 1812: Joseph Woelfl, österreichischer Pianist und Komponist
- 1814: Ignacio de Asso, spanischer Jurist, Diplomat und Naturforscher
- 1820: François Callinet, französischer Orgelbauer
- 1820: Jakob Moralt, deutscher Musiker
- 1823: Johann Daniel Tewaag, deutscher evangelischer Geistlicher, Rektor und Autor
- 1825ː Sophie von Coudenhoven, deutsche Adlige
- 1825: Stepan Iwanowitsch Dawydow, russischer Komponist
- 1826: Georg von Reichenbach, deutscher Erfinder und Ingenieur
- 1829: Asaf Jah III., indischer Fürst
- 1829: Christoph Gottlieb Bogislav von Barnekow, preußischer Oberforstmeister und Gutsbesitzer
- 1829: Peter I., Regent des Fürstbistums Lübeck und des Herzogtums Oldenburg sowie erster Großherzog von Oldenburg
- 1839: Johann Christoph Friedrich GutsMuths, deutscher Pädagoge und Mitbegründer des Turnens
- 1843: Gustav Asverus, deutscher Jurist
- 1848: Feliks Janiewicz, polnischer Komponist und Violinist
- 1849: Heinrich Hentzi von Arthurm, österreichischer Generalmajor
- 1850: Christoph Ammon, deutscher protestantischer Theologe
- 1854: Bernhard von Lindenau, deutscher Astronom
- 1860: Johannes Frederik Fröhlich, dänischer Komponist

- 1861: Eugen von Mazenod, katholischer Heiliger und Ordensgründer
- 1863: Hans Heinrich von Könneritz, deutscher Diplomat, Politiker und Rittergutsbesitzer
- 1865: Christian Jürgensen Thomsen, dänischer Altertumsforscher
- 1868: Samuel Hebich, deutscher Missionar
- 1879: Arturo Prat, chilenischer Seeheld, Korvettenkapitän und Rechtsanwalt
- 1881: Thomas Alexander Scott, US-amerikanischer Politiker
- 1885: Gawriil Ioakimowitsch Lomakin, russischer Komponist
- 1887: August Mylius (Missionar), deutscher Missionar
- 1890: Eduard von Fransecky, preußischer General der Infanterie
- 1891: Alphonso Taft, US-amerikanischer Politiker
- 1894: August Kundt, deutscher Physiker
- 1895: Franz von Suppè, österreichischer Komponist und Autor
- 1897: Karol von Mikuli, galizisch-polnischer Pianist, Komponist und Musikpädagoge
- 1900: Anna Thekla von Weling, deutsche Schriftstellerin
20. Jahrhundert
1901–1950
- 1901: Joseph Olivier, französischer Rugbyspieler
- 1905: Émile Jonas, französischer Komponist und Kantor

- 1911: Williamina Fleming, US-amerikanische Astronomin
- 1919: Jewgraf Stepanowitsch Fjodorow, russischer Kristallograph und Mineraloge
- 1920: Venustiano Carranza, Präsident von Mexiko
- 1920: Hans Paasche, deutscher Pazifist
- 1922: Michael Mayr, österreichischer Historiker und Politiker
- 1926: Georgi Catoire, russischer Komponist
- 1926: Friedrich Kluge, deutscher Sprachwissenschaftler
- 1929: Archibald Primrose, 5. Earl of Rosebery, britischer Staatsmann
- 1932: Eduard Endler, deutscher Architekt
- 1933: Guy Bouriat, französischer Automobilrennfahrer
- 1935: Hugo de Vries, niederländischer Biologe

- 1935: Jane Addams, Feministin und Journalistin, Nobelpreisträger
- 1939: Hans Widmer, Schweizer Mediziner und Politiker
- 1942: George Antonius, libanesischer Schriftsteller
- 1942: Arthur Emmerlich, deutscher Widerstandskämpfer
- 1942: Alfred Grünberg, deutscher Arbeiter, Widerstandskämpfer gegen den Nationalsozialismus
- 1943: Fritz Ausländer, deutscher Politiker
- 1943ː Lotte-Lore Loebenstein, Holocaust-Opfer
- 1944: René Daumal, französischer Schriftsteller
- 1944: Emanuel Larisch, deutscher Politiker und Widerstandskämpfer
- 1944: Surab Awalischwili, georgischer Historiker und Politiker
- 1945: Hans Adlhoch, deutscher Politiker
- 1948: Artur Dinter, deutscher Schriftsteller und Politiker
- 1949: Klaus Mann, deutscher Schriftsteller
- 1949: Antonio Mesa, dominikanischer Sänger
- 1950: Harry L. Davis, US-amerikanischer Politiker
- 1950: Edgar Herfurth, deutscher Zeitungsverleger
1951–2000
- 1952: John Garfield, US-amerikanischer Schauspieler
- 1953: Ernst Zermelo, deutscher Mathematiker
- 1953: Alfred Benninghoff, deutscher Anatom
- 1956: Kurt Heinig, deutscher Politiker und Schriftsteller, MdR

- 1957: Johannes Pinsk, deutscher Theologe
- 1958: Erich Langer, deutscher Politiker, MdB

- 1959: Ilse Abel, deutsche Schauspielerin
- 1959: Hans Koopmann, deutscher Mediziner und Hochschullehrer
- 1960: Adolf Aber, deutscher Musikwissenschaftler und Kritiker
- 1964: Pál Domonkos, ungarischer Ruderer
- 1964: James Franck, deutsch-US-amerikanischer Physiker
- 1964: Marguerite Wolff, deutsch-britische Juristin und Abteilungsleiterin am Kaiser-Wilhelm-Institut
- 1965: Geoffrey de Havilland, britischer Flugpionier und Konstrukteur
- 1965: Pierre Goutte, französischer Automobilrennfahrer
- 1967: Robert Grosche, deutscher Theologe, Domkapitular
- 1967ː Clara Stockmeyer, Schweizer Germanistin und Frauenrechtlerin
- 1970: Gerhard Klein, deutscher Filmregisseur
- 1970: František Škvor, tschechischer Komponist, Dirigent und Pianist
- 1971: Rudolf Henggeler, Schweizer Benediktiner und Historiker
- 1972: Camilio Mayer, deutscher Hochseilartist
- 1973: František Bartoš, tschechischer Komponist

- 1973: Carlo Emilio Gadda, italienischer Schriftsteller
- 1973: Iwan Stepanowitsch Konew, sowjetischer Marschall
- 1973: Vaughn Monroe, US-amerikanischer Sänger
- 1976: Jakob Andreff, Schweizer Zirkusclown
- 1978: Kurt Halbritter, deutscher satirischer Zeichner und Karikaturist
- 1979: Blue Mitchell, US-amerikanischer Jazz-Trompeter
- 1980: Ida Kamińska, polnisch-jüdische Schauspielerin
- 1980: Vivian Langrish, britischer Pianist und Musikpädagoge
- 1981: Charles Woodruff Yost, US-amerikanischer Diplomat
- 1983: Franz Adler, US-amerikanischer Soziologe
- 1983: Finn Mortensen, norwegischer Komponist, Musikkritiker und Hochschullehrer
- 1983: Marie Schlei, deutsche Politikerin, MdB
- 1985: Karl Weber, deutscher Jurist und Politiker, MdB und Bundesminister

- 1987: Emmy Damerius-Koenen, deutsche Journalistin und Mitgründerin des Demokratischen Frauenbunds Deutschlands (DFD) der DDR
- 1987: Ernst Nagelschmitz, deutscher Fußballspieler
- 1988: Hansi Dujmic, österreichischer Musiker und Schauspieler
- 1988: Sammy Davis sr., US-amerikanischer Entertainer
- 1989: Rolf Apreck, deutscher Kammer- und Opernsänger
- 1989: August Holweg, deutscher Kommunalpolitiker, Oberbürgermeister von Hannover
- 1989: Tito Colliander, finnland-schwedischer Schriftsteller
- 1990: Morris Levy, US-amerikanischer Schallplattenempresario
.jpg)
- 1991: Rajiv Gandhi, indischer Politiker
- 1991: Julián Orbón, kubanischer Komponist
- 1994: Ralph Miliband, belgisch-britischer Staatswissenschaftler
- 1995: Les Aspin, US-amerikanischer Verteidigungsminister
- 1995ː Varvara Milenović, Nonne der Serbisch-Orthodoxe Kirche und Äbtissin des Klosters Ljubostinja
- 1995: Nora Minor, österreichische Schauspielerin
- 1995: Annie M. G. Schmidt, niederländische Schriftstellerin
- 1996: Abu Ubaida al-Banschiri, ägyptischer Terrorist
- 1996: Fritz Ligges, deutscher Military- und Springreiter und Spring-Bundestrainer der Jugend
- 1996: Andreas Linfert, deutscher Archäologe
- 1997: Jan Paul Nagel, sorbischer Komponist und Domowina-Vorsitzender
- 2000: Barbara Cartland, britische Schriftstellerin
- 2000: Erich Mielke, deutscher Politiker, Minister für Staatssicherheit der DDR
- 2000: John Gielgud, britischer Schauspieler
21. Jahrhundert
- 2002: Niki de Saint Phalle, französisch-schweizerische Malerin und Bildhauerin
- 2003: Alejandro de Tomaso, argentinischer Rennfahrer und Präsident des Sportwagenherstellers De Tomaso

- 2006: Katherine Dunham, US-amerikanische Tänzerin, Choreografin und Bürgerrechtlerin
- 2006: Billy Walker, US-amerikanischer Country-Musiker
- 2007: Clark Adams, US-amerikanischer Freidenker und Atheist
- 2008ː Lydia Benz-Burger, Schweizer Politikerin, Redaktorin und Feministin
- 2008: Irmgard Schaaf, Tanzpädagogin
- 2008: Ernst Meyer, dänischer Schauspieler
- 2008: Gilberte Thirion, belgische Automobilrennfahrerin
- 2009: Vivian Candy, irischer Unternehmer und Automobilrennfahrer
- 2009: Robert Müller, deutscher Eishockeyspieler
- 2009: Jacques Poch, französischer Unternehmer und Automobilrennfahrer
- 2010: Anna-Lena Löfgren, schwedische Schlagersängerin
- 2010: Stan Jones, US-amerikanischer American-Football-Spieler und -Trainer
- 2012: Gonzalo Arroyo, chilenischer Priester und Befreiungstheologe
- 2012: Fredy Lienhard, Schweizer Bühnenautor und Kabarettist
- 2013: Christian von Rosenborg, dänischer Adeliger
- 2013: Dominique Venner, französischer Historiker und Schriftsteller
- 2014ː Peggy Brixhe, portugiesische Badmintonspielerin
- 2014: Digne Meller Marcovicz, deutsche Fotografin und Fotojournalistin
- 2014: Henry Mejía, honduranischer Fußballspieler
- 2015: Juan Molinar Horcasitas, mexikanischer Politiker
- 2015: Twinkle, britische Sängerin
- 2016: Andrea Maria Erba, italienischer Bischof
- 2016: Jane Fawcett, britische Codebrecherin, Opernsängerin und Denkmalpflegerin
- 2016: Akhtar Mansur, afghanischer Talibanführer

- 2017: Demetri Betts, US-amerikanischer Sänger, Autor, Model und Pastor
- 2017: Kaoru Yosano, japanischer Politiker
- 2018: Max Cohen-Olivar, marokkanischer Automobilrennfahrer
- 2018: Adam Keel, Schweizer Maler
- 2019: Magnus Backes, deutscher Kunsthistoriker und Denkmalpfleger
- 2019: Arnold Hottinger, Schweizer Journalist und Publizist
- 2019: Binyavanga Wainaina, kenianischer Schriftsteller und Journalist
- 2020: Markus Klaer, deutscher Politiker
- 2020: Gerd Strack, deutscher Fußballspieler
- 2020: Oliver E. Williamson, US-amerikanischer Wirtschaftswissenschaftler
- 2021: Anna Maria Cecchi, italienische Schwimmerin
- 2021: Juraj Hatrík, slowakischer Komponist
- 2021: Roman Kent, polnisch-US-amerikanischer Holocaust-Überlebender
- 2021: Sakti Mazumdar, indischer Boxer
- 2022: Jane Haist, kanadische Leichtathletin
- 2023: Margaret S. Archer, britische Soziologin
- 2023: Ray Stevenson, britischer Schauspieler
- 2025: Leszek Górski, polnischer Schwimmer
Feier- und Gedenktage
- Kirchliche Gedenktage
- Hl. Konstantin der Große, römischer Kaiser (evangelisch, orthodox, armenisch)
- Hl. Helena, römische Kaisermutter (anglikanisch, orthodox, armenisch, evangelisch: ELCA, LCMS)
- Hl. Hermann Joseph von Steinfeld, deutscher Chorherr und Priester, Küster und Schutzpatron (katholisch)
- Sonstige Gedenktage
- St.-Helena-Tag, Nationalfeiertag in St. Helena, Ascension und Tristan da Cunha
Weitere Einträge enthält die Liste von Gedenk- und Aktionstagen.
Weblinks
Commons: 21. Mai – Sammlung von Bildern, Videos und Audiodateien